701 33076 Swirl 7lt Semi Flush
User Guide 
SWIRL 7LT SEMI FLUSH USER GUIDE
Product code 701 33076
Getting started
Thank you for purchasing this Swirl semi-flush. Please read the instructions carefully before use to ensure safe and satisfactory operation of this product.
Warnings
For your safety, this product must be installed in accordance with local Building Regulations.
If in any doubt, or where required by the law, consult a competent person who is registered with an electrical self-certification scheme.
Further information is available online or by phone from your Local Authority.
To prevent electric shock, switch off the mains supply before installing or maintaining this product.
Ensure other persons cannot restore the electricity supply without your knowledge. Always use the correct bulb type with the correct wattage as indicated in the specification table. This product is Class II =
and should be fitted to a lighting Supply protected by a 5 amp fuse or equivalent circuit breaker.
When changing the bulb, always switch it off at the mains and allow the old bulb to cool down before handling. Dispose of used bulbs carefully.
Caution! The bulb and surrounding parts can become hot during use. For indoor use only.
Parts List
| Ref | Description | Qty |
| A | Mounting bracket | 1 |
| B | Screw fixings | 2 |
| C | Light fitting | 1 |
| D | Hex key | 1 |
| E | Shade glasses | 7 |

Product assembly
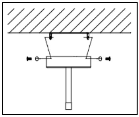
Step 1 Remove mounting bracket (A) from the fitting by removing the retaining screws and any washers, retain for later. Using the mounting bracket as a template, mark and then drill the fixing holes in the mounting surface. (ensure the screws (B) are firmly fixed into a solid or other suitable mounting and not just the plasterboard.) Take care not to damage the wiring. Attach the mounting bracket to the mounting surface using suitable fixings. Do not attach the fitting to the mounting bracket at this stage. Make sure no wires are trapped in the process.
Step 2 Remove any plastic cable protectors from the connection point added for shipping. Loosen the grub screw located on the side of the receiving collar of the fitting (C) and rotate the upper part of the light fitting into the lower, lamp holder section taking care not to twist the electrical cable. Once the stem is fully inserted, tighten the grub-screw to lock the assembly in place using the hex key provided (D)
Step 3 Ensuring the power has been isolated, feed the household supply cable through the black rubber sleeve of the terminal block and connect the electrical supply wires to the connector blocks’ corresponding terminals. Support the fitting weight and make the electrical connection as follows: ·Connect the supply live (normally brown or red) to fitting life (marked “L”) on the terminal block housing. ·Connect the supply neutral (normally blue or black) to fitting neutral (marked “N”) on the terminal block housing. NO EARTH must be connected to any part of this fitting. Please note that residential wiring can vary, if you are unsure about the correct polarity please consult a qualified electrician. Ensure electrical connections are tight and no loose strands of wire protrude from the terminal block then close the connector block cover by snapping back together. The excess cable must be carefully located inside the ceiling cup or within the ceiling cavity itself.
Step 4 Carefully offer fitting over the mounting bracket then secure in place with the screws and any washers removed earlier. Take care not to damage the wiring.
Step 5 Fit the shade glass (E) by offering the shade over the lamp holder section and rotating it into place. If cross-threading occurs, undo and start again. Take care not to overtighten as this may cause damage to the fitting. Ensure the glass is fully secured before leaving it unattended.
Fit the bulb: type and wattage as indicated on the fitting. The wattage indicated must not be exceeded.
Once installation is complete, the house’s electricity may be restored at the fuse box.
Product information
- Indoor use only
- Dimmable
- Replacement bulbs should be the same type and rating, available from John Lewis
- Partners or other established brands Clean the fitting with a soft dry cloth
Aftercare and troubleshooting
If you experience any unresolvable technical issues with the product, contact your nearest John Lewis & Partners shop or John Lewis & Partner Technical Support on 03301 230106. Why is the light not working when switched on? Check your power supply is switched on Turn off the light and check that the bulb is inserted correctly Check the bulb is still in working order.
Specification
Max. power: 4W LED (250-400 lumen)
Voltage: 220240V, 50Hz
IP rating: 20
Weight: 1.3kg
5-year guarantee
At John Lewis & Partners we test every light to high-quality standards so we are able to offer you a 5-year guarantee.
Recycling
This symbol
indicates that this product should not be treated as normal household waste and it should be recycled. John Lewis & Partners do not operate instore take back, but as members of the Distributor Take Back scheme have funded the development and upgrade of recycling facilities across the UK. Please take it to your nearest collection facility or for further details contact your local council or visit www.recycle-more.co.uk.
John Lewis Plc 171
Victoria Street London SW1E 5NN
johnlewis.com
Made in China
IL4408 Issue 1 05/21
Please retain these instructions for future reference



















