Panasonic EW-DM81 Sonic Vibration Toothbrush Instruction Manual
Safety precautions
To reduce the risk of injury, loss of life, electric shock, fire, and damage to property, always observe the following safety precautions.
Explanation of symbols
The following symbols are used to classify and describe the level of hazard, injury, and property damage caused when the denotation is disregarded and improper use is performed.
DANGER Denotes a potential hazard that will result in serious injury or death.
WARNING Denotes a potential hazard that could result in serious injury or death.
CAUTION Denotes a hazard that could result in minor injury or property damage.
The following symbols are used to classify and describe the type of instructions to be observed.
- This symbol is used to alert users to a specific operating procedure that must not be performed.
- This symbol is used to alert users to a specific operating procedure that must be followed in order to operate the unit safely
WARNING
Preventing accidents
Do not store within the reach of children or infants.
Do not let them use it.
Doing so may cause an accident or injury due to accidental ingestion of removable parts.
This appliance is not intended for use by persons (including children) with reduced physical, sensory or mental capabilities, or lack of experience and knowledge, unless they have been given supervision or instruction concerning use of the appliance by a person responsible for their safety.
Children should be supervised to ensure that they do not play with appliance.- Failure to do so may cause an accident or injury.
- Charger
Do not connect or disconnect the charger to a wall outlet with a wet hand.- Doing so may cause electric shock or injury.
Do not place the charger over or near water filled sink or bathtub. Do not immerse the charger (except for the charger cover) in water or wash it with water.
Do not use when the charger is damaged or when the fitting into the wall outlet is loose. Do not damage, modify, or forcibly bend, pull, or twist the cord. Also, do not place anything heavy on or pinch the cord.- Doing so may cause electric shock or fire due to a short circuit.
WARNING
Do not use in a way exceeding the rating of the wall outlet or the wiring.- Exceeding the rating by connecting too many power plugs to one wall outlet may cause fire due to overheating.
Do not use charger near the bathtub or in the shower.- Doing so may lead to electric shock and fire.
Do not use anything other the supplied charger to charge the product for any purpose. Also, do not use any other products with the charger supplied.- Doing so may cause burn or fire due to a short circuit.
Always ensure that the product is operated on an electric power source matched to the rated voltage indicated on the charger. Fully insert the power plug.- Failure to do so may cause fire or electric shock.
Always unplug the charger from a wall outlet when cleaning the charger.- Failure to do so may cause electric shock or injury.
Regularly clean the power plug and the appliance plug to prevent dust from accumulating.- Failure to do so may cause fire due to insulation failure caused by humidity.
Disconnect the charger and wipe with a dry cloth.
- Failure to do so may cause fire due to insulation failure caused by humidity.
- In case of an abnormality or failure Immediately stop using and remove the charger if there is an abnormality or failure
Failure to do so may cause fire, electric shock, or injury.
The main unit, charger or cord is deformed or abnormally hot.- The main unit, charger or cord smells of burning.
- There is abnormal sound during use or charging of the main unit, charger or cord.
- Immediately request inspection or repair at an authorized service center.
- The product
This product has a built-in rechargeable battery. Do not heat or throw the product into fire.- Doing so may cause battery fluid leakage, battery overheating or explosion.
Do not modify or repair.- Doing so may cause fire, electric shock, or injury.
- Contact an authorized service center for repair (battery change etc.).
The supply cord cannot be replaced. If the cord is damaged, the charger should be scrapped.- Doing so may cause fire, electric shock, or injury.
Never disassemble except when disposing of the product.- Doing so may cause fire, electric shock, or injury.
CAUTION
- The product
Never use for a purpose other than cleaning your teeth.- Doing so may cause an accident or injury.
Do not share your brush head with your family or other people.- Doing so may result in infection or inflammation.
- Note the following precautions
Do not drop or hit against other objects.- Doing so may cause injury.
Do not wrap the cord tightly around the charger when storing.- Doing so may cause the wire in the cord to break with the load, and may cause fire due to a short circuit.
Disconnect the charger from the wall outlet when not charging.- Failure to do so may cause electric shock or fire due to electrical leakage resulting from insulation deterioration.
When unplugging the power plug, hold the power plug instead of the cord.- Otherwise, the wire in the cord may break with the load, which may cause electric burns or electric shock, or may cause fire due to a short circuit.
- Protecting your teeth and gums
- Do not use the brush with toothpaste that contains a high abrasive content, such as toothpaste for removing tar or for whitening.
Do not apply the brush head strongly against teeth or gums, or use it continuously against same spot.- Do not apply the plastic part of the main unit or brush head to teeth.
- Do not let anyone who cannot operate the brush by themselves
use it. - People with low sensitivity in their mouth should not use the brush.
- Doing so may cause injury or damage to teeth and gums.
People who may have periodontal disease, have teeth being treated, or who are concerned about symptoms in their mouth should consult a dentist before use.- Failure to do so may cause injury or damage to teeth and gums.
Handling of the removed battery when disposing
DANGER
The rechargeable battery is exclusively for use with this appliance. Do not use the battery with other products.
- Do not charge the battery after it has been removed from the product.
- Do not throw into fire or apply heat.
- Do not solder, disassemble or modify the battery.
- Do not let the positive and negative terminals of the battery get in contact with each other through metallic objects.
- Do not carry or store the battery together with metallic jewelry such as necklaces and hairpins.
- Never peel off the tube.
- Doing so may cause fluid leak, overheating, or explosion.
- The battery contains alkaline fluid. If it comes in contact with the eyes, do not rub the eyes, and thoroughly rinse with clean water, such as tap water.
- Failure to do so may cause loss of vision. Consult a physician immediately.
WARNING
After removing the rechargeable battery, do not keep it within reach of children and infants.- The battery will harm the body if accidentally swallowed.
- If this happens, consult a physician immediately.
The battery contains alkaline fluid. If it comes in contact with the skin or clothes, rinse off with clean water, such as tap water.- Failure to do so may cause skin injury
Intended use
Precautions
- Do not clean this product by using paint thinner, benzene, alcohol, or other chemicals. Otherwise, it may lead to product fracture or color fading. Soft cloth slightly dipped in tap water or suds can be used to clean this product’s shell.
- After use, this product shall be kept away from the pool, shower or other areas exposed to water or humidity.
- This product shall be kept away from area of high temperature or direct sunlight.
- Charge the appliance correctly according to these Operating Instructions. (See page 9 “Charging the toothbrush”.)
- This appliance contains battery that is only replaceable by skilled persons. Please contact an authorized service center for the details of repair.
- The following symbol indicates that a specific detachable power supply unit is required for connecting the electrical appliance to the supply mains. The type references of power supply unit and charger are marked near the symbol.

Parts identification
Main unit
- Power switch (Power off/on/mode selection)
- Brush shaft
- Mode indicator (Green)
- Charge status indicator (Red)
- Fixing position mark
- Installation position mark
B Extra fine brush - Brush bristle (extra-fine bristle)
- Toothbrush handle
C Multi-fit brush - Brush bristle

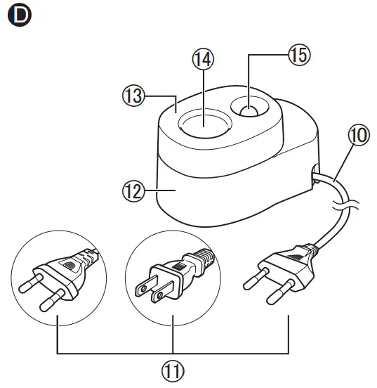
Charger (RE8-55)
(The shape of the charger differs depending on the area.) - Cord
- Power plug
- Charging stand
- Charger cover
- Charge hole
- Brush head socket

Charging the toothbrush
- Place charger at a horizontal smooth location like a sink or washstand.
- Insert the main unit into the charge hole in an upright position.
- Insert the power plug into wall outlet.
- If the main unit is tilted, or the bottom of the main unit does not connect with charge hole, the main unit will not be charged.
- Make sure that the charger cover is firmly connected to the charger.

Indicator in charging
If charge continuously - It takes about 17 hours to be fully charged. When charging is completed, the charge status indicator will automatically turn off. Remaining battery capacity may shorten charging time.
- More than 17 hours of charging does not affect battery performance.
- A full charge will supply enough power for approx. 30 minutes use. (Use time may vary depending on ambient temperature and use conditions.)
- Unplug the power plug when charging is completed.
Notes
- If this unit is not used for more than 6 months, or is being used for the first time, the charge status indicator will not light up immediately, or the duration of use will be shorter. In this case, charge the appliance for more than 26 hours. Afterwards, the appliance will operate normally.
- Recommended temperature for charging is 0 °C – 35 °C. When charging temperature is over or lower than the recommended temperature, the battery performance may be reduced.
Before cleaning your teeth
The Sonic Vibration Toothbrush is an electric toothbrush with sonic vibration* of approximately 31 000 brush strokes/minute. * Sonic vibration in acoustic wave field
When you first begin using the toothbrush, you may experience slight bleeding of the gums even though your gums may be healthy. This is because your gums are receiving stimulation by the toothbrush for the first time. The bleeding should stop after one or two weeks of use. Bleeding that persists for more than two weeks may be indication of an abnormal condition of your gums, such as pyorrhea. In this case, stop using the toothbrush and consult your dentist.
- About soft start function (For NORMAL mode only)
To prevent toothpaste from spattering and to get accustomed to the high speed vibration, the toothbrush will gradually reach the selected speed and vibration approximately 2 seconds after it starts operating. - About the 30-second brushing notification timer function The toothbrush will pause once at 30-second intervals to indicate the brushing time. The main unit pauses twice at 2-minute intervals then starts again.
- Divide your teeth into 4 parts (upper and lower, left and right), and brush one part in order such as “1 front of the teeth”, “2 biting plane of the teeth”, and “3 back of the teeth” spending 30 seconds. By brushing the above 4 parts for 30 seconds each (about 2 minutes), you can evenly brush your teeth without missing any spots in your mouth.

- Divide your teeth into 4 parts (upper and lower, left and right), and brush one part in order such as “1 front of the teeth”, “2 biting plane of the teeth”, and “3 back of the teeth” spending 30 seconds. By brushing the above 4 parts for 30 seconds each (about 2 minutes), you can evenly brush your teeth without missing any spots in your mouth.
Using the toothbrush
The recommended operating temperature of electric toothbrush is 0 °C or higher. If the indoor temperature is below the recommended temperature, the electric toothbrush may stop operating.
- Do not put the main unit in contact with hair products, hand creams, etc.
Doing so may damage the exterior.
- Firmly install the brush head onto the brush shaft.
- Insert the brush head into the brush shaft, with its line aligned to the installation mark of the main unit. (If the line is not aligned, the brush head and main unit may malfunction.)

- Rotate the brush head to align its line to the fixing position mark of the brush shaft. Do not rotate tightly. (Otherwise, it may cause breakage and deformation to the brush shaft and the brush head.)

- Insert the brush head into the brush shaft, with its line aligned to the installation mark of the main unit. (If the line is not aligned, the brush head and main unit may malfunction.)
- Place toothbrush in your mouth.
- To avoid toothpaste foam from splashing, use a small amount of regular toothpaste. Before turning on the power switch, put the brush head in your mouth.

- To avoid toothpaste foam from splashing, use a small amount of regular toothpaste. Before turning on the power switch, put the brush head in your mouth.
- Press the power switch and choose a mode.

- Some first-time users probably will have sense of itching and pricking because of such sound wave vibration, but after several times of use, such sense will disappear.
- Every time the power switch is turned on, the mode changes.
(Each time you press the power switch, the appliance enters NORMAL mode.)
Mode
Description
NORMAL Recommended for normal toothbrushing. SOFT When you feel NORMAL mode is too stimulating, selecting SOFT mode is recommended.
- Turn off the main unit when you have finished brushing.
- Press the power switch to turn off the unit.
Tips on usage
Brushing
Extra fine brush
When you want to brush mainly the periodontal pocket. (You can also brush the teeth front surface and the biting surface.)
Multi-fit brush
When you want to make your teeth front surface and biting surface clean. (You cannot brush the periodontal pocket.)
Choose the brush head depending on use and area.
Periodontal pocket
- Use the extra fine brush.
- Place the brush head at a 45° angle.
- Apply the bristles of the extra fine brush lightly into the periodontal pocket and move the toothbrush slowly.

Front surface and the biting surface of teeth
- Apply the brush head at a 90° angle. 90°

For the back of the front teeth or misaligned teeth
- Place the brush vertically.
- Move toothbrush to match the angle of the teeth.

For the boundary between the teeth and gums
- Apply the brush head at a 45° angle.

After use
Cleaning the brush head and the main unit
- Remove the brush head.
- Rotate the brush head to align its line to the installation position mark of the main unit. (Pulling out the brush head while the brush head is locked will lead to breakage).
- Pull out the brush head vertically.

- Clean the brush head. Wash brush head using running water.
- Thoroughly clean the inner and bottom of brush head.
- Do not pull the bristle on brush head. (Otherwise, it will lead to bristle falling off.)
- Do not wash it with water higher than 80 °C. (Otherwise, it may lead to brush head breakage.)

- Clean the main unit. Wash the main unit using running water.
- Do not immerse the main unit in water. (Otherwise, the water may seep into the main unit.)
- Do not wash it with water higher than 40 °C. (Otherwise, it may damage the main unit.)

- Wipe off the water on brush head and main unit for storage.
- Do not charge while it is wet.
Doing so may cause soiling
- Do not charge while it is wet.
Cleaning the charger
- Unplug the power plug from the wall outlet.
- Slide and remove the charger cover.

- Wash the charger cover with running water before wiping remaining water off.
- Except for charger cover, all other parts cannot be washed with water.
- Wipe off the dirt on the bottom of charger with soft cloth.

- Wipe and clean the metal parts of the power plug with dry cloth about every 6 months.

Frequently Asked Questions
Because this product has 30-second reminder and timer, which allows toothbrush stopping at 30-second interval to remind you of brushing time.
This product is in two switching modes. Each pressing will switch to another mode.
Available at distributor’s or an authorized service center.
Troubleshooting
Problem | Diagnosis | Corrective Action |
Charge status indicator does not turn on. | The main unit is not properly installed on the charger. | Vertically insert the main unit into charge hole, and check that the charge status indicator glows. |
The toothbrush can only be used for a few minutes, even if it is charged. | The charger cover is not firmly connected to the charger. | Connect the charger cover to the charger firmly. |
The toothbrush does not operate. | Rechargeable battery has reached the end of its service life (about 3 years). | Replace the battery. |
Vibration weakens. | The appliance is used with approximately 0 °C or lower. | The recommended operating temperature is 0 °C or higher. |
The toothbrush pauses operating with short intervals. | Low battery. | Charge for at least 17 hours. |
Vibration will gradually increase after pressing power switch. | The “30-second brushing notification timer function” is in operation. | This is not failure. Use it as usual. |
If the problems still cannot be solved, contact the store where you purchased the unit or a service center authorized by Panasonic for repair.
Battery life
Approximately 3 years. The battery may have reached its operating life if the usage frequency decreases drastically, even after a full charge. (The operating life of the battery may differ depending on usage or storage conditions.)
Removing the built-in rechargeable battery
This product has a built-in rechargeable battery. Before disposing, be sure to remove the built-in battery.
If there is an officially-designated place for such battery disposal, be sure to dispose your old battery at such place. The battery must be disposed of safely.
The method as shown on below picture is only applicable to product disposal, and do not use such method to make maintenance. If you dismantle the toothbrush yourself, it will no longer be waterproof, which may cause it to malfunction.
- Press the power switch to turn on the power and then keep the power on until the battery is completely discharged.
- Disassemble the toothbrush after discharging the battery completely.
- Battery must be disposed at a place as specified by the government or a recognized recycling corporation.
- Remove the battery with a flat head screw driver in the following order. Disassemble the bottom part of the main body (1~2). Press and hold the main body. Lever the battery clip (3). Remove the tape from the terminals (4). Remove the cushions (5~6). Insert a flat head screw driver into the bottom of the welding joint, and then remove the battery (7).
- When disassembling, take care not to short circuit the positive and negative terminals of the removed battery, and insulate the terminals by applying tape to them.

Environmental protection and resource recovery
This product employs Ni-MH battery.
If your country has relevant regulations on battery recycling, have your old battery disposed at such specified place.
Specifications
- Power source: See the name plate on the product
(Automatic voltage conversion) - Charging time: Approx. 17 hours
(Room temperature: 0 °C – 35 °C)
This product is intended for household use only.
Changing the brush head (sold separately)
- Replacing the brush head each 3 months is recommended.
- Titled or worn bristle will not produce ideal effect.
- Damaged brush head as a result of masticating will harm your teeth and gum. Replace the damaged one.
- Replacement parts are available at distributor’s or an authorized service center.
- Color identification labels are included in the brush-head replacement package. The labels can be attached on the toothbrush handle to identify users when they share the same main unit.
Part number | Replacement brush for EW-DM81 | |
WEW0972 | Extra fine brush |
|
WEW0974 | Multi-fit brush |
|
Panasonic Corporation
http://www.panasonic.com
© Panasonic Corporation 2016-2020








































