

Quick Start Guide
Models:
PIP1610 HD
PIP1610-2 HD
PIP1610-3 HD
PIP1610-4 HD
1. At a glance
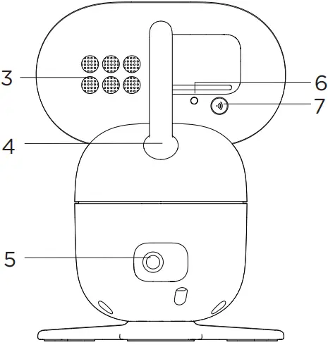
Baby (camera) unit

1. Camera
2. Desk stand
3. Speaker
4. Antenna
5. Power jack
6. Power / Linking LED indicator
Lights up in blue when the parent unit is powered on and linked to the baby (camera) unit.
7. Pair button
Press and hold to pair with the parent unit.
Parent unit

1. Screen display
2. Dual sound level indications
(front and top view)
3. Power button
Press and hold to turn on or off.
Press to turn the screen on or off.
4. Menu button
Press to open the menu.
5. OK / Zoom button
Press to confirm a selection/zoom in or out.
6. Navigation button
Pan or tilt the camera to different directions/adjust menu settings/press left or right to select the parent unit’s volume level.
7. Volume / Back button
8. Talk back button
Press and hold to talk to the baby.
9. Antenna
10. Speaker
2. Connect and charge
Baby (camera) unit

- Plug the DC plug of the power adapter into the power socket on the rear of the baby (camera) unit and plug the other end of the AC adapter into the wall socket.
- The baby unit turns on and the power indicator lights up in blue and blinks in red after 30 seconds if the parent unit has not been powered up.
WARNING
Strangulation Hazard. Children have STRANGLED in cords. Keep this cord out of the reach of children (more than 1 meter or 3 feet away). Do not remove the tags from the AC Adapters. Only use the AC Adapters provided.
Parent unit

- Press and hold
A rechargeable battery is already pre-installed inside the parent unit. When fully charged, you can move the parent unit without losing the link and picture from the baby (camera) unit. When charging the battery for the first time, charge for at least 16 hours continuously.
- Plug the DC plug of the power adapter into the power socket on the side of the parent unit and plug the other end of the AC adapter into the wall socket.
- Switch on the AC power.
- Press and hold the power button on the top of the parent unit to turn it on.
- When the parent unit is fully charged,
will appear steadily on the screen display.
Note
Use only the supplied power adapter (DC5V / 1500 mA).
Pair the baby (camera) unit to the parent unit
We have paired the baby unit to the parent unit in the pack. In case you want to pair an extra camera, press and hold
on the rear of the baby (camera) unit until the voice prompt ‘Ready for pairing’ is heard.
3. Wall mount the baby (camera) unit


- Mark the positions of 2 screw holes on the wall. Drill a screw hole at each marking.
- Install the supplied wall anchors into 2 screw holes on the wall.
- Insert the supplied wall mounting screws into the wall anchors.
- Remove the desk stand by loosening the screw on the underside of the desk stand.
- Fix and fasten this screw on the baby (camera) unit and the wall mount bracket.
- Hang the wall mount bracket on the wall mounting screws on the wall.
Note
The pack includes a power adapter with a longer cord which is beneficial for wall mount application, where your wall socket is far from the camera.
4. Use your video baby monitor
Zoom in/out
Adjust LCD brightness
Play list
Set the alarm
Temperature unit °C or °F selection
Camera selection
Screen on/off timer
View multiple cameras
Message inbox
Status icons
Signal strength
Battery level indication
Zoom in
Alarm set
Playing lullaby
Playing audio book
Speaker off
Talk back
Night vision
Screen off time (5/30/60 minutes)
Screen saver enabled
Cycle view from camera
Camera selected
Lullabies playback
- Press MENU on the parent unit to open the
menu. - Scroll the navigation button to
then press OK and view the names of lullabies displaying on the screen. - Select a desired lullaby then press OK to start playback.
Audio book playback
- Press MENU on the parent unit to open the
menu. - Scroll the navigation button to
then press OK and view the names of audio books displaying on the screen. - Select a desired audio book then press OK to start playback.
Adjust the volume level of audio playback (lullabies and audio book)
- Press MENU on the menu bar of the parent unit to open the
menu. - Scroll the navigation button to
then press OK and the volume status bar pops up. - Select a desired volume level, then press OK to confirm.
For more detailed explanation of all features and instructions, visit or download the user manual from motorolanursery.com.
5. Help
No display
- Try recharging the battery pack.
- Reset the parent and baby (camera) units. Unplug both units from the wall socket, then plug them back in.
- Check if the parent/baby (camera) unit is powered on.
- When operated by the battery only, the parent unit display will go blank after 5 minutes, 30 minutes or 60 minutes to save power (depending on video settings).
The baby (camera) unit has lost its link with the parent unit
- The baby (camera) unit is too far away and may be out of range. Move the it closer to the parent unit.
- Disconnect both the parent and baby (camera) units from the power outlet. Wait for about 15 seconds and reconnect them. Allow up to one minute for the parent and baby (camera) units to synchronize.
Noise interference on your parent unit
- Make sure there is at least 3 to 6 feet between the parent and baby (camera) units to avoid audio feedback.
- The baby (camera) unit is too far away and may be out of range. Move the it closer to the parent unit.
- Make sure the parent and baby (camera) units are not placed near other electrical equipment, such as a television, computer or cordless/mobile telephone. Move the parent and baby (camera) units 5 feet away from other electrical equipment.
- Use of other 2.4 GHz products, such as wireless networks (Wi- Fi® routers), Bluetooth™ systems, or microwave ovens, may cause interference with this product.
- If the signal is weak, try moving the parent and/or baby (camera) units to different positions in rooms.
For a full explanation of all features, download the user guide from motorolanursery.com.
6. General information
Consumer Products and Accessories Warranty
Thank you for purchasing this Motorola branded product manufactured under license by Meizhou Guo Wei Electronics Co. LTD., AD1 section, The economy exploitation area, Meizhou, Guangdong, P.R.China . (“MZGW”)
What Does this Warranty Cover?
Subject to the exclusions contained below, MZGW warrants that this Motorola branded product (“Product”) or certified accessory (“Accessory”) sold for use with this product that it manufactured to be free from defects in materials and workmanship under normal consumer usage for the period outlined below. This Limited Warranty is your exclusive warranty and is not transferable.
Who is covered?
This warranty extends only to the first consumer purchaser, and is not transferable.
What will MZGW do?
MZGW or its authorized distributor at its option and within a commercially reasonable time, will at no charge repair or replace any Products or Accessories that do not conform to this limited warranty. We may use functionally equivalent reconditioned / refurbished / pre-owned or new Products, Accessories or parts.
What Other Limitations Are There?
ANY IMPLIED WARRANTIES, INCLUDING WITHOUT LIMITATION THE IMPLIED WARRANTIES OF MERCHANTABILITY AND FITNESS FOR A PARTICULAR PURPOSE, SHALL BE LIMITED TO THE DURATION OF THIS LIMITED WARRANTY, OTHERWISE THE REPAIR OR REPLACEMENT PROVIDED UNDER THIS EXPRESS LIMITED WARRANTY IS THE EXCLUSIVE REMEDY OF THE CONSUMER, AND IS PROVIDED IN LIEU OF ALL OTHER WARRANTIES, EXPRESS OF IMPLIED. IN NO EVENT SHALL MOTOROLA OR MZGW BE LIABLE, WHETHER IN CONTRACT OR TORT (INCLUDING NEGLIGENCE) FOR DAMAGES IN EXCESS OF THE PURCHASE PRICE OF THE PRODUCT OR ACCESSORY, OR FOR ANY INDIRECT, INCIDENTAL, SPECIAL OR CONSEQUENTIAL DAMAGES OF ANY KIND, OR LOSS OF REVENUE OR PROFITS, LOSS OF BUSINESS, LOSS OF INFORMATION OR OTHER FINANCIAL LOSS ARISING OUT OF OR IN CONNECTION WITH THE ABILITY OR INABILITY TO USE THE PRODUCTS OR ACCESSORIES TO THE FULL EXTENT THESE DAMAGES MAY BE DISCLAIMED BY LAW.
Some jurisdictions do not allow the limitation or exclusion of incidental or consequential damages, or limitation on the length of an implied warranty, so the above limitations or exclusions may not apply to you. This warranty gives you specific legal rights, and you may also have other rights that vary from one jurisdiction to another.
| Products Covered | Length of Coverage |
| Consumer Products | Two (2) years from the date of the products original purchase by the first consumer purchaser of the product. |
| Consumer Accessories (battery, power supply(s) and line cords) | Ninety (90) days from the date of the accessories original purchase by the first consumer purchaser of the product. |
| Consumer Products and Accessories that are Repaired or Replaced | The balance of the original warranty or for ninety (90) days from the date returned to the consumer, whichever is longer |
Exclusions
Normal Wear and Tear. Periodic maintenance, repair and replacement of parts due to normal wear and tear are excluded from coverage.
Batteries. Only batteries whose fully charged capacity falls below 80% of their rated capacity and batteries that leak are covered by this limited warranty.
Abuse & Misuse. Defects or damage that result from:
- Improper operation, storage, misuse or abuse, accident or neglect, such as physical damage (cracks, scratches, etc.) To the surface of the product resulting from misuse;
- Contact with liquid, water, rain, extreme humidity or heavy perspiration, sand, dirt or the like, extreme heat, or food;
- Use of the products or accessories for commercial purposes or subjecting the product or accessory to abnormal usage or conditions; or
- Other acts which are not the fault of motorola or mzgw are excluded from coverage.
Use of Non-Motorola branded Products and Accessories. Defects or damage that result from the use of Non-Motorola branded or certified Products or Accessories or other peripheral equipment are excluded from coverage.
Unauthorized Service or Modification. Defects or damages resulting from service, testing, adjustment, installation, maintenance, alteration, or modification in any way by someone other than Motorola, MZGW or its authorized service centers, are excluded from coverage.
Altered Products. Products or Accessories with:
- Serial numbers or date tags that have been removed, altered or obliterated;
- Broken seals or that show evidence of tampering;
- Mismatched board serial numbers; or
- Nonconforming or non-motorola branded housings, or parts, are excluded from coverage.
Communication Services. Defects, damages, or the failure of Products or Accessories due to any communication service or signal you may subscribe to or use with the Products or Accessories is excluded from coverage.
How to Obtain Warranty Service or Other Information?
To obtain service or information, please visit us at: motorolanursery.com/support
You will receive instructions on how to ship the Products or Accessories at your expense and risk, to a MZGW Authorized Repair Center.
To obtain service, you must include:
- The product or accessory;
- The original proof of purchase (receipt) which includes the date, place and seller of the product;
- If a warranty card was included in your box, a completed warranty card showing the serial number of the product;
- A written description of the problem; and, most importantly;
- Your address and telephone number.
FCC and IC regulations (FCC Part 15)
This equipment has been tested and found to comply with the requirements for a Class B digital device, pursuant to Part 15 of the Federal Communications Commission (FCC) rules.
Industry Canada
This device complies with Industry Canada licence-exempt RSS standard(s). Operation is subject to the following two conditions:
- This device may not cause interference, and
- This device must accept any interference, including interference that may cause undesired operation of the device.
Product disposal instructions
![]()
Product disposal instructions for residential users
When you have no further use for it, please remove any batteries and dispose of them and the product according to your local authority’s recycling processes. For more information, please contact your local authority or the retailer where the product was purchased.
Product disposal instructions for business users
Business users should contact their suppliers and check the terms and conditions of the purchase contract and ensure that this product is not mixed with other commercial waste for disposal.
< This page has been intentionally left blank >
Manufactured, distributed or sold by Meizhou Guo Wei Electronics Co. LTD., official licensee for this product.
MOTOROLA and the Stylized M Logo are trademarks or registered trademarks of Motorola Trademark Holdings, LLC. and are used under license. All other trademarks are the property of their respective owners. © 2022 Motorola Mobility LLC. All rights reserved.
Version 4 (EN_NA)
Printed in China
![]()



















