
JBL Bar 3.1

![]()
![]()
![]()
OWNER’S MANUAL
1. INTRODUCTION
Thank you for purchasing the JBL Bar 3.1. The JBL Bar 3.1 is designed to bring an extraordinary sound experience to your home entertainment system. We urge you to take a few minutes to read through this manual, which describes the product and includes step-by-step instructions to help you set up and get started.
CONTACT US: If you have any questions about JBL Bar 3.1, its installation or its operation, please contact your retailer or custom installer, or visit our website at www.JBL.com.
2. WHAT’S IN THE BOX
Soundbar

Subwoofer

Remote Control and Batteries

Power Adaptor

Power Cables* (4ft, 1200mm)

*Power cable numbers varied by regions
HDMI Cable (4ft, 1200mm)

AUX Cable (4ft, 1200mm)

Wall Mount Brackets

Product Information & Wall-mounted guide

3. CONNECT YOUR SOUNDBAR
This section helps you connect your soundbar to a TV and other devices, and set up the whole system.
Connect Soundbar to your TV
Connect your soundbar to a TV. You can listen to audio from TV programs through your soundbar.
Connect to TV through HDMI (ARC)
An HDMI connection supports digital audio and is the best option to connect to your soundbar. If your TV supports HDMI ARC, you can hear the TV audio through your soundbar by using a single HDMI cable.

Note: Do confirm if HDMI CEC function on your TV is turned on.
Connect to TV through Optical

An Optical connection supports digital audio and is an alternative to an HDMI audio connection.
Note: Confirm to set your TV audio settings to support “external speakers” and disable the built-in TV speakers.
Connect Soundbar to other devices
Option 1: Connect digital devices through HDMI

Connect a digital device such as a set-top box, DVD/Blu-ray player, or games console to your soundbar through a single HDMI connection. When you connect the devices in this way and play a file or game, the
- video is automatically displayed on your TV, and
- audio is automatically played on your soundbar.
- Using a High Speed HDMI cable, connect the HDMI OUT connector on your digital device to the HDMI IN on your soundbar. Connect your soundbar to TV through HDMI OUT (ARC).
- Press repeatedly SOURCE button on the remote control until the corresponding HDMI 1/ HDMI 2/ HDMI 3 is displayed on the display panel.
- If the TV is not HDMI CEC compliant, select the correct video input on your TV.
- On the connected device, turn on HDMI CEC operations. For details, see the user manual of the device.
Option 2: Connect devices through analog audio cables

1. Using an analog cable, connect the AUX IN (3.5mm jack) on your soundbar to the AUX OUT / 3.5mm connectors on your portable devices.
2. Press repeatedly SOURCE button on the remote control until AUX is displayed on the display panel.
Power on your system

Pair with the subwoofer

The wireless subwoofer automatically connects with the soundbar when both units are powered on. If the subwoofer is on and connected, the LED lights white continuously.
If no audio from the wireless subwoofer can be heard, manually pair the subwoofer:
- Turn on the soundbar and the subwoofer. If the connection is lost, the LED indicator on the subwoofer blinks slowly.
- Press the CONNECT button on the subwoofer to enter pairing mode. The LED indicator on the subwoofer blinks quickly.
- Press and hold DIM DISPLAY button on remote control for 5 seconds, followed by short press on BASS+, and BASSbutton in sequence. Panel display will show “PAIRING”
If the pairing succeeds, the LED indicator on the subwoofer lights up and the soundbar display will show “DONE”.
If the pairing fails, the indicator on the subwoofer blinks slowly. - If the pairing fails, repeat the steps above.
4. PLACE YOUR SOUNDBAR
4a. Place the Soundbar on the table

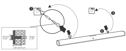
4b. Wall mount the Soundbar
Use tape to stick the wall-mounted paper guide on the wall, push a pen tip through the center of each mounting hole to mark the wall-mounted bracket location and remove the paper.

Screw the wall mount brackets on the pen mark; screw the threaded mounting post into the back of the soundbar; then hook the soundbar on the wall.

5. USE YOUR SOUNDBAR SYSTEM
1. To Control
a. Top panel

b. Remote Control

* Switch between HDMI ARC/ HDMI 1/ HDMI 2/ HDMI 3/ Optical/ AUX/ Bluetooth/USB
** Switch between Standard/ music/voice/ movie/ sports sound mode or press and hold 5 seconds to reset default audio setting
*** For USB playback only; switch between shuffle/ repeat all/ repeat one/ off
2. To use Bluetooth
2a. Press Bluetooth (BT) button on your remote control to start Bluetooth pairing

2b. Select “JBL Bar 3.1” to connect

Remark: Press and hold Bluetooth (BT) button on your remote
control for 3 seconds if you want to pair another mobile device.
NOTES
– If asked for a PIN code when connecting a Bluetooth device, enter <0000>.
– In Bluetooth connection mode, the Bluetooth connection will be lost if the distance between the Soundbar and the Bluetooth device exceeds 32.8 ft/ 10m.
– The Soundbar automatically turns off after 10 minutes in the Ready state.
– Electronic devices may cause radio interference. Devices that generate electromagnetic waves must be kept away from the Soundbar main unit – e.g., microwaves, wireless LAN devices, etc.
3. To use Soundshift
By default, Soundshift is OFF, Bluetooth music cannot break in your current source.
Press SOUNDSHIFT button on your remote control to enable Soundshift feature.
While Soundshift is on, play and pause your music source to enjoy auto-switch between your mobile devices – Bluetooth source (A) and TV – Previous source (B).


4. To use USB
Play music files located on USB storage devices through the soundbar.
1. Connect a 2.0 USB drive to your soundbar.
2. Press repeatedly SOURCE button on the remote control until USB is displayed on the display panel.
If USB is detected, display will show LOADING and music start playing automatically.
Songs on your USB device is using the below logic to play music.

• If there is no file in the folder, the folder will not appear.
• Files are recognized by alphabetical and numerical order. Files in root will be first recognized, followed by files in folders. Thus, files will be played from file 1 to file 7 one by one.
Control USB playback
Use Play/ Pause/ Previous/ Next/ Shuffle to control music on your USB device.


Before you connect a USB device, be aware of the following:
- This soundbar can display file or folder names that contain numbers or English characters only. Other languages and symbol are not supported.
- If the file name of a file on a USB device exceeds 15 characters, it is not displayed on the Soundbar’s display.
- Do not remove the USB device while it is transferring files.
- DRM-protected music files (MP3, WMA) from commercial web sites cannot be played.
Compatible USB devices
- MP3 Player : Flash type MP3 player.
- USB Flash Drive : Devices that support USB 2.0.
- Some USB devices may not be supported.
USB device requirement
- Devices which require additional program installation connected to a computer, are not supported.
- Do not extract the USB device while in operation.
- For a large capacity USB, it may take longer than a few minutes to be searched. The Soundbar does not support USB devices with 2000 files or more on it.
- The Soundbar USB Port cannot be connected to PC and it can not be used as a storage device.
- The exFAT and NTFS file system is not supported on this unit.
(FAT16/FAT32 systems are available.) - Depending on some devices, it may not available to recognize the followings on this unit.
— External HDD
— Card readers
— Locked devices
— Hard type USB devices
— USB hub
— Using USB extension cable
— iPhone/iPod/iPad
— Android device
6. SOUND SETTING
This section helps you choose the ideal sound for your video or music.
Before you start
- Make the necessary connections described in the user manual.
- On the soundbar, switch to corresponding source for other devices.
Adjust the volume
- Press VOLUME +/- button to increase or decrease a volume level.
- To mute sound, press MUTE button.
- To restore the sound, press MUTE button again or press VOLUME +/- button
Choose sound effect
1. Surround sound mode
- Experience an immersive audio experience with JBL surround sound mode.
- Press SURROUND button to turn surround mode on or off.
- On: Create a surround listening experience.
- Off: Two-channel stereo sound. Ideal for listening to music.
2. Bass
- Change low frequency (bass) settings of the soundbar.
- Press BASS +/- to change the subwoofer volume level.
3. Sound mode
- Select predefined sound modes to suit your video or music.
- Press SOUND button to select a sound option from the display panel.
- Select the STANDARD mode if you want to enjoy the original sound.
- Select the MUSIC, MOVIE, VOICE, SPORTS mode depending on the content you want to listen to.
4. Night mode
- For quiet listening, night mode decreases the volume of loud sounds when audio is played.
- Night mode is only available for Dolby Digital soundtracks.
- Press NIGHT MODE button to turn night mode on or off.
Press and hold 5 seconds SOUND button to reset default audio setting.
Synchronize video and sound
- If the audio and video are not synchronized, delay the audio to match the video.
- Press AUDIO SYNC +/- button to synchronize the audio with the video.
7. RESPOND TO YOUR TV REMOTE CONTROL
Use your own TV remote control to control your soundbar
7a. For most Samsung, LG, Sony and Vizio TVs*
The soundbar responds to your TV remote control automatically. Controllable functions are volume up/down and mute. Press and hold SHUFFLE button on soundbar remote control if you want to disable this function.

Note:
– Make sure that the sound output of your TV is set to “External speaker”.
– Depending on the remote control, this function may not work well.
– This function does not operate on LG TV’s magic remote control.
– This function may not work well when HDMI CEC is ON.
– Some remote control may not operate if you press repeatedly the volume button.
– If your TV remote control is not supported, follow section 7b and do IR remote learning.
7b. For other TVs, do IR remote learning
To program the soundbar to respond to your TV remote controlfollow these steps. First, press and hold VOLUME+ and SOURCE button to enter learning mode.
Then, press POWER button on the soundbar and press POWER button on the TV remote control
8. SYSTEM
- Auto standby
This soundbar automatically switches to standby after 10 minutes of button inactivity and no audio/video play from a connected device. - Auto wake up
The soundbar is powered on whenever a sound signal is received. This is most useful when connecting to the TV using the optical cable, as most HDMI™ ARC connections enable this feature by default. - Set display brightness
Press DIM button on remote control repeatedly to select a different brightness level of the display panel on this product - Apply factory settings
• Reset this soundbar to the default settings programmed at the factory.
• In any source mode, press and hold VOLUME -, VOLUME+ and SOURCE button on soundbar top panel until text display shows RESET.
• When the factory settings restore is complete, the product automatically switches off and restarts. - Check Software version
• Press and hold DIM DISPLAY button for 5 seconds in any source, Hold and press DIM DISPLAY button for 5 seconds, followed by SOUND MODE and NIGHT MODE button.
• To check subwoofer software version, pls connect subwoofer to soundbar via a 3.5mm AUX in cable and follow the above procedure. - Software Update
JBL may offer updates for soundbar’s system firmware in the future. If an update is offered, you can update the firmware by connecting a USB device with the firmware update stored on it to the USB port on your soundbar.
Please visit www.JBL.com or contact JBL call center to receive more information about downloading update files.
9. PRODUCT SPECIFICATIONS
General
- Total Maximum Power: 450W
- Soundbar Maximum Power: 150W
- Soundbar Standby Power: <0.5W
- Subwoofer Maximum Power: 300W
- Subwoofer Standby Power: <0.5W
- Soundbar Transducer Size: 6 x 2.25″ racetrack drivers \ 3×1.25″tweeter
- Subwoofer Transducer Size: 10″
- MaxSPL: 103db
- Frequency Response: 35Hz to 20KHz
- Operating temperature: 0°C – 45°C
Input and Output
• Audio inputs: 1 Analog, 1 Optical, Bluetooth, USB
• HDMI Video Inputs: 3
• HDMI Video Output(with Audio Return Channel): 1
• HDMI HDCP Version: 2.2
Bluetooth specification
• Bluetooth Version: 4.2
• Max Bluetooth Range: 32 ft (10m)
• Bluetooth Profile: A2DP V1.3 / AVRCP V1.6
USB specification
(USB) port: Type A
File Format Type Compatibility list:

Product dimension and weight
• Soundbar Dimensions (W x H x D) : 1018 x 58 x 78 (mm) \ 40″x2.3″x3″
• Soundbar Weight: 2.3kg \ 5.1lbs
• Subwoofer Dimensions (W x H x D) : 440 x 305 x 305 (mm) \ 16″ x 12″ x 12″
• Subwoofer Weight: 12.1kg \ 26.7lbs
• Packaging Dimensions (W x H x D) : 1097 x 365 x 450 (mm) \ 43.2″ x 14.4″ x 17.7″
• Packaging Weight (Gross): 17.85kg \ 39.4 lbs
Wireless transmitter/receiver section
• Bluetooth Frequency Range: 2402MHz-2480MHz
• Max Transmitting power: 9dBm (EIRP)
• Bluetooth Transmitter modulation : GFSK, π/4 DQPSK, \ 8DPSK
• 5.8G Wireless Frequency Range: 5740MHz-5840MHz
• 5.8G Max Transmitting power: 20dBm (EIRP)
10. TROUBLESHOOTING
If you have problems using this product, check the following points before you request service.
System
The unit will not turn on.
- Check if power cord is plugged into the outlet and the soundbar
Sound
No sound from Soundbar.
- Make sure that the soundbar is not muted.
- On the remote control, select the correct audio input source
- Connect the audio cable from your soundbar to your TV or other devices.
- However, you do not need a separate audio connection when:
– the soundbar and TV are connected through HDMI ARC connection, or
– a device is connected to the HDMI IN connector on your soundbar. - Reset your soundbar to its factory settings via press and hold VOLUME -, VOLUME+ and SOURCE button on the soundbar top panel
Sound is strange after sound setting adjustment
- Reset audio setting by press and hold SOUND button on remote control for 5 seconds
No sound from the wireless subwoofer.
- Check if the Subwoofer LED is in solid white colour. If white LED is blinking, connection is lost. Manually pair the Subwoofer to soundbar (see ‘Pair with the subwoofer’ on page 4).
Distorted sound or echo.
- If you play audio from the TV through the soundbar, make sure that the TV is muted.
Audio and video are not synchronized.
• Press AUDIO SYNC +/- to synchronize the audio with the video.
Error message is displayed on the display panel.
• When “ERROR” is displayed, it indicates that an input audio format is not supported.
• When “ERROR” is displayed in USB source, it indicates that the connected USB device or Audio file is not supported
Video
If there is no picture on the TV Screen
• Check that the soundbar power is ON, the intended source is ON, and the input is set correctly on the soundbar.
Bluetooth
A device cannot connect with the Soundbar.
- You have not enabled the Bluetooth function of the device. See the user manual of the device on how to enable the function.
- The soundbar is already connected with another Bluetooth device. Press and hold BT button on your remote control to disconnect the connected device, then try again.
- Turn off and turn off your Bluetooth device and try to connect again.
- The device is not correctly connected. Connect the device correctly.
Quality of audio play from a connected Bluetooth device is poor.
- The Bluetooth reception is poor. Move the device closer to the soundbar, or remove any obstacle between the device and the soundbar.
The connected Bluetooth device connects and disconnects constantly.
- The Bluetooth reception is poor. Move your Bluetooth device closer to the soundbar, or remove any obstacle between the device and the soundbar.
- For some Bluetooth device, the Bluetooth connection can be deactivated automatically to save power. This does not indicate any malfunction of the soundbar.
Remote Control
The remote control does not work.
- Check if the batteries are drained and replace with new batteries.
- If the distance between the remote control and the main unit is too far, move it closer to the unit.

HARMAN International Industries,
Incorporated 8500 Balboa
Boulevard, Northridge, CA 91329
USA
www.jbl.com
© 2017 HARMAN International Industries, Incorporated. All rights reserved. JBL is a trademark of HARMAN International Industries, Incorporated, registered in the United States and/or other countries. Features, specifications and appearance are subject to change without notice. The Bluetooth® word mark and logos are registered trademarks owned by Bluetooth SIG, Inc. and any use of such marks by HARMAN International Industries, Incorporated is under license. Other trademarks and trade names are those of their respective owners. The terms HDMI, the HDMI logo, and High-Definition Multimedia Interface are trademarks or registered trademarks of HDMI Licensing LLC in the United States and other countries. Manufactured under license from Dolby Laboratories. Dolby, Dolby Audio, Pro Logic and the double-D symbol are trademarks of Dolby Laboratories.
TR04099_A
JBL Bar 3.1 Manual – Optimized PDF
JBL Bar 3.1 Manual – Original PDF



















