Bissell
Featherweight Turbo Vacuum
User Guide
2610 SERIES

IMPORTANT SAFETY INSTRUCTIONS
READ ALL INSTRUCTIONS BEFORE USING YOUR UPRIGHT VACUUM.
Always connect to a polarized outlet (one slot is wider than the other). Unplug from outlet when not in use and before conducting maintenance.
When using an electrical appliance, basic precautions should be observed, including the following:
WARNING
TO REDUCE THE RISK OF FIRE, ELECTRIC SHOCK OR INJURY:
- Always connect to a polarized outlet (one slot is wider than the other). Do not modify the polarized plug to fit a non-polarized outlet or extension cord.
- Do not leave vacuum cleaner when it is plugged in. Unplug from outlet when not in use and before servicing.
- Do not use outdoors or on wet surfaces.
- Do not allow to be used as a toy.
Close attention is necessary when used by or near children. - Do not use for any purpose other than described in this user guide.
Use only manufacturer’s recommended attachments. - Do not use with damaged cord or plug. If appliance is not working as it should, has been dropped, damaged, left outdoors, or dropped into water, have it repaired at an authorized service center.
- Do not pull or carry by cord, usecord as a Handle, close a door oncord, or pull cord around sharpedges or corners. Do not run appliance over cord. Keep cord away from heated surfaces.
- Do not unplug by pulling on cord. To unplug, grasp the plug, not the cord.
- Do not Handle plug or vacuum cleaner with wet hands.
- Do not put any object into openings. Do not use with any opening blocked; keep openings free of dust, lint, hair, and anything that may reduce air flow.
- Keep hair, loose clothing, fingers, and all parts of body away from openings and moving parts.
- Turn OFF all controls before plugging or unplugging vacuum cleaner.
- Use extra care when cleaning on stairs.
- Do not use to pick up flammable or combustible materials (lighter fluid, gasoline, kerosene, etc.)
or use in areas where they may be present. - Do not use vacuum cleaner in an enclosed space filled with vapors given off by oil-based paint, paint thinner, some moth-proofing substances, flammable dust, or
other explosive or toxic vapors. - Do not use to pick up toxic material (chlorine bleach, ammonia, drain cleaner, etc.).
- Do not pick up anything that is burning or smoking, such as cigarettes, matches or hot ashes.
- Do not use without filters in place.
- Do not pick up hard or sharp objects such as glass, nails, screws, coins, etc.
- Use only on dry, indoor surfaces.
- Keep appliance on a level surface.
- Do not carry the vacuum cleaner while it is running.
- Always turn OFF this appliance before connecting or disconnecting motorized nozzle.
SAVE THESE INSTRUCTIONS FOR FUTURE USE
This model is for household use only.
THIS APPLIANCE HAS A POLARIZED PLUG
To reduce the risk of electric shock, this appliance has a polarized plug (one blade is wider than the other). This plug will fit in a polarized outlet only one way. If the plug does not fit fully in the outlet, reverse the plug. If it still does not fit, contact a qualified electrician to install a proper outlet. Do not change the plug in any way.
Thanks for buying a BISSELL® vacuum!
We love to clean and we’re excited to share one of our innovative products with you. We want your vacuum to work like new for the years to come, so this guide has tips on how to use, maintain and, if there’s a problem, troubleshoot.
Your vacuum needs a little assembly before getting to work, so flip to the “Assembly” section and let’s get started!
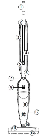
Product View
1. Hand Grip
2. Cord Wrap
3. Power Cord
4. Handle
5. Quick Release Handle
6. Hand Vacuum Grip
7. Power Switch
8. Dirt Tank Latch
9. Filter (inside Dirt Tank)
10. Dirt Tank
11. Removable Floor Nozzle
12. Model Number and Serial Number
13. Brush Roll
14. Floor Nozzle Latch
Using your Vacuum
WARNING
Do not operate vacuum with damp or wet filters or without all filters in place.

Power Cord Storage

Turn Vacuum OFF and unplug Power Cord by grasping the polarized plug, NOT the cord, and disconnecting it from the outlet.
Loop Power Cord around Cord Wraps on the Handle and clip the molded plug to Power Cord to secure.
Emptying the Dirt Tank
WARNING
- To reduce the risk of electrical shock, turn Power Switch OFF and disconnect polarized plug from
electrical outlet before performing maintenance or troubleshooting checks. - Do not operate vacuum with damp or wet filters or without all filters in place.

NOTE: The Dirt Tank may be rinsed with warm water and a mild detergent if needed.
The Dirt Tank must be thoroughly dried before replacing.
Cleaning the Filter

NOTE: After heavy usage, you may clean the Filter by washing it gently by hand in warm water and mild dish detergent. Rinse thoroughly and make certain it is completely dry before replacing it. If Filter is torn, replace it with a new Filter.
Cleaning the Brush Roll
WARNING
To reduce the risk of electrical shock, turn Power Switch OFF and disconnect polarized plug from electrical outlet before performing maintenance or troubleshooting checks.

Troubleshooting




















