
User Manual
Description: Canopy Rangehood
MODEL NO. RPT9
Model Variation 01/21

INTRODUCTION
Dear Customer,
We thank you for choosing this quality appliance and hope you enjoy many years of reliable service.
Please ensure this manual is read carefully before installation and use. If you follow the recommendations contained in this Instruction Manual, our appliance will give you constant high performance and will remain efficient for many years to come.
Keep this manual in a safe and accessible location should future references be required.
Regards
Home Appliance
SAFETY WARNINGS
WARNING!!
In certain circumstances, electrical appliances may be a dangerous hazard.
* Do not check the status of the filters while the cooker hood is operating.
* Do not touch the light bulbs during or immediately after appliance use.
* Do not disconnect the appliance with wet hands.
* Avoid naked flame, as it may damage the filters and be a fire hazard.
* Constantly check frying food to avoid that the overheated oil may becoming a fire hazard.
* Disconnect the electrical plug prior to any maintenance.
* Children don’t recognize the risks of electrical appliances. Therefore use or keep the appliance only under the supervision of adults and out of the reach of children.
* Don’t use this product outdoor.
* This appliance is not intended for use by persons (including children) with reduced physical, sensory or mental capabilities, or lack of experience and knowledge unless they have been given supervision or instruction concerning the use of the appliance by a person responsible for their safety.
Children should be supervised to ensure that they do not play with the appliance.
* There shall be adequate ventilation of the room when the range hood is used at the same time as appliances burning gas or other fuels.
* There is a fire risk if cleaning is not carried out in accordance with instructions.
* Do not leave bare flames under the range hood.
* The discharge air must not be discharged into a flue which is used for exhausting fumes from appliances burning gas or other fuels.
WARNING:
- Always switch off the electrical supply before carrying out any operation on the appliance.
- 2. Only a qualified and trained service technician can undertake the work of blubs replacement and servicing.
CAUTION:
- The surface and the cover of the lamp may be hot. TAKE CARE while replacing.
- Bulbs may be hot. Take care while replacing.
Replace lamp
- Take off the cap with a screwdriver.
- Remove the metal ring
- Replace the bulb with a 20-watt halogen light.

We recommend only using lamps of the same specification as the one being replaced.
RECOMMENDATIONS AND SUGGESTIONS
INSTALLATION
* The manufacturer will not be held liable for any damages resulting from incorrect or improper installation.
* Please read this instruction manual carefully before installing and using this range hood. Please keep this instruction manual in a safe place for future reference.
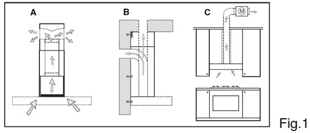
* This rangehood is designed to be used only in the Ducted Mode
* Only a qualified and trained service technician can undertake the work of the installation and servicing.
* Check that the mains voltage corresponds to the one indicated on the rating plate fixed inside the hood.
* Check that the domestic power supply guarantees adequate earthing.
* Do not connect the hood to exhaust ducts carrying combustion fumes (boilers, fireplaces, etc.)
* If the hood is used in conjunction with non-electrical appliances (e. g. gas burning appliances), a sufficient degree of ventilation must be guaranteed in the room in order to prevent the backflow of exhaust gas. The kitchen must have an opening directly with the open air in order to guarantee the entry of clean air.
* The minimum distance is 750mm from the cooker hood to a gas hob and is 650mm to an electric hob. If the installation instructions for gas/electric hobs specify a greater distance the same must be taken into account.
NOTICE: Considering the excessive weight, two or more people are required to install or move this appliance. Failure to do so can cause physical injuries and damage to the product.
OPERATION
* The rangehood has been designed only for domestic use to eliminate kitchen fumes.
* Never use the hood for purposes other than what it has been designed for.
* Never leave high naked flames under the hood when it is in operation.
* Adjust the flame intensity to direct it onto the bottom of the pan only to make sure that it does not engulf the pan sides.
* Deep fryer must be continuously monitored during use: overheated oil can burst into flame.
* The hood should not be used by children or persons not instructed on its correct usage.
MAINTENANCE
* Proper maintenance of the rangehood will assure proper performance of the unit.
* Disconnect the hood from the main supply before carrying out any maintenance work.
* Clean and/or replace grease filters after a specified period of time.
* Clean the hood using a damp cloth and a neutral liquid detergent.
* DISPOSAL: Do not dispose of this product as unsorted municipal waste.
Collection of such waste separately for special treatment is necessary.
CHARACTERISTICS
DIMENSIONS
Total height -1075mm
Width – 900mm
Depth – 480mm
![]() |
![]() |
COMPONENTS
| Ref | Qty | Components |
| 1 | 2/3pcs | Grease filter |
| 2 | 1 pcs | Hood body |
| 3 | 2pcs | steel bolt |
| 4 | 3pcs | Cross self-drill bolt |
| 5 | 1 pcs | Exhaust |
| 6 | 1 pcs | Exterior chimney |
| 7 | 1 pcs | Inner chimney |
| 8 | 2pcs | Cross discal thread bolt |
| 9 | 1 pcs | Fixing frame |
| 10 | 2pcs | Cross discal bolt-big head |
| 11 | 2pcs | Flat rubber band |
| 12 | 2pcs | Plastic distensible sleeve |
| Ref | Qty | Documentations |
| 13 | 1pc | Instruction Manual |
| 14 | 1 pc | Warranty Card |
INSTALLATION & USE
Note 1: Carefully remove the protective film from chimney and front panel
prior to final installation.
Note 2: At least two people will be required to mount the hood.
FIXING TO THE WALL

- Drill the holes according to the distances indicated (Fig.2).
- Fix the appliance to the wall and align it in a horizontal position to the wall units.
- When the appliance has been adjusted, fix the hood using the screws A.
For the various installations use screws and screw anchors suited to the type of wall (e.g. reinforced concrete, plasterboard, etc.). If the screws and screw anchors are provided with the product, kindly check the screws are suitable for the type of wall in which the hood is to be fixed.

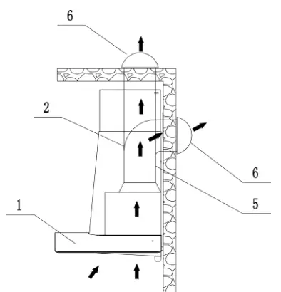
Fixing Chimney
- Arrange the electrical power supply within the dimensions of the chimney.
If your appliance is to be installed in the ducting version or in the version with an external motor, prepare the air exhaust opening. - Adjust the width of the support bracket of the exterior chimney (Fig.3).
Then fix it to the ceiling using the screws A (Fig.2) make sure that it is in line with your hood and respect the distance from the ceiling indicated in Fig.2.
Connect the flange C to the air exhaust hole using a connection pipe (Fig.4).

DUCT FIXING
Caution: To reduce the risk of fire, recommend using aluminum ductwork.
- Attach an adequate length of φ150mm round duct into the recessed area of the air outlet adapter.
- The duct has to be secured using two screws from two sides of the air outlet adapter. Make sure the duct is fixed well on.

DESCRIPTION / CONNECTIONS
Ducted mode air exhaust system
The hood draws the cooking fumes saturated with fumes and odor through the grease filters and expels it to the outside through an outlet pipe.
Caution: To reduce the risk of fire, use metal ductwork only.
- Decide where the ductwork will run between the hood and the outside.
- A straight, short duct run will allow the hood to perform most efficiently.
- Long duct runs, elbows, and transitions will reduce the performance of the hood. Use as few of them as possible. Larger ducting may be required for best performance with longer duct runs.
- Attach an adequate length of φ150mm round duct to the air outlet adapter.
Let the exhaust run for a minimum of 1 meter in a Straight line in between bends/elbows for better efficiency. - The air must not be discharged into a flue that is used for exhausting fumes from appliances burning gas or other fuels” “Regulations concerning the discharge of air have to be fulfilled.
- Install a roof/wall ducting kit. Connect round metal ductwork to cap and work back towards the hood location. Use duct tape to seal the joints between ductwork sections.
Electrical Connection
* Electrical wiring must be done by a qualified person(s) in accordance with all applicable codes and standards. Turn off electrical power at the service entrance before wiring.
* If the supply cord is damaged, it must be replaced by the manufacturer, its service agent, or similarly qualified persons in order to avoid a hazard.
* Do not use the plug and an extension cord other than the ones initially supplied with the hood.
* The earthing of this hood is compulsory. Do not remove the ground prong of the plug.
OPERATION OF CONTROLS

A= Timer (automatic shut off)
B= Speed 1 / adjust / switch off
C= digital display screen (showing timer and speed)
D= Speed 3 / adjust / switch off
E= Light
When key A is being pressed, the digital display screen will show “15 minutes” for the timer where as the minutes can be adjusted by pressing “+” or “-” on keys B and D. When the first speed is on, pressing key A once to switch off, the digital display will shows “00” on the screen.
When key B is being pressed, it shows “1” on the digital display screen at the same time the first speed is on. By pressing key B again to switch off, the digital display will show “00” on the screen.
When key D is being pressed, it shows “3” on the digital display screen at the same time the third speed is on. By pressing key D again to switch off, the digital display will show “00” on the screen.
The second speed “2” and Turbo speed “4” can be adjusted by pressing key B or D. When key E is being pressed, the light will on, by pressing key E again is to switch off the light.
If the motor and light are operating together or only the motor is working, pressing key A, automatic switch-off timer mode will get on. In another word, the unit will delay 15 minutes to turn off the motor and the light. To press key B or key D is to adjust the time, whereas to press key A again is to stop the timer.
MAINTENANCE
Switch off or unplug the appliance from the main supply before carrying out any maintenance work.
GREASE FILTER
* The grease filters should be cleaned frequently (every two months of operation, or more frequently for heavy use). Use a warm detergent solution.
* Grease filters are washable.
- Remove the grease filter by pressing the latch on the filter (Fig5). This will disengage the filter from the hood. Tilt the filter downward and remove it.
- Wash the filters, taking care not to bend them. Allow them to be dry before refitting.
- To install the grease filter, press the latch on the filter again. Make sure the filter is securely engaged after assembly.
GREASE FILTER CLEANING
* Remove the filters from the cooker hood and wash them in a solution of water and neutral liquid detergent, leaving to soak.
*Rinse thoroughly with warm water and leave to dry.
*The filters may also be washed in the dishwasher.
* Please take note that the aluminum panels may alter in color after several washes.
Hood Cleaning
Glass and aluminum are two of the easiest materials to keep clean.
Occasional care will help preserve its fine appearance. Cleaning tips:
* Hot water with soap or detergent is all that is usually needed.
* Follow all cleaning by rinsing with clear water. Wipe dry with a clean, soft cloth to avoid watermarks.
* For discolorations or deposits that persist, use a non-scratching household cleanser or stainless steel polishing powder with a little water and a soft cloth.
* For stubborn cases use a plastic scouring pad or soft bristle brush together with cleanser and water. Rub lightly in direction of polishing lines or “grind” the aluminum finish. Avoid using too much pressure that may mar the surface.
* Do not allow deposits to remain for long periods of time.
* Do not use ordinary steel wool or steel brushes. Small bits of steel may adhere to the surface causing rust.
* Do not allow salt solutions, disinfectants, bleaches, or cleaning compounds to remain in contact with an aluminum finish for extended periods. Many of these compounds contain chemicals that may be harmful. Rinse with water after exposure and wipe dry with a clean cloth.
* Painted surfaces should be cleaned with warm water and mild detergent only.
PRODUCT SPECIFICATION & TECHNICAL PARAMETERS
| Model | RPT9 |
| Rated Voltage | 220-240V |
| Rated Power Frequency | 50Hz |
| Light Power | 2x2W |
| Motor Power | 320W |
| Total Power | 324W |
| Maximum suction | 900m3/hr |
| Diameter of Exhaust Pipe | 150mm |
| Product Dimension (mm) | L 900 x W 480 x H 600-1075 |
| Net Weight | 17kg |
| Gross Weight | 22kg |
TROUBLESHOOTING
In case if the Cooker Hood is not working or working improperly, before calling the after-sales service, switching off the appliance, unplugging the power supply and refer to the guide below to determine the problem
S.No. | Status | Reasons | Solutions |
| 1 | Lamp doesn’t work | Power supply not connected | Check if the power cord is properly connected or not |
| Lamp is damaged | Call consumer service for support | ||
| 2 | Hood gives out loud noise | Filter not properly fitted | Remove and refit the filters in its place |
| The Hood is not installed properly | Call consumer service for support | ||
| 3 | The air exhaust performance is bad | Distance between Hood and Hob is too high | Call consumer service for support |
| Filter is choked | Clean filter and refit in its place | ||
| Duct is damaged | Call consumer service for support |
READ THE INSTRUCTION BOOKLET BEFORE INSTALLING AND USING THE APPLIANCE.
The manufacturer will not be responsible for any damage to property or to persons caused by incorrect installation or improper use of the appliance.
The manufacturer is not responsible for any inaccuracies, due to printing or transcription errors, contained in this manual. In addition, the appearance of the figures reported is also purely indicative.
The manufacturer reserves the right to make changes to its products when considered necessary and useful, without affecting the essential safety and operating characteristics. Glen Dimplex constantly seeks ways to improve the specifications and designs of its products.
Whilst every effort is made to produce up-to-date literature, this document should not be regarded as an infallible guide. Actual products only should be used to derive cut-out sizes. All appliances must be installed by a qualified person/s with adherence to the relevant electrical, plumbing, and building codes, with compliance being issued as required by state or national legislation.
Additionally, all upright cookers must have the anti-tilt device installed correctly in adherence to the relevant standards by a licensed installer. For maximum effectiveness and efficiency, all range hoods should be installed with the use of ductwork, by a licensed installer with adherence to the relevant state and national building codes and regulations.
All Glen Dimplex appliances are for Domestic use only and must be installed by a licensed installer into Domestic Applications only, without exception and to the required Authorities’ guidelines. Any installation outside of this will VOID the warranty. Alfresco areas are not a Domestic application.
| Glen Dimplex Australia Pty Ltd www.glendimplex.com.au | Glen Dimplex New Zealand Ltd www.glendimplex.co.nz |
For service advice, please contact the Customer Care Centre by phone or email below.
| Australia Ph: 1300 556 816 [email protected] | New Zealand Ph: 09 274 8265 [email protected] |
euromaid.com.au
VERSION 20210208




















