Acer Nitro EI272URP LCD Monitor Owner’s Manual
Copyright © 2021. Acer Incorporated.
All Rights Reserved.
Acer LCD Monitor User Guide
Original Issue: 06/2021
Changes may be made periodically to the information in this publication without obligation to notify any person of such revisions or changes. Such changes will be incorporated in new editions of this manual or supplementary documents and publications. This company makes no representations or warranties, either expressed or implied, with respect to the contents hereof and specifically disclaims the implied warranties of merchantability or fitness for a particular purpose.
Record the model number, serial number, purchase date and place of purchase information in the space provided below. The serial number and model number are recorded on the label affixed to your computer. All correspondence concerning your unit should include the serial number, model number and purchase information.
No part of this publication may be reproduced, stored in a retrieval system, or transmitted, in any form or by any means, electronically, mechanically, by photocopy, recording or otherwise, without the prior written permission of Acer Incorporated.
Model number: ___________________________________
Serial number: ___________________________________
Date of purchase: _________________________________
Place of purchase: ________________________________
Acer and the Acer logo are registered trademarks of Acer Incorporated. Other companies’ product names or trademarks are used herein for identification purposes only and belong to their respective companies.
Information for Your Safety and Comfort
Safety instructions
Read these instructions carefully. Keep this document for future reference. Follow all warnings and instructions marked on the product.
Special notes on LCD monitors
The following are normal with the LCD monitor and do not indicate a problem.
- Due to the nature of the fluorescent light, the screen may flicker during initial use. Turn off the power switch and then turn it on again to make sure the flicker disappears.
- You may find slightly uneven brightness on the screen depending on the desktop pattern you use.
- The LCD screen has 99.99% or more effective pixels. It may include blemishes of 0.01% or less such as a missing pixel or a pixel lit all the time.
- Due to the nature of the LCD screen, an afterimage of the previous screen may remain after switching the image, when the same image is displayed for hours. In this case, the screen is recovered slowly by changing the image or turning off the power switch for a few hours.
Cleaning your monitor
Please carefully follow these guidelines when cleaning the monitor:
- Always unplug the monitor before cleaning.
- Use a soft cloth to wipe the screen and cabinet front and sides.
Accessibility
Be sure that the power outlet you plug the power cord into is easily accessible and located as close to the equipment operator as possible. When you need to disconnect power from the equipment, be sure to unplug the power cord from the electrical outlet.
Safe listening
To protect your hearing, follow these instructions.
- Gradually increase the volume until you can hear it clearly and comfortably and without distortion.
- After setting the volume level, do not increase it after your ears have adjusted.
- Limit the amount of time listening to music at high volume.
- Avoid turning up the volume to block out noisy surroundings.
- Turn the volume down if you can’t hear people speaking near you.
Warnings
- Do not use this product near water.
- Do not place this product on an unstable cart, stand or table. If the product falls, it could be seriously damaged.
- Slots and openings are provided for ventilation to ensure reliable operation of the product and to protect it from overheating. These openings must not be blocked or covered. The openings should never be blocked by placing the product on a bed, sofa, rug or other similar surface. This product should never be placed near or over a radiator or heat register, or in a built-in installation unless proper ventilation is provided.
- Never push objects of any kind into this product through cabinet slots as they may touch dangerous voltage points or short-out parts that could result in a fire or electric shock. Never spill liquid of any kind onto or into the product.
- To avoid damage of internal components and to prevent battery leakage, do not place the product on a vibrating surface.
- Never use it under sporting, exercising, or any vibrating environment which will probably cause unexpected short current or damage internal devices.
Using electrical power
- This product should be operated from the type of power indicated on the marking label. If you are not sure of the type of power available, consult your dealer or local powercompany.
- If an extension cord is used with this product, make sure that the total ampere rating of the equipment plugged into the extension cord does not exceed the extension cord ampere rating. Also, make sure that the total rating of all products plugged into the wall outlet does not exceed the fuse rating.
- Do not overload a power outlet, strip or receptacle by plugging in too many devices. The overall system load must not exceed 80% of the branch circuit rating. If power strips are used, the load should not exceed 80% of the power strip’s input rating.
Note: The grounding pin also provides good protection from unexpected noise produced by other nearby electrical devices that may interfere with the performance of this product.
Product servicing
Do not attempt to service this product yourself, as opening or removing covers may expose you to dangerous voltage points or other risks. Refer all servicing to qualified service personnel.
Unplug this product from the wall outlet and refer servicing to qualified service personnel when:
- the power cord or plug is damaged, cut or frayed
- liquid was spilled into the product
- the product was exposed to rain or water
- the product has been dropped or the case has been damaged
- the product exhibits a distinct change in performance, indicating a need for service
- the product does not operate normally after following the operating instructions
Note: Adjust only those controls that are covered by the operating instructions, since improper adjustment of other controls may result in damage and will often require extensive work by a qualified technician to restore the product to normal condition.
Potentially explosive environments
Switch off your device in any area with a potentially explosive atmosphere and obey all signs and instructions. Potentially explosive atmospheres include areas where you would normally be advised to turn off your vehicle engine. Sparks in such areas could cause an explosion or fire resulting in bodily injury or even death. Switch off the device near gas pumps at service stations. Observe restrictions on the use of radio equipment in fuel depots, storage and distribution areas; chemical plants; or where blasting operations are in progress. Areas with a potentially explosive atmosphere are often, but not always, marked. They include below deck on boats, chemical transfer or storage facilities, vehicles using liquefied petroleum gas (such as propane or butane), and areas where the air contains chemicals or particles such as grain, dust or metal powders.
Additional safety information
Your device and its enhancements may contain small parts. Keep them out of the reach of
small children.
IT Equipment Recycling Information
Acer is strongly committed to environmental protection and views recycling, in the form of salvaging and disposal of used equipment, as one of the company’s top priorities in minimizing the burden placed on the environment.
We at Acer are very conscious of the environmental effects of our business and strive to identify and provide the best working procedures to reduce the environmental impact of our products.
For more information and help when recycling, please go to this website:
https://www.acer-group.com/sustainability/en/our-products-environment.html
Visit www.acer-group.com for further information on the features and benefits of our other products.
Disposal instructions

Do not throw this electronic device into the trash when discarding. To minimize pollution and ensure utmost protection of the global environment, please recycle. For more information on the Waste from Electrical and Electronics Equipment (WEEE) regulations, visit https://www.acer-group.com/sustainability/en/our-products-environment.html
Acer monitor is purposed for video and visual display of information obtained from electronic devices.
LCD pixel statement
The LCD unit is produced with high-precision manufacturing techniques. Nevertheless, some pixels may occasionally misfire or appear as black or red dots. This has no effect on the recorded image and does not constitute a malfunction.
This product has been shipped enabled for power management:
- Activate display’s Sleep mode within 5 minutes of user inactivity.
- Wake the monitor when it is in Active Off mode, move the mouse or press any keyboard key.
Tips and information for comfortable use
Computer users may complain of eyestrain and headaches after prolonged use. Users are also at risk of physical injury after long hours of working in front of a computer. Long work periods, bad posture, poor work habits, stress, inadequate working conditions, personal health and other factors greatly increase the risk of physical injury.
Incorrect computer usage may lead to carpal tunnel syndrome, tendonitis, tenosynovitis or other musculoskeletal disorders. The following symptoms may appear in the hands, wrists, arms, shoulders, neck or back:
- aching, soreness or tenderness
- pain, swelling or throbbing
- stiffness or tightness
- coldness or weakness
If you have these symptoms, or any other recurring or persistent discomfort and/or pain related to computer use, consult a physician immediately and inform your company’s health and safety department.
The following section provides tips for more comfortable computer use.
Finding your comfort zone
Find your comfort zone by adjusting the viewing angle of the monitor, using a footrest, or raising your sitting height to achieve maximum comfort. Observe the following tips:
- refrain from staying too long in one fixed posture
- avoid slouching forward and/or leaning backward
- stand up and walk around regularly to remove the strain on your leg muscles
Taking care of your vision
Long viewing hours, wearing incorrect glasses or contact lenses, glare, excessive room lighting, poorly focused screens, very small typefaces and low-contrast displays could stress your eyes. The following sections provide suggestions on how to reduce eyestrain. Eyes
- Rest your eyes frequently.
- Give your eyes regular breaks by looking away from the monitor and focusing on a distant point.
- Blink frequently to keep your eyes from drying out.
Display
- Keep your display clean.
- Keep your head at a higher level than the top edge of the display so your eyes point downward when looking at the middle of the display.
- Adjust the display brightness and/or contrast to a comfortable level for enhanced text readability and graphics clarity.
- Eliminate glare and reflections by:
- placing your display in such a way that the side faces the window or any light source
- minimizing room light by using drapes, shades or blinds
- using a task light
- changing the display’s viewing angle
- using a glare-reduction filter
- using a display visor, such as a piece of cardboard extended from the display’s top front edge
- Avoid adjusting your display to an awkward viewing angle.
- Avoid looking at bright light sources, such as open windows, for extended periods of time.
Developing good work habits
Develop the following work habits to make your computer use more relaxing and productive:
- Take short breaks regularly and often.
- Perform some stretching exercises.
- Breathe fresh air as often as possible.
- Exercise regularly and maintain a healthy body
Never place a LCD Monitor in an unstable location. A LCD Monitor may fall, causing serious personal injury or death. Many injuries, particularly to children, can be avoided by taking simple precautions such as:
- Using cabinets or stands recommended by the manufacturer of the LCD Monitor.
- Only using furniture that can safely support the LCD Monitor.
- Ensuring the LCD Monitor is not overhanging the edge of the supporting furniture.
- Not placing the LCD Monitor on tall furniture (for example, cupboards or bookcases) without anchoring both the furniture and the LCD Monitor to a suitable support.
- Not placing the LCD Monitor on cloth or other materials that may be located between the LCD Monitor and supporting furniture.
- Educating children about the dangers of climbing on furniture to reach the LCD Monitor or its controls.
If the existing LCD Monitor is going to be retained and relocated, the same considerations as above should be applied.
Declaration of Conformity

We,
Acer Incorporated
8F, 88, Sec. 1, Xintai 5th Rd., Xizhi, New Taipei City 221, Taiwan, R.O.C
And,
Acer Italy s.r.l.
Viale delle Industrie 1/A, 20020 Arese (MI), Italy
Tel: +39-02-939-921, Fax: +39-02 9399-2913
www.acer.it
Product: LCD Monitor
Trade Name: acer
Model Number: EI272UR
SKU Number: EI272UR XXXXXX (“x” = 0~9, a ~ z, A ~ Z, or blank)
We, Acer Incorporated, hereby declare under our sole responsibility that the product described above is in conformity with the relevant Union harmonization legislations as below Directive and following harmonized standards and/or other relevant standards have been applied:
- EMC Directive: 2014/30/EU
- EN55032:2015+AC:2016 Class B
- EN61000-3-2:2014 Class D
- EN 55024:2010+A1:2015
- LVD Directive: 2014/35/EU
- EN62368-1:2014+A11:2017
- RoHS Directive: 2011/65/EU
- EN 50581:2012
- ErP Directive: 2009/125/EC
- (EU)2019/2021; EN 50564:2011
- EN61000-3-3:2013
Year to begin affixing CE marking: 2021.

RU Jan / Manager
Acer Incorporated (Taipei, Taiwan)
Jun. 21, 2021
Date

Acer America Corporation
333 West San Carlos St.
Suite 1500
San Jose, CA 95110
U.S.A
Tel. 1-254-298-4000
Fax. 1-254-298-4147
www.acer.com

Federal Communications Commission Declaration of Conformity
This device complies with Part 15 of the FCC Rules. Operation is subject to the following two conditions: (1) this device may not cause harmful interference, and (2) this device must accept any interference received, including interference that may cause undesired operation.
The following local Manufacturer / Importer is responsible for this declaration:

PACKAGE CONTENTS
Please check the following items are present when you unpack the box, and save the packing materials in case you will need to ship or transport the monitor in future.
LCD Monitor
AC Power Cord
DP Cable (Optional)
HDMI Cable (Optional)
Adaptor
Quick Start Guide
Attaching the monitor to the base
- Unpack the box. Take out the Styrofoam side by side and set flat on the desktop.

- Take the LCD monitor out of the box carefully and put it on the side by side Styrofoam.

- Press up the quick release button as illustrated to remove rotary shaft cover.

- Tighten the rotary shaft, base and stan arm with three screws. (There will be one spare screw left.)

- Attach the base of step 4 to the quick release notch of the LCD monitor securely.

- Flip the LCD monitor over to make it stan upright on the desk where it will be used. (Note: Do NOT press the screen to avoid damage any time.)

Attaching the monitor on the wall
- Remove the original screws x 4 Fig 1 from the opening back of the monitor.

- Tighten the 4pcs NO.2 screws as Fig 2

- Connect the monitor onto the wall

Remark:
- Please use only the NO. 2 Screws (35 mm x 4 pcs) provided with this type of installation.
- Please check monitor weight in advance to choose suitable load capacity of VESA arm stand.
- Do not discard the original screws as these may be needed for future use.
SCREEN POSITION ADJUSTMENT
To optimize the viewing position, you can adjust the monitor tilt by using both of your hands to hold the edges of the monitor. The monitor can be adjusted to 15 degrees up or 5 degrees down.
Note: Do NOT press the screen with fingers.
Do NOT grasp the corners or the left and right sides of the monitor to adjust tilt.
CONNECTING THE POWER CORD
- This monitor has a universal power supply that allows operation in either 100/120V AC or 220/240 V AC voltage area. No user-adjustment is required.
Connecting the adapter and AC Power cord
- Check first to make sure that the power cord you use is the correct type required for your area.
- The monitor has a universal power supply that allows operation in either 100/120 V AC or 220/240 V AC voltage area. No user-adjustment is required.
- Plug one end of the AC power cord to the Adapter, and plug the other end into an AC outlet.
- For units using 120 V AC:
- Use a UL-listed cord set, type SVT wire and plug rated 10 A/125 V.
- For units using 220/240 V AC:
- Use a cord set consisting of H05VV-F cord and plug rated 10 A/250 V. The cord set should have the appropriate safety approvals for the country in which the equipment will be installed.
POWER SAVING
The power saving states will be kept until a control signal has been detected or the keyboard or mouse is activated. The recovery time from Active OFF state back to ON state is around 3 seconds.
| State | LED Light |
| ON | Blue |
| Power Saving | Blinking Blue |
Display Data Channel (DDC)
To make your installation easier, the monitor is able to Plug and Play with your system if your system also supports DDC protocol. The DDC (Display Data Channel) is a communication protocol through which the monitor automatically informs the host system about its capabilities, for example, supported resolutions and corresponding timing. The monitor supports DDC2B standard.
20-Pin Color Display Signal Cable
| PIN NO. | DESCRIPTION | PIN NO. | DESCRIPTION |
| 1 | ML_Lane 0+ | 2 | GND |
| 3 | ML_Lane 0- | 4 | ML_Lane 1+ |
| 5 | GND | 6 | ML_Lane 1- |
| 7 | ML_Lane 2+ | 8 | GND |
| 9 | ML_Lane 2- | 10 | ML_Lane 3+ |
| 11 | GND | 12 | ML_Lane 3- |
| 13 | GND | 14 | GND |
| 15 | AUX CH+ | 16 | GND |
| 17 | AUX CH- | 18 | Hot Plug |
| 19 | Return | 20 | DP_PWR |
19-Pin Color Display Signal Cable
| PIN NO. | DESCRIPTION | PIN NO. | DESCRIPTION |
| 1 | DATA2- | 2 | GND |
| 3 | DATA2+ | 4 | DATA1- |
| 5 | GND | 6 | DATA1+ |
| 7 | DATA0- | 8 | GND |
| 9 | DATA0+ | 10 | DCLK- |
| 11 | GND | 12 | DCLK+ |
| 13 | NG | 14 | NG |
| 15 | HDMI_SCL | 16 | HDMI_SDA |
| 17 | HDMI_DET | 18 | HDMI15V |
| 19 | HDMI_HPD |
STANDARD TIMING TABLE
| Mode | Resolution | |
| VGA | 640 x 480 | 60 Hz |
| 640 x 480 | 72 Hz | |
| 640 x 480 | 75 Hz | |
| MAC | 640 x 480 | 66.66 Hz |
| VESA | 720 x 400 | 70 Hz |
| SVGA | 800 x 600 | 56 Hz |
| 800 x 600 | 60 Hz | |
| 800 x 600 | 72 Hz | |
| 800 x 600 | 75 Hz | |
| MAC | 832 x 624 | 74.55 Hz |
| XGA | 1024 x 768 | 60 Hz |
| 1024 x 768 | 70 Hz | |
| 1024 x 768 | 75 Hz | |
| SXGA | 1280 x1024 | 60 Hz |
| 1280 x1024 | 75 Hz | |
| VESA | 1280 x 720 | 60 Hz |
| 1280 x 960 | 60 Hz | |
| WXGA+ | 1440 x 900 | 60 Hz |
| WSXGA+ | 1680 x 1050 | 60 Hz |
| FHD | 1920 x 1080 | 60 Hz |
| 1920 x 1080 | 120 Hz | |
| QHD | 2560 x 1440 | 60 Hz |
| 2560 x 1440 | 120 Hz | |
| 2560 x 1440 | 144 Hz | |
Note: 1. DP (1.2): 2560×1440 supports up to 144Hz, FreeSync Premium Pro and HDR technology.
HDMI (2.0): 2560×1440 supports up to 144Hz, FreeSync Premium Pro and
HDR technology.
HDMI (1.4): 2560×1400 supports up to 60Hz.
Connecting Your Monitor to a Computer
- Make sure both the monitor and computer are powered-OFF.
- Connect DP Cable (Only DP-input model)
a. Make sure both the monitor and computer are powered-OFF.
b. Connect the DP cable to the computer. - Connect HDMI Cable (Only HDMI-input model)
a. Make sure both the monitor and computer are powered-OFF.
b. Connect the HDMI cable to the computer. - Plug the power cords of your computer and your monitor into a nearby electrical outlet.

Note:
- The audio output function depends on models. Please refer to User’s Guide for more information.
- DP (1.2): 2560×1440 supports up to 144Hz, FreeSync Premium Pro and HDR technology.
HDMI (2.0): 2560×1440 supports up to 144Hz, FreeSync Premium Pro and
HDR technology.
HDMI (1.4): 2560×1400 supports up to 60Hz.
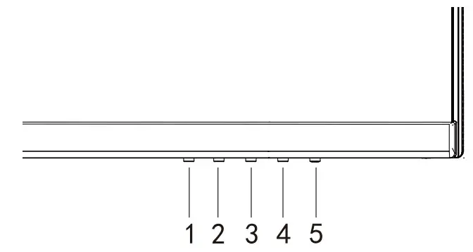
External Controls

| No. | Icon | Item | Description |
| 1 | ![]() | Mode / Exit | a. Press to trigger Mode control.b. When the OSD menu is enabled, press to exit the current menu and go back one level. |
| 2 | ![]() | Brightness / Enter | a. Press the key to open the Brightness control.b. When the OSD menu is enabled, press to enter to next level. |
| 3 | ![]() | Input button/+ | a. Press to toggle input sources.b. When the OSD menu is enabled, press to select or return to the previous menu. |
| 4 | ![]() | OSD functions/- | a. Press to view the OSD.b. When the OSD menu is enabled, press to select or go to the next menu. |
| 5 | POWER | Power button | Turns the monitor on/off. Blue indicates power on.Blinking Blue indicates standby mode. |
FreeSync Premium Pro(HDMI1/DP Only):
It can allow a FreeSync Premium Pro supported graphics source to dynamically adjust display refresh rate based on typical content frame rates for power efficient, virtually stutter free and low-latency display.
The following content is for general reference only. Actual product specifications may vary.
The OSD (On Screen Display) can be used to adjust the settings of your LCD monitor. Press the key to open the OSD. You can use the OSD to adjust the picture quality, OSD position and general settings. For advanced settings, please refer to following page:
Main page
A. Mode
B. Hot Key1: Brightness, Volume, Gamma, Contrast, Blue Light, Over Drive, PIP/PBP
C. Hot Key2: Brightness, Volume, Gamma, Contrast, Blue Light, Over Drive, PIP/PBP
D. Main Menu
Mode
To choose scenario mode (G1, G2, G3) which user-defined profile to use or scenario mode (User, Standard, ECO, Graphics, HDR)
Hot key1 (default: Brightness)
Open the Brightness control and select the brightness setting. When you are done, use to go back one level.
Hot key2 (default: Input)
Open the Input control and select DP or HDMI input source. When you are done, use to go back one level.
The Function page
Open the Function page to select a menu function, and adjust the settings which you want using the arrows. You can also view your monitor’s system information from this page. When you are done, use to go back one level.
- Press the Main Menu key to open the OSD.
- Use direction key to the up or down to select Picture from the OSD. Then press Enter to go into the element you wish to adjust.
- Use direction key to the left or right to adjust the sliding scales.
Picture
- Press the MENU key to bring up the OSD.
- Using the
button, select Picture from the OSD. Then navigate to the setting you wish to change. - Use the
keys to adjust the sliding scales. - Open the Picture page to adjust Brightness, Contrast, Black boost, Blue Light, ACM, HDR and Super Sharpness.
- Brightness: Adjust the brightness from 0 to 100.
Note: Adjusts the balance between light and dark shades. - Contrast: adjust the contrast from 0 to 100.
Note: Sets the degree of difference between light and dark areas. - Black Boost: This boosts the amplitude of the dark color levels of the display– blacks will be less black. The higher the level, the higher the boost.
Note: If the image is too bright or has few shadowed areas, to adjust this setting will not cause any significant changes to the image. - Blue Light: filter out blue light by adjusting different Blue Light showing ratio – 80%, 70%, 60%, 50%.
Note: Higher values allow more blue light through. For the best protection, select a lower value. - ACM: Turn ACM on or off. The default is off.
- HDR: Turn HDR on or off. The default is off.
- Super Sharpness technology can simulate high-resolution images by boosting the pixel density of the original source. It can make images sharper and clear.
Color


- Press the MENU key to open the OSD.
- Using the
button, select Color from the OSD. Then navigate to the setting you wish to adjust. - Use the
button to select the setting. - Gamma mode allows you to adjust the luminance tone. The default value is 2.2 (standard value for Windows).
- Color temperature: Default is warm. You can choose Normal, User, Bluelight, Cool and Warm.
- Modes: Select your preferred mode from Action, Racing, Sports, User, Standard, ECO, Graphics and HDR
- Color Space: You can choose Standard, SMPTE-C, DCI, EBU, HDR, Rec.709 or sRGB.
Note:- If Color Space is “HDR”, then Modes is set to “HDR” automatically.
- If Color Space not “HDR”, then Modes is set to “Standard”
- Grayscale Mode: Turn grayscale mode On or Off. The default is off.
- 6-axis Hue: Adjust the red, green, blue, yellow, magenta and cyan hue.
- 6-axis Saturate: Adjust the red, green, blue, yellow, magenta and cyan saturation.
Audio
- Press the MENU key to open the OSD.
- Using the
button, select Audio from the OSD. Then navigate to the setting you wish to adjust. - Use the
button to select the setting. - Volume: Adjusts the volume.
- Mute: Select On or Off.
Gaming

- Press the MENU key to open the OSD.
- Using the
button, select Gaming from the OSD. Then navigate to the setting you wish to adjust. - Use the
button to select the setting. - Over Drive: Select Off, Normal, or Extreme.
- FreeSync Premium Pro: Default is On, can choose Off.
Note:- If FreeSync Premium Pro is “On” , then the Over Drive selection is set to “Normal” automatically.
- If FreeSync Premium Pro is “OFF”, then the user can set Over Drive to
either one of the three settings including: (a) Extreme (b) Normal (c) Off. - DP and HDMI1 support “FreeSync Premium Pro”.
- If FreeSync Premium Pro is set to “On”, please note that the screen might
flicker during use. - The following situations may happen when playing games with FreeSync Premium Pro enabled:
- Depending on the type of graphic cards, the game settings, and the video you are playing, a flickering screen may occur. Please try to set current FreeSync Premium Pro mode to “Off “, or visit the official AMD website to update the graphic card’s driver.
- When using FreeSync Premium Pro, the screen may flicker due to different output frequencies of the graphics card.
- When FreeSync Premium Pro is set to “On ” , changing the resolution may result in screen-tearing. It is recommended to set FreeSync Premium Pro to “Off” and then change the resolution.
- Refresh Rate Num: Display the panel’s current refresh rate on the screen.
Note: If FreeSync Premium Pro set “On” you can see the V Frequency to changes in the OSD. - Aim Point: Show an Aim point on the screen for shooting games.
OSD

- Press the MENU key to open the OSD.
- Using the
button, select System from the OSD. Then navigate to the setting you wish to adjust. - Use the
button to select the setting. - Language: Set the OSD menu language.
- OSD Timeout: Adjust the delay before turning the off the OSD menu.
- Transparency: Select the transparency when using gaming mode. The transparency can be 20%, 40%, 60%, 80%, or Off.
- OSD Lock: OSD Lock function is used to prevent OSD button from being pressed accidentally.
Note:- OSD Locked:
Set the OSD Lock to “On” from the OSD and press “Enter”.
The “OSD Locked” message will appear in the middle of the screen, and LED lights will indicate as blinking blue. When pressing any key, “OSD Locked” message will be prompted. - OSD Unlocked:
Press the second OSD key continuously for 3 seconds to unlock OSD. The “OSD Unlocked” message will appear in the middle of the screen, and LED lights will turn into blue.
- OSD Locked:
System


- System menu can be used to select signal input sources and other important settings, including input types and PIP/PBP features.
- Press the MENU key to open the OSD.
- Using the
button, select OSD from the OSD. Then navigate to the setting you wish to adjust. - Use the
button to select the setting. - Input: Select the source from DP or HDMI input source. The options are HDMI1[2.0], HDMI2[1.4], HDMI3[1.4] and DP.
- Auto Source: Automatically searches for available input sources.
- DP Format: You can select which DP format you are using. The default is set at DP1.2.
- Wide Mode: You can select which screen aspect you are using. The options are Aspect, 1:1, 21:9 and Full.
- PIP/PBP: Open and use the same display to display two signals simultaneously – PIP and PBP.
Note: PIP/PBP is not supported while FreeSync Premium Pro is “On” - Hot Key Assignment: Select the function of Hot Key 1 or Hot Key 2.
- DDC/CI: Allows the monitor settings to be set through the software on the PC.
Note: DDC/CI, short for Display Data Channel/Command Interface, which allows monitor controls to be sent via software. - HDMI Black Level: You can select the level of blackness under HDMI source.
- Quick Start Mode: Select Off or On. The default is “Off”. Turn on to speed up boot speed.
Product information

- Press the MENU key to open the OSD.
- Using the
keys, select Information to view the basic information for your monitor and current input. - Reset All Settings: Reset all settings to the factory defaults.
Save Setting to…(User mode only)

- Press the MENU key to open the OSD.
- Using the
button, select “Save Setting to…” from the OSD. Then select the preferred mode. - Save Setting to Game mode: There are three user-defined profiles available (Action, Racing and Sports). Save your customized settings to the Game mode in order to implement those settings automatically when you select it afterwards.
TROUBLESHOOTING
Before sending your LCD monitor for servicing, please check the troubleshooting list below to see if you can self-diagnose the problem.
HDMI/DP Mode (Optional)
| Problems | Current Status | Remedy |
| No Picture | Blue | Using OSD, adjust brightness and contrast to maximum or reset to their default settings. |
| Blinking Blue | Check if signal cable is properly connected, which can be determined by plugging and unplugging the cable. Check if the PC is functioning properly or in the Hibernate mode. To wake the PC from Sleep mode, you can click the mouse or tap any key on the keyboard. | |
| LED OFF | Check the power switch. Check if AC power cord is properly connected to the monitor. |

Product Information for EU Energy Label































