VITEK VT-2574 Hair Clipper

HAIR CLIPPER VT-2574
The hair clipper VT-2574 is a part of the hair clipper set and is intended for hair cutting and thinning.
DESCRIPTION



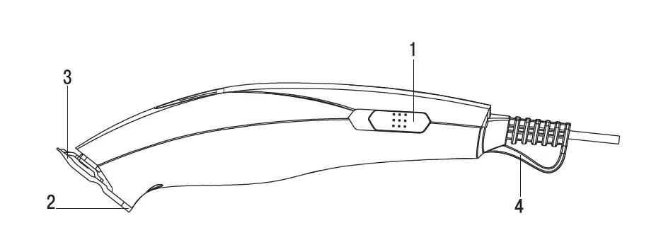
- Power switch «I/O»
- Lower blade
- Upper blade
- Hanging loop
- 3 mm attachment comb
- 6 mm attachment comb
- 9 mm attachment comb
- 13 mm attachment comb
- 18 mm attachment comb
- 21 mm attachment comb
- Protective blade cover
- Comb
- Scissors
- Lubricating oil
- Cleaning brush
ATTENTION!
After using the hair clipper in a bathroom, disconnect the power plug from the mains socket, as water closeness is dangerous even if the unit is switched off. – For additional protection you can install a residual current device (RCD) with nominal operation current not exceeding 30 mA into the bathroom mains; contact a specialist for installation.
SAFETY MEASURES
Read this instruction manual carefully before using the unit and keep it for future reference for the whole unit operation period. Use the unit for intended purposes only, as specified in this manual. Mishandling of the unit may lead to its breakage and cause harm to the user or damage to his/her property.
- Before using the unit for the first time, make sure that the voltage in your mains corresponds to unit operating voltage.
The power cord may not: - touch hot objects and surfaces,
- be immersed into water,
- run over sharp edges of furniture,
- be used as a handle for carrying the unit.
- Use the unit to cut only natural human hair, hair should be dry.
- Do not use the unit to cut artificial hair and animal hair.
- Use only the attachments supplied.
ATTENTION! Do not immerse the hair clipper, the power cord and the plug into water or any other liquids. Do not wash the clipper blades under water jet.
- Do not touch the hair clipper body and the power cord with wet hands.
- Do not use the unit in places with high temperature and relative humidity more than 80%.
- Do not keep the unit near a bath or a sink filled with water.
- If the unit is dropped into water, unplug it immediately, and only then take it out of the water.
- Do not use the unit outdoors.
- Never use the unit if the attachment combs are broken or damaged or if the blades are damaged.
- After each use clean the attachments and the blades with the brush to remove the cut-off hair.
- Make sure that the blades are clean and that there is lubricating oil on them.
- Never leave the operating unit unattended.
- Switch the hair clipper off during intervals in operation or when you are not using it.
- Do not allow children to use the unit as a toy.
- Do not allow children to touch the hair clipper body and the power cord during the unit operation.
- During the unit operation and breaks between operation cycles, place the unit out of reach of children and disabled persons.
- This unit is not intended for usage by children.
- The unit is not intended for usage by physically or mentally disabled persons (including children) or by persons lacking experience or knowledge if they are not under supervision of a person who is responsible for their safety or if they are not instructed by this person on the usage of the unit.
- Close supervision is necessary when children or disabled persons are near the operating unit.
- For children safety reasons do not leave polyethylene bags used as a packaging unattended.
Attention! Do not allow children to play with polyethylene bags or packaging film. Danger of suffocation
- Do not attempt to repair the unit. Do not disassemble the unit by yourself, if any malfunction is detected or after it was dropped, unplug the unit and apply to any authorized service center at the contact addresses given in the warranty certificate and on the website www.vitek.ru.
- Transport the unit in the original package only.
- Keep the unit out of reach of children and disabled persons.
THE UNIT IS INTENDED FOR HOUSEHOLD USE ONLY, ITS COMMERCIAL USAGE AND USAGE IN PRODUCTION AREAS AND WORK SPACES IS PROHIBITED. USING THE HAIR CLIPPER After unit transportation or storage at low temperature keep it for at least three hours at room temperature before switching on. – Remove all advertising stickers and packaging elements that can prevent the unit operation.
Blades
– If the blades have been removed for cleaning or replacement, install them back to their places and tighten the fastening screws. The unit’s design makes it unnecessary to level the blades after installing them.
Lubricating oil
– To maintain the unit in a good condition, you should lubricate the blades after every haircut. Do not use vegetable oil or oil that includes solvents. Solvents are subjected to evaporation, and the remaining thick oil can slow down the upper blade (3) moving speed. – For lubricating the blades use only the oil (14), supplied with the unit.
INSTRUCTIONS ON HAIR CUTTING
- Hair should be clean and dry while cutting.
- Insert the power plug into the mains socket.
- Before cutting hair switch the hair clipper on, moving the power switch (1) to the position «I» and make sure that the hair clipper operates normally and the blades move smoothly. If there is excess oil on the blades (2, 3), remove it with a dry cloth.
- Constantly check the power cord, prevent it from multiple twisting, regularly switch the unit off and straighten the power cord.
- Seat the person so that his/her head is approximately at your eye level, cover the person’s shoulders with a towel and set hair with the comb (12).
Reminder
Always cut off a little amount of hair at a time – if necessary you can always return to the trimmed area for additional cutting.
- The best haircutting results are reached on dry hair, not wet.
- Set the hair with the comb (12) to reveal uneven locks.
- It is better to leave longer hair after cutting for the first time.
- After learning your clipper better, you will be able to arrange your hair in any style you need.
Attachment combs
- The remaining hair length depends on the attachment comb:
- Attachment comb (5): hair length 3 mm
- Attachment comb (6): hair length 6 mm
- Attachment comb (7): hair length 9 mm
- Attachment comb (8): hair length 13 mm
- Attachment comb (9): hair length 18 mm
- Attachment comb (10): hair length 21 mm.
- Install the required attachment comb on the blades teeth upwards and
- press on the ledge on the bottom part of the attachment till clamping (see the pic. 9). Before cutting hair make sure that the attachment is locked in its socket. To remove
Step one
Set the 3 mm attachment comb (5) or 6 mm attachment comb (6). Switch the hair clipper on with the switch (1) by setting it to position «I». Hold the unit with the blades pointed upwards. Start haircutting from the beginning of the hair growth. Slowly move the clipper upwards. This way cut the head back area at neck bottom and near the ears (pic. 1, 2, 3).

Step two
Switch the hair clipper off with the switch (1) by setting it to the «O» position and unplug it, then set the 9 mm attachment comb (7) for longer hair or 13 mm attachment comb (8) and continue cutting hair near top of the head (pic. 4).
Step three – cutting temples
Switch the hair clipper off and unplug it, then set the 3 mm attachment comb (5) or 6 mm attachment comb (6) and cut hair in the area of the temples. Then set the 9 mm attachment comb (7) or 13 mm attachment comb (8) and continue cutting towards the top of the head.
Step four – cutting the top of the head
Using the 9 mm attachment comb (7) or the 13 mm attachment comb (8), cut the hair on the top of the head towards the crown against the hair growth direction.
- You can cut hair against and along the direction of hair growth, but keep in mind that the hair cut against the growth will be shorter than the hair cut along the growth.
- Use the 3 mm attachment comb (5) and 6 mm attachment comb (6) for very short haircut. To leave longer hair, use the 9 mm (7) or 13 mm (8) attachment comb.
- To leave much longer hair, use the 18 mm (9) or 21 mm (10) attachment comb or grip hair locks between fingers and cut them with the hair clipper (pic. 5).
- You can use the comb (12): lift the hair locks and cut them above the comb (pic. 6).
- Always start cutting from the back of the head.
- Set the hair with the comb (12) to reveal uneven locks.
- Use the scissors (13) to make haircut even
Step five – the final part
– In the final stage of hair cutting, remove the attachment comb from the hair clipper, turn the blades of the clipper towards the hair and trim hair on the temples and neck carefully. Do not press the clipper strongly, there is danger of injuries or cuts when open blades come in contact with the skin (pic. 7).
Cone-shaped haircut
Set the necessary attachment comb and start cutting from the head back towards the crown. Cut hair against hair growth from the head front to the crown and on the head sides (pic. 8). To get a flat top haircut, use the comb (12): lift the locks and cut them along the comb. Set the hair with the comb (12) to reveal uneven locks. Note: Between operations, you can hang the clipper on the hanging loop (4) having preliminarily switched it off using the power switch (1). – After you finish cutting hair, switch the hair clipper off with the switch (1) and put the protective cover (11) on the blades (2, 3).
CLEANING AND CARE
- Switch off and unplug the unit.
- Clean the blades from hair, using the cleaning brush (15).
- Wipe the accessories and the hair clipper body with a slightly wet cloth, and then dry them with a soft cloth.
- Put the protective cover (11) on the blades (2, 3).
- Do not immerse the hair clipper into water or other liquids.
- Do not use solvents or abrasives for cleaning the hair clipper body.
Lubricating the blades
- Switch the unit off using the power switch (1) and unplug it.
- Apply one-two drops of oil (14) on the teeth of the blades (2, 3) and the back side of the upper blade (3), switch the unit on and make sure that the blades are moving smoothly.
- Switch the hair clipper off, clean the excess oil with a dry cloth. Attention! Use only the oil supplied with the set. DO NOT USE vegetable oil, fat, oil mixed with any solvents for lubricating. Solvents will evaporate, leaving thick grease that may slow down the blades’ motion.
STORAGE
- Before taking the unit away for storage, clean and lubricate the blades (2, 3) with lubricating oil (14) and put the protective cover (11) on.
- Keep the hair clipper in a dry cool place out of reach of children and disabled persons
DELIVERY SET
- Hair clipper (with blades) – 1 pc.
- Attachment comb – 6 pc.
- Protection lid –1 pc.
- Comb – 1 pc.
- Scissors – 1 pc.
- Lubricating oil – 1pc.
- Cleaning brush – 1 pc.
- Instruction manual – 1 pc.
TECHNICAL SPECIFICATIONS
Power supply: 220-240 V ~ 50 Hz Rated input power: 10 W
ATTENTION! Do not use the unit near water in the bathrooms, showers, swimming pools etc.
For environment protection do not throw out the unit and the batteries (if included), do not discard the unit and the batteries with usual household waste after the service life expiration; apply to specialized centers for further recycling. The waste generated during the disposal of the unit is subject to mandatory collection and consequent disposal in the prescribed manner. For further information about recycling of this product apply to a local municipal administration, a disposal service or to the shop where you purchased this product
The manufacturer preserves the right to change design, structure and specifications not affecting general principles of the unit operation without a preliminary notification due to which insignificant differences between the manual and product may be observed. If the user reveals such differences, please report them via e-mail [email protected] for receipt of an updated manual.
Unit operating life is 3 years
Guarantee
Details regarding guarantee conditions can be obtained from the dealer from whom the appliance was purchased. The bill of sale or receipt must be produced when making any claim under the terms of this guarantee.
This product conforms to the EMC Directive 2014/30/EU and to the Low Voltage Directive 2014/35/EU.






















