microlife DOKU-3437-001 Blood Pressure Monitors
Description
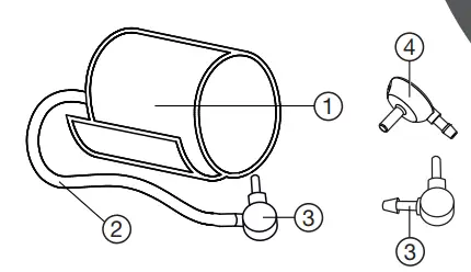
- Cuff
- Cuff Tube
- Cuff Connector A
- Cuff Connector B

Choosing the connector
- For blood pressure monitors that have a white, silver o coloured cuff socket on the device, use Connector A 3 with the grey connector pin.
- For blood pressure monitors that have a yellow coloured cuff socket on the device, use Connector B with the yellow connector pin.
- To change the connector, pull the connector out of the cuff tube and insert the required connector into the cuff tube as far asit will go.
Cleaning the cuff
- Carefully remove spots on the cuff with a damp cloth and soapsuds
- The bladder must lay straight in the cuff cover, not folded.
- Do not use fabric softener.
- Under no circumstances may you wash the inner bladder!
- The cufs are sensitive and must be handled with care.
Guarantee
The cuff has a functional guarantee (bladder tightness) for 2 years. Not included are sleeve and cuff enclosure due to wear. The guarantee is only valid on presentation of the purchase receipt. The guarantee does not cover damage caused by improper handling, accidents or non-compliance with the operating instructions. The cuff has an average service life of2 years or 5000 measurements, whichever comes first.






















