naxa NHS-2007 42 Inch Slim Sound Bar System with Bluetooth Instruction Manual

IMPORTANT SAFETY INSTRUCTION

WARNING:
TO REDUCE THE RISK OF FIRE OR ELECTRIC SHOCK, DO NOT EXPOSE THIS PRODUCT TO RAIN OR MOISTURE.
FCC WARNING:
To assure continued compliance, follow the attached installation instructions and use only shielded cables when connecting to other devices.
Changes or modifications to this unit not expressly approved by the party responsible for compliance could void the user’s authority to operate the equipment
The lightning flash with arrowhead symbol within an equilateral triangle is intended to alert the user to the presence of uninsulated dangerous voltage within the product`s enclosure that may be of sufficient magnitude to constitute a risk of electric shock to persons.
FCC NOTICE:
This equipment has been tested and found to comply with the limits for a Class B digital device, pursuant to part 15 of the FCC Rules. These limits are designed to provide reasonable protection against harmful interference in a residential installation. This equipment generates, uses and can radiate radio frequency energy and, if not Installed and used in accordance with the instructions, may cause harmful interference to radio
communications.
However, there is no guarantee that interference will not occur in a particular installation. If this equipment does cause harmful interference to radio or television reception, which can be determined by turning the
equipment off and on, the user is encouraged to try to correct the interference by one or more of the following measures: Reorient or relocate the receiving antenna. Increase the separation between the equipment and
receiver. Connect the equipment into an outlet on a circuit different from that to which the receiver is connected. Consult the dealer or an experienced radio/TV technician for help.
IMPORTANT SAFETY INSTRUCTION
Before using the unit, be sure to read all operating instructions carefully. Please note that these are general precautions and may not pertain to your unit.
- Read these instructions.
All the safety and operating instructions should be read before the product is operated. - Keep these instructions. The safety and operating instructions should be retained for future reference.
- Heed all warnings. All warnings on the product and in the operating instructions should be adhered to.
- Follow all instructions. All operating and use instructions should be followed.
- Do not use this apparatus near water.
Do not use this product near water and moisture, for example: near a bathtub, washbowl, kitchen sink or laundry tub; in a wet basement; or near a swimming pool. - Clean only with dry cloth. Unplug this product from the wall outlet before cleaning. Do not use liquid cleaners or aerosol cleaners. Use a dry cloth for cleaning.
- Do not block any ventilation openings. Install in accordance with the manufacturer’s instructions. Slots and openings in the cabinet and in the back or bottom are provided for ventilation, to ensure reliable operation of the product and to protect it from overheating. These openings must not be blocked or covered. The openings should never be blocked by placing the product on a bed, sofa, rug or other similar surface. This product should never be placed near or over a radiator or heat source. This product should not be placed in a built-in installation such as a bookcase or rack unless proper ventilation is provided or the manufacturer’s instructions have been adhered to.
- Do not install near any heat sources such as radiators, heat registers, stoves, or other apparatus(including amplifiers) that produce heat.
- Do not defeat the safety purpose of the polarized or grounding-type plug. A polarized plug has two blades with one wider than the other. A grounding type plug has two blades and a third grounding prong. The wide blade or the third prong are provided for your safety. If the provided plug does not fit into your outlet, consult an electrician for replacement of the obsolete outlet.
- Protect the power cord from being walked on or pinched particularly at plugs, convenience receptacles, and the point where they exit from the apparatus.
- Only use attachments/accessories specified by the manufacturer.
- Use only with the cart, stand, tripod, bracket, or table specified by the manufacturer, or sold with the apparatus. When a cart is used, use caution when moving the cart/apparatus combination to avoid injury from tip-over. An appliance and cart combination should be moved with care. Quick stop, excessive force and uneven surfaces may cause the appliance and cart combination to overturn.

- Unplug this apparatus during lightning storms or when unused for long periods of time. To protect your product from a lightning storm, or when it is left unattended and unused for long periods of time, unplug it from the wall outlet and disconnect the antenna or cable system. This will prevent damage to the product due to lightning and power-line surges.
- Refer all servicing to qualified service personnel. Servicing is required when the apparatus has been damaged in any way, such as power-supply cord or plug is damaged, liquid has been spilled or objects have fallen into the apparatus, the apparatus has been exposed to rain or moisture does not operate normally, or has been dropped.
- Power source This product should be operated only from the type of power source indicated on the marking label. If you are not sure of the type of power supply to your home, consult your appliance dealer or local power company. For products intended to operate from battery power, or other source, refer to the operation instructions.
- Power lines An outside antenna system should not be located in the vicinity of overhead power lines or other electric light or power circuits, or where it can fall into such power lines or circuits. When installing an outside antenna system, extreme care should be taken to keep from touching such power lines or circuits as contact with them might be fatal. For example, this unit may not have the capability to be connected to an outdoor antenn
- Overloading
Do not overload wall outlets and extension cords as this can result in a risk of fire or electric shock. - Object and liquid entry Never push objects of any kind into the product through openings as they may touch dangerous voltage points or short out parts that could result in fire or electric shock. Never spill or spray any type of liquid on the product.
- Outdoor antenna grounding If an outside antenna is connected to the product, be sure the antenna system is grounded so as to Provide some protection against voltage surges and built up static charges. Section 810 of the National Electric Code ANSI/NFPA 70 provides information with respect to proper to grounding of the mast and supporting structure, grounding of the lead-in wire to an antenna discharge product,
size of grounding conductors, location of antenna-discharge product, connection to grounding electrodes and requirements for the grounding electrodes
INSTALLATION
1. Placing on the table
When placing the Sound Bar on an entertainment center, bookshelf, or any type of enclosed space, be sure to allow at least 2-3 inches of space around the Sound Bar for ventilation. If the Sound Bar is enclosed in a tight space, without ventilation, heat generated from the Sound Bar could produce a potential heat hazard.

2. Mounting the Speaker Bar onto a wall
We recommend having this speaker professionally mounted. By using the included wall mounting accessories, the sound bar can be mounted onto a wall.
Distance between two brackets

2.1 Mounting on wood walls
You may use

- Use a pencil to make 2 marks 27.13″ apart for the mounting screws.
- Drill the supplied screws directly into the marks on the wall, allowing 0.3″ of the screws to extend from the wall.
- Make sure the screws are firm and stable, then hang the sound bar from the mounting screws.
2.2 Mounting on dry wall
You may use

- Use a pencil to make 2 marks 27.13″ apart for the mounting screws.
- Use a 7/32″ bit to drill 2 holes at the marks on the wall.
- .Push the supplied plastic inserts into the drilled holes. If necessary, gently tap them into place with a hammer.
- Screw the supplied screws into the inserts, allowing 0.3″ of the screws to extend from the wall.
- Make sure the screws are firm and stable, then hang the sound bar from the mounting screws.

CONTROLS AND CONNECTIONS
FRONT VIEW

REAR VIEW
REMOTE CONTROL

- SOURCE
- STANDBY
- VOL-(volume down)
- BASS-(bass down)
- TREBLE-(treble down)
- EQ (equalizer)
- PREVIOUS
- PLAY/PAUSE
- MUTE
- VOL+ (volume up)
- BASS+ (bass up)
- TREBLE+ (treble up)
- NEXT
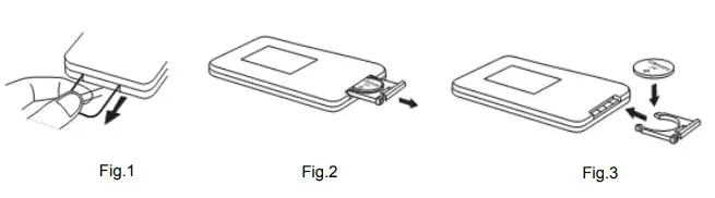
BATTERY INSTALLATION
-First Time Use
Remove and discard the insulation tab as shown in Figure 1.

Replacing Batteries For Remote Control
- Push and slide out the battery holder (see Figure 2).
- Close the battery holder (see Figure 3).
- Replace the battery with a new CR2025 button cell, taking care to observe the polarities marked on the rear of the Remote Control (see Figure 3).

BATTERY PRECAUTIONS
Follow these precautions when using a battery in this device:
- Use only the size and type of battery specified.
- Be sure to follow the correct polakity as indicated in the battery compartment when installing the battery. A battery installed in the reverse position may damage the device.
- Do not mix different types of batteries together (e.g. Alkaline and Carbon-zinc) or old batteries with fresh ones.
- If the batteries in the device are depleted or the device is not to be used for a long time, remove the batteries to prevent damage or injury from possible battery leakage. Always follow the battery manufacturers instructions and recommendations.
- Do not recharge batteries that are not intended to be recharged; they may overheat and rupture.
- Do not expose batteries to excessive heat (e.g., direct sunlight, fire, or the like.)
- Clean the battery contacts and also those of the device prior to battery installation.
POWER SOURCE
To turn the speaker on
·Use the suppplied AC/DC adapter to connect the POWER jack of the unit to a compatible power source; the indicator will turn red.
·Press the POWER button to turn the unit on.
To turn the speaker off·
Press the POWER button on the remote or hold the POWER button on the side of the unit.
NOTE:
Disconnect the power adapter if the unit will not be used for a long time.
AUX 1 SOURCE
AUX 1 sources may include: ·TV/DVD/VCR AUX 1 connection
1. Use an AV cable to connect the audio output jacks (white jack=L, red jack=R) of the
source device (e.g., a TV) to the AUX 1 audio input jacks found on the rear of the unit.
During playback
– Press the MUTE button to disable the sound. Press MUTE again to reenable the sound.
– Press the VOLUME+/– buttons to adjust the volume level.
– Press the BASS+/– buttons to adjust the bass level.
– Press the TREBLE+/– buttons to adjust the treble level.
– Press the EQ button to switch between POP, JAZZ, CLASSIC, and ROCK equalizer settings
.
POWER SOURCE
AUX 1 SOURCE
2. Turn on the unit. Press the SOURCE button until the indicator turns green. Start playback on the source device.
NOTE: If there is no sound or if the volume is not loud enough, try increasing the volume on the source device.
AUX 2 SOURCE
AUX 2 sources may include
Personal audio players
– Personal computers or laptops
AUX 2 connection:
- Use a stereo 3.5mm jack cable (supplied) to connect the headphone (or LINE/Audio) output of the source device (e.g., an iPod) to the AUX 2 audio input jack found on the side of the unit.
- Turn on the unit. Press the SOURCE button until the indicator turns orange. Start playback on the source device.
NOTE: If there is no sound or if the volume is not loud enough, try increasing the volume on the source device
During playback
– Press the MUTE button to disable the sound. Press MUTE again to reenable the sound.
– Press the VOLUME+/– buttons to adjust the volume level.
– Press the BASS+/– buttons to adjust the bass level.
– Press the TREBLE+/– buttons to adjust the treble level.
– Press the EQ button to switch between POP, JAZZ, CLASSIC, and ROCK equalizer settings
OPTICAL IN SOURCE
Connection
- Follow the figure below to make the connections.
- Turn the unit on. Press the SOURCE button until the indicator turns purple
NOTE:
Not all entertainment systems are set up the same way; the diagram below is only one example of how the connection can be made. The optical connection supports the PCM format, only.

During playback
- Press the MUTE button to disable the sound. Press MUTE again to reenable the sound.
- Press the VOLUME+/– buttons to adjust the volume level.
- Press the BASS+/– buttons to adjust the bass level.
- Press the TREBLE+/– buttons to adjust the treble level.
- Press the EQ button to switch between POP, JAZZ, CLASSIC, and ROCK equalizer settings.
BLUETOOTH SOURCE
Pairing
BLUETOOTH SOURCE
- Press the SOURCE button until the indicator turns blue.
- Enable Bluetooth on the source device.
- Set the source device to search for other Bluetooth devices. (Refer to the user enter “0000”.
- After a successful pairing, you will be able to stream music wirelessly from your
- If the pairing attempt fails, the sound bar may have timed out. Try starting the pairing procedure again.
NFC 1-Touch Setup
NOTE: Before attempting to use NFC to set up your Bluetooth connection, make sure that
Bluetooth and NFC are enabled on your device. For devices running Android™ OS, you can find the NFC option in the “Settings > Wireless & Networks > More…” menu screen.
Only one device can be paired with the sound bar at a time. Disable Bluetooth on other devices to prevent interference.
If you have a device that is equipped with NFC and Bluetooth, you can pair the device to the sound bar with a single tap. It’s just that easy!
- Place the sound bar in Bluetooth mode (press the SOURCE button until the indicator turns blue).
- Locate the NFC sensor on the top right side of the sound bar. Touch the back of your device to the sound bar sensor. The sound bar will sound a chime when it detects your device.
- Your device may ask you for permission to pair with the sound bar. Select “yes”.
- The sound bar will emit another chime when pairing is complete.
TROUBLE SHOOTING GUIDE

SPECIFICATIONS
ACCESSORIES
1 x Instruction Manual
1 x Remote Control with CR 2025 button cell
1 x Stereo audio connection cable with 3.5mm stereo plug
1 x RCA line in cable
1 x Adapter
2 x Screws
2 x Wall plugs
13
TROUBLE SHOOTING GUIDE
Audio output …………………………………………………………………………………..10W
Power source of the remote control………………………………………………..DC 3V 1 x CR 2025 battery
Power source of the power adapter …………………………………………………AC 110-240V~50/60 Hz
Output of the power adapter …………………………………………………………..DC 12V, 1.0 A
SUPPORT
If you have problems with your sound bar, please consult the instructions in this manual, as well as the latest news, alerts, and documentation which can be found by visiting us on the web at www.naxa.com. If you need further assistance, please contact Naxa Technical Support. NAXA Technical Support 2320 East 49th St. Vernon, CA 90058
FCC Statement
Changes or modifications not expressly approved by the party responsible for compliance could void the user’s authority to operate the equipment.
This equipment has been tested and found to comply with the limits for a Class B digital device, pursuant to Part 15 of the FCC Rules. These limits are designed to provide reasonable protection against harmful interference in a residential installation. This equipment generates uses and can radiate radio frequency energy and, if not installed and used in accordance with the instructions, may cause harmful interference to radio communications. However, there is no guarantee that interference will not occur in a particular installation. If this equipment does cause harmful interference to radio or television reception, which can be determined by turning the equipment off and on, the user is encouraged to try to correct the interference by one or more of the following measures:
- Reorient or relocate the receiving antenna.
- Increase the separation between the equipment and receiver.
- Connect the equipment into an outlet on a circuit different from that to which the receiver is connected.
- Consult the dealer or an experienced radio/TV technician for help
This device complies with part 15 of the FCC rules. Operation is subject to the following two conditions (1)this device may not cause harmful interference, and (2) this device must accept any interference received, including interference that may cause undesired operation.
This equipment complies with FCC radiation exposure limits set forth for an uncontrolled environment.
This equipment should be installed and operated with minimum distance 20cm between the radiator & your body
©2014 NAXA® ELECTRONICS CORPORATION. ALL RIGHTS RESERVED.
Naxa® is a registered trademark of Naxa Electronics, Inc. Bluetooth® is a registered trademark owned by Bluetooth SIG, Inc. Android™ is a trademark of Google Inc. All other trademarks and logos are property of their respective owners unless indicated otherwise
























