AEG0002 Electric Grill EG2
User Manual
https://aeno.com/recipes
AEG0002 Electric Grill EG2



AENO EG2 Electric Grill is designed to cook various meat and fish dishes.
Specifications
Supply voltage: AC220–240V, 50/60Hz, Power: 2000.0 W. Cooking surface area:
290mm × 233mm. Opening angle: 105° and 180°. Stainless steel casing. Cable length: 0.8 m.
Package Contents
AENO Electric Grill, drip tray, quick start guide, warranty card. Limitations and Warnings Children and people with disabilities may only use the grill under the supervision of adults or people with an adequate level of experience in using the device. Keep the grill out of the reach of children. The grill’s surface becomes very hot during operation, and food products may emit steam or splashes of oil. Do not touch the grill’s casing with hands; use heat–protective gloves when operating the grill. Do not use the grill outdoors, and keep it away from sources of heat, direct sunlight, open fire or high humidity, as well as never operate it with wet hands. Always unplug the grill when it’s not used for cooking. Do not immerse the device in water or other liquids. Never use the grill if it’s damaged or its power cord is broken. Do not try to repair the device on your own. Always install the grill on a flat and stable heat–resistant surface in a well–ventilated area. If the grill contains too many food products at once, so it can hardly be closed, never use force to close it as you may damage the device. To avoid fire hazard, never leave the switched–on device unattended. The grill must be closed before connecting it to the mains. After cooking, the cooked food shall be removed from the grill using wooden or heat–resistant spatula only. Do not use a sharp fork or knife to remove food products from the grill as this may damage its non–stick coating. Frozen food products shall be completely defrosted before grilling.
Initial Setup
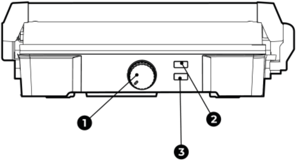
Unpack the grill and reel out its cable, but do not plug it into the mains socket. Make sure that heating plates ❹ (See Figure b) are clean and free of dust. Wipe them with a damp cloth if necessary. Make sure that the plastic drip tray ❻ is installed at the back of the grill (See Figure c). Place the grill on a flat and stable surface. Plug the power cord into the mains socket – the white Power LED will flash (See Figure a). Then, turn the temperature control knob ❶ from “0” to MAX position in order to start preheating of the cooking surface. The blue automatic temperature control LED ❸ will flash. As soon as the cooking surface temperature reaches the set value (This usually takes about 3–5 minutes), the blue LED ❸ will go out. This means the grill is ready for operation. If used for the first time, the device shall be heat up without food products for about ten (10) minutes. A small amount of light smoke or odor is deemed to be normal and harmless.
Operation
Open the upper grill cover and place the food products on the lower cooking surface. Close the upper grill cover – the blue LED ❸ will flash. During operation, the white power LED ❷ will be on all the time, while the blue LED ❸ will be on for periods of additional heating up when the temperature of the cooking surfaces decreases, and will go off when the cooking surfaces temperature reaches the value set with the temperature control knob ❶. Cooking time may take 5 to 8 minutes depending on the type of a food product, its thickness or the desired degree of doneness. Excess oil or grease will be drained through the drain hole ❺ into the drip tray ❻.
If the food product is recognised as being well cooked, open the grill after the blue LED goes out only, because it will be switched off at that moment.
After cooking is done, turn the temperature control knob ❶ to the “0” position, unplug the grill and open the top cover to cool down the device.
Troubleshooting
- The grill does not turn on. Possible causes and solutions: Make sure that there is no power supply failure in the mains socket (e.g. plug any known good device into it) and that the grill is correctly plugged into the mains socket.
- The grill turns on but does not heat up. Possible causes and solutions: Make sure that the temperature control knob ❶ is not set to the “0” position.
- Blue LED ❸ does not flash. Possible causes and solutions: Unplug the grill, let it cool down and plug it back in the mains socket. Then, turn the temperature control knob ❶ to another position.
ATTENTION! If your problem persists, please contact your local supplier or the service center for support. Please do not disassemble the device or try to repair it on your own.
Recycling information
These symbols indicate that you must follow the Waste Electrical and Electronic Equipment (WEEE) and Waste Battery and Battery Regulations when disposing of the device, its batteries and accumulators, and its electrical and electronic accessories.
According to the rules, this equipment must be disposed of separately at the end of its service life.
Do not dispose of the device, its batteries and accumulators, or its electrical and electronic accessories together with unsorted municipal waste, as this will harm the environment. To dispose of this equipment, it must be returned to the point of sale or turned in to a local recycling facility. You should contact your local household waste disposal service for details.
ASBISc reserves the right to modify the device and to make edits and changes to this document without prior notice to users.
The warranty period and service life shall be 2 years as from the date of purchase of the device.
Manufacturer: ASBISc Enterprises PLC, Lapetou, 1, Agios Athanasios, 4101 Limassol, Cyprus. Made in China. For current information and details on the device description and specification, as well as connection process, certificates, warranty, and quality issues, see relevant Installation and
Operation Manuals available for downloading at aeno.com/documents. All trademarks and names herein are the property of their respective owners. aeno.com/documents
GET MORE
aeno.com![]()
















