
KAP 80
INSTRUCTIONS OF INSTALLATION AND USE
ATTENTION! The safety of the device can only be guaranteed on condition that to be respected the following instructions, both stages of installation and use therefore it is highly recommended to keep them.
WARNING: To carry out the installation, and whenever an operation in the device is carried out, make sure of having disconnected the electric power. The device cannot be in any case modified or forced, any modification might jeopardize the safety system making it dangerous. FLOS declines any responsibility for modified products. The device has been designed for inside. IP20 Ordinary. IP 5X Protected against penetration of dust
Class III luminaire: Device with a very low safety voltage. Connect the main cables to the remote led power supply SELV under the EN 61347-2-13 standard, respecting the right polarity (red positive – black negative). Devices with a very low safety voltage showing the (BTS) mark should not be connected to earthing conductors.
Luminaires are intended for direct assembly on surfaces that are normally flammable.
Under no circumstances should the luminaire be covered with insulating or similar material.
The symbol marked on the device indicates the replacement of the damaged protection screens using exclusively original FLOS spare parts. Do not use the luminaire without glass.
Do not cover with a thermal insulator.
If the flexible cable or cord of this luminaire is damaged, it should be exclusively replaced by the manufacturer or his technical service or a qualified person in order to avoid any risk. Use appropriate equipment and be in agreement with the standard.
The luminaire should only be used with Flo’s accessories or components.
The symbol shown on the device indicates that the product must be eliminated differently from the rest of the urban waste.
CLEANING INSTRUCTIONS
Use only a soft cloth to clean the appliance. For stubborn dirt, dampen the cloth with water and clean only the reflector and the outer part of the appliance. Do not clean or touch the LED/light source in any way. Warning: do not use alcohol or other solvents.
The light source contained in this luminaire shall only be replaced by the manufacturer or his service agent or a similarly qualified person. Please refer to the product label to check the electrical specifications
| LED ARRAY | 3000K | CRI90 | 9.2W | 8101m |
| LED ARRAY | 2700K | CRI90 | 9.2W | 6981m |
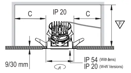
RECESSING DIMENSIONS
| Reference | C(mm) | F mm |
| 03.4181-80 | 75 | 91 |
| 03.4183-82 | 75 | 93 |
| 03.4228 | 75 | 130 |
| 03.4226 | 75 | 130 |
| 03.4229 | 75 | 155 |
| 03.4227 | 75 | 155 |
| 03.4185-84 | 75 | 90 |
| 03.4287-86 | 75 | 93 |
| 03.4236 | 75 | 120 |
| 03.4234 | 75 | 120 |
| 03.4235 | 75 | 155 |
| 03.4237 | 75 | 155 |
| 03.41894188 | 75 | 81 |
| 03.4191-80 | 75 | 81 |
| 03.4244 | 75 | 135 |
| 03.4242 | 75 | 130 |
| 03.4245 | 75 | 140 |
| 03.4243 | 75 | 140 |
ATTENTION
The voltage under load does not exceed 25 V RMS. or 60 V ripple-free d.c. and the no-load voltage does not exceed 35 V peak or 60 V ripple-free d.c.
LUMINAIRE INSTALLATION

![]() | ![]() |






ANTARES ILUMINACIoN S.A.U.
Calle Mallorca, 1
Poligono Industrial Reva
46394 Ribarroja
Valencia-Spain
Tel: +34 961 669 520
Fax: +34 961 668 286
www.flos.com


















