
Vitamix
12-Cup Food proCessor attaChment
VM0215

We can help make your health and wellness
journey a success by offering resources,
support, and rewards along the way.
GET 100 POINTS
WHEN YOU JOIN

Symbols
| Warning and Caution | ![]() | Parts will become hot with extended use. DO NOT touch the drive socket in the blender base or the drive spline on the self-detect base. | |
![]() | NEVER touch moving parts. Keep hands and utensils out of the work bowl | On/Off | |
![]() | High temperature when blending hot liquids | Start/Stop | |
![]() | Unplug while not in use, before cleaning, changing accessories or touching parts that move while the blender is in use | Pulse | |
| Operate with the snap-on lid and food pushers in place | ![]() | Read and understand owner’s manual |
Vitamix power + precision processing
- The Vitamix 12 Cup Food Processor was designed to be used with our Self-detect® line of blenders. These blenders include the Ascent® and Venturist® models.
- You will find a description of each control panel and it’s features below. The food processor will not work on a blender base without the Self-detect feature.
- Go online for techniques training and recipe inspiration at vitamix.com. Our team will educate you on how to chop, slice, shred and so much more.
- The Vitamix 12 Cup Food Processor pairs nicely with our blending containers, cups and bowls. It allows you to use your blender as a complete kitchen system.
- Our recipes and techniques are written so that the Food Processor can be used on each of these motor bases.
- Contact Vitamix Customer Service with questions at 1-800-848-2649.
Blender control panels

! UNPACKING AND HANDLING
- The multi-use blade and discs are sharp. Unpack, handle and store with care.
- The multi-use blade and discs should be kept out of reach of children.
- Remove and discard packaging materials before using the food processor for the first time.
- To eliminate a choking hazard for young children, remove and discard packaging and bags that either contain or protect the product during shipment.
Important Safeguards
WARNING: To avoid the risk of serious injury when using your Vitamix® blender and accessories, basic safety precautions should be followed, including the following. READ ALL INSTRUCTIONS, SAFEGUARDS, AND WARNINGS BEFORE OPERATION.
- Carefully read all instructions before operating the food processor for the first time. Save the instructions for future reference.
- Not intended for use by or near children or persons with reduced physical, sensory, or mental capabilities or lack of experience and knowledge. Close supervision is necessary when used by or near children or incapacitated persons. Children should be supervised to ensure that they do not play with the food processor.
- DO NOT IMMERSE. To protect against the risk of electrical shock, do not put the blender base in water or other liquid.
- Turn the appliance OFF, then unplug from the outlet when not in use, before assembling or disassembling parts, and before cleaning. To unplug, grasp the plug and pull from the outlet. Never pull from the power cord.
- Avoid contact with moving parts.
- Blades are sharp. Handle and clean the multi-use blade and discs with extreme care to avoid injury.
- Never try to override or modify the interlock mechanism.
- Be certain the cover is securely locked in place before operating the appliance.
- Never attempt to remove the snap-on lid while the appliance is operating. Always stop the machine before the snap-on lid is removed.
- Never attempt to operate with damaged blades, food processor parts or discs. Contact Vitamix Customer Service at 1-800-848-2649 for instructions.
- Do not operate any appliance with a damaged cord or plug or after the appliance malfunctions, or is dropped or damaged in any manner. Contact the manufacturer at their customer service telephone number for information on examination, repair, or adjustment. Contact VItamix Customer Service at 1-800-848-2649 for instructions.
- Do not let the cord hang over the edge of the table or counter.
- Illuminated icons and numbers on the blender control panel indicate the motor base is ready to operate.
- The use of accessories not expressly authorized or sold by Vitamix, may cause fire, electric shock, or injury. Use in this way will void your warranty.
- Do not place the blender, containers, cups or food processor on or near a hot gas or electric burner, in or on a heated oven.
- Keep hands and utensils out of work bowl and feed tube to reduce the risk of severe injury to persons or damage to the food processor.
- Make sure the disc or multi-use blade has completely stopped rotated before separating the snap-on lid from the work bowl.
- A rubber scraper or spatula may be used, but only when the food processor has been removed from the blender base and the snap-on lid has been removed.
- The snap-on lid must remain in place when using the food chute and food pushers through the snap-on lid opening. Never push food down by hand when slicing or shredding.
- Always use the food pushers that were provided with your food processor. Do not use a tamper that was supplied with your blender.
- To reduce the risk of injury, never place the multi-use blade or slicing/shredding disc on the motor base unless properly installed into the food processor.
- Do not leave foreign objects, such as spoons, forks, knives or food pushers in the work bowl as this will damage the multi-use blade or discs and other components when starting the motor base and may cause injury.
- Do not process frozen meat or meat with bones with the chopping blade.
- Do not process frozen fruit or vegetables or hard fruit or vegetables with the chopping blade.
- Do not attempt to process the fruit or vegetables, larger than a palm of a human hand with the chopping blade.
- If the machine shuts off prematurely, wobbles or rocks during processing, reduce the load in the machine. Always follow the recipe guidelines that were provided in the techniques book or on vitamix.com.
- Care should be taken when removing food from the food processor bowl. Ensure that the motor and blade or disc has completely stopped before disassembling and attempting to remove food out of the work bowl.
- The multi-use blade or disc must be carefully removed before attempting to remove or pour ingredients out of the food processor bowl. Use the finger holes in the discs to ensure safe handling.
- When processing liquids or ingredients, use caution; spray or escaping steam may cause burns if using hot ingredients.
- Do not use ingredients above 212 deg F (100 deg C).
- Do not fill the work bowl over the maximum capacity. Max fill capacities are marked on the work bowl (12 cups dry ingredients; 9 cups wet ingredients).
- Keep hands and other exposed skin away from openings to prevent possible burns.
- Do not use outdoors.
- Do not move appliances while in operation.
- Do not place any part of the food processor or blender in the microwave oven.
- Do not use harsh abrasive, caustic cleaners or oven cleaners when cleaning the food processor parts or your blender base.
- Follow care instructions in the blender owner’s manual to caring for the motor base. Follow care instructions in this manual to caring for the food processor.
- DO NOT use the Food Processor Attachment with the perfect blend App.
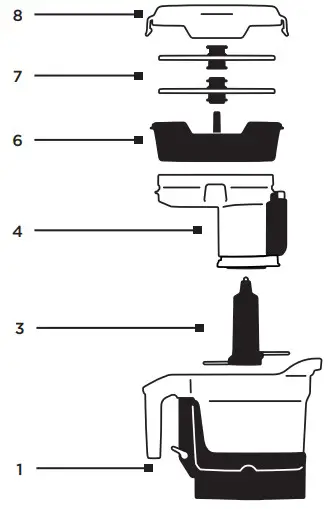
FOOD PROCESSOR OVERVIEW
A – Small food pusher
Use to process smaller ingredients.
Dishwasher safe.
B – Large food pusher
Use to push ingredients into the slicing/shredding disc.
Dishwasher safe.
C – Snap-on Lid
Dishwasher safe.
D – Work bowl
9 cup liquid, 12 cups dry capacity.
Dishwasher safe.
E – Multi-use (chopping) blade (shown in place in work bowl and below; removable)
SHARP, use care when handling! Pick up the multiuse blade by the plastic neck to avoid injury.
Use to chop, mix, whip, and blend ingredients. The process from coarsely chopped to minced. Can be used to puree, make nut butter, and mix doughs.
Dishwasher safe.
F- Self-detect base
Wipe down only.
Not dishwasher safe.
G – Blender motor base (sold separately).
Wipe down only.
Not dishwasher safe.
H – Slicing/Shredding Discs (removable)
WARNING: BLADES ARE SHARP!
Use care when handling! Pick up the discs using the finger holes to avoid injury.
Choose between small shred/thin slice or large shred/thick slice to process ingredients.
DIscs are reversible for the task you prefer.
Use one side to slice, the other to shreds.
Dishwasher safe.
Not Shown –
Disc Storage (see page 10 for a description )


PROCESSING
|
![]() ![]() ![]() ![]() |
|
IMPORTANT NOTES:
- DO NOT fill the work bowl above the MAX LIQUID line.
- Always add dry or thick ingredients to the work bowl before adding liquid.
- To avoid over-processing, visually monitor the progress of what you are processing.
- Add liquid to puree recipes after processing.
- Stir nut butters if the oil has separated.
- Remove the small food pusher to add liquid to mixtures.
- When processing dry ingredients, you can process many different types if desired.
- DO NOT exceed the MAX FILL line if all ingredients are dry.
- DO NOT exceed the MAX LIQUID fill line if the mixture contains liquid.
- When processing dry and liquid ingredients, put liquid into the bowl before dry ingredients to ensure consistent processing.
- Before slicing and shredding ingredients, trim the food to fit the opening in the lid or the large food pusher opening (when a small food pusher is removed).
- Partially chill soft ingredients to just firm prior to slicing or shredding.
- DO NOT process frozen meat or meat with bones with the chopping blade.
- DO NOT process frozen fruit or vegetables with the chopping blade.
- DO NOT process fruits or vegetables with the chopping blade..
- If the machine shuts off prematurely, wobbles or rocks during processing, reduce the load in the machine.
- Do not attempt to process the fruit of vegetables, larger than a palm of a human hand with the chopping blade.
- If the machine shuts off prematurely, wobbles or rocks during processing, reduce the load in the machine.
Always follow the recipe guidelines that were provided in the techniques book or on vitamix.com. - Store blades and discs as you would sharp knives, away from children.
- Put the work bowl (1) onto the self-detect base (2).
Note: You will hear an audible click when the work bowl is it is locked into position.
- Choose your type of processing:
To Chop:
• Pick up the multi-use blade by the hub to avoid direct contact with the blades. Lower the multi-use blade in place over the center shaft in the bowl.
To Slice or Shred:
•Pick the slicing/shredding disc up by the finger holes to avoid direct contact with the slicing blade. Lower the center disc hub onto the drive shaft. The hub will sit down over the drive gear.
- Secure the snap-on lid to the work bowl.
Note: You will hear two audible “clicks”.
NOTE: Make sure both tabs on the snap-on lid are snapped onto the work bowl, just like the lid on your blending container.
- Insert the pin on the large food pusher into the opening in the snap-on lid. Push the large food pusher all the way down into the opening until it stops.
Insert the small food pusher into the food chute opening in the large food pusher.
NOTE: The food processor will not operate until the lid and large food pusher are properly secured in place.
- Place the food processor onto the blender base.

- Wash and prep ingredients. Prep could be cutting off stems, cutting ingredients to a smaller size or other activities. (Refer to the recipe or technique you are following for guidance).
- Process: Ascent Series A2300 and A2500 blenders must be within the 1-10 variable speed range to work with this attachment. The blender base will not turn on if the knob is set to Standby or a Program setting. The blade or disc will turn at a continuous speed. No speed adjustment on the blender base is necessary.
• To Chop:
Note: You can pre-load the ingredients in the work bowl to chop. Follow the steps below to chop ingredients using the large food pusher opening.
a. Remove the small food pusher.
b. Press Start/Stop on the blender base. The multi-use blade should start to spin.
c. Feed ingredients through the open area in the snap-on lid.
• To Slice or shred:
a. Pick the size of the pusher that makes sense for the size of the food your are processing.
b. If you are processing larger pieces, remove the large food pusher. It’s ok to leave the small food pusher in place. It should remain inside of the large pusher when it is removed from the snap-on lid.
c. Put the ingredient through the opening in the snap-on lid.
d. Put the large plunger on top of the ingredient.
e. Press Start/Stop on the blender base.
f. Apply slight pressure on the ingredient so it feeds down against the slicing/shredding disc.
g. When processing is complete, press Start/Stop. - Wait until the multi-use blade comes to a complete stop and remove the snap-on lid.
- If you were using the slicing/shredding disc, carefully remove it and set to the side.

- At this time, you can separate the work bowl from the self-detect base by pressing down on the work bowl “release” tab.

- If you were using the multi-use blade, carefully remove it from the work bowl.

- Remove or pour ingredients out of the work bowl.
CLEANING
Make sure to clean the food processor and it’s parts before first use.
Note: If your food processor is damaged, please do not use. Contact Vitamix Customer Service IMMEDIATELY.
To Clean:
IMPORTANT! All parts except the self-detect base are dishwasher-safe.
To clean the self-detect base, wipe the base with a cloth moistened with warm, soapy water. Wipe with a clean towel to remove soap residue, Wipe dry with a clean towel.
If preferred, wash all food processor parts in warm soapy water. Rinse clean under running water, then dry.
If you have a blender that includes the cleaning program:
Fill the work bowl halfway with warm water. Add a few drops of dish soap. Return the food processor attachment to the blender base. Run the cleaning program. The program will stop automatically when complete.

Blender Base
Refer to your blender owner’s manual for care instructions for the motor base.
STORAGE
Storage
Use the storage case to neatly and securely package and store the discs.
- Put the multi-purpose blade into the bowl.
- Put the food pushers in place in the snap-on lid..
- Insert the multi-use blade into the work bowl.
- Turn the snap-on lid upside down.
- Lower the snap-on lid down onto the work bowl so that the small food pusher fits over the column in the center of the bowl.
- Snap the storage case onto the bottom of the snap-on lid
- Put the two slicing/shredding discs into the storage case.
- Put the cover on the storage case.
TROUBLESHOOTING
- Food is unevenly chopped:
- Either you are trying to process too much food at one time, or you are running the machine continuously instead of pulsing on and off.
- Liquid leaks out between bowl and cover when the machine is running: You added too much liquid. Never use more than 9 cups of thin or thick liquid.
- Slices are uneven or slanted. Pack feed tube more carefully. Maintain even pressure on the pusher.
- Carrots or similar food falls over in feed tube: Cut food into enough short pieces of equal height to fill the feed tube. To slice one or two pieces, use a small feed tube. Cut carrots in half and insert one piece point down and the other stem down.
- Sliced or shredded food piles up on one side of the work bowl: This is normal. Remove disc occasionally and even out processed food. When food gets close to the bottom of the disc, empty the work bowl.
- A few pieces of food remain on top of slicing or shredding disc: This is normal. In most cases, you can shred more of the food by moving the large pusher up and down, allowing the piece to be shredded, or by repositioning the piece in the feed tube to try again.
- Soft cheese, like mozzarella, spreads out and collects on top of shredding disc: The cheese was not cold enough, or the pressure on the pusher was too great. To shred soft cheese, apply even pressure on the
food pusher to press it into the disc.
WARRANTY
3-YEAR FULL WARRANTY
- WHAT IS COVERED.
Vita-Mix Corporation (“Vitamix”) warrants that a Food Processor Attachment (the “Food Processor”), snap-on lid, self-detect base, storage case, food plungers, slicing/shredding discs and multi-use chopping blade that is purchased separately from a blender motor-base will be free from defects in material or workmanship and will withstand wear and tear from ordinary household use for 3 years from the date of purchase.
Vitamix will, within 30 days of receipt of the returned product, repair the failed Food Processor free of charge. If, in Vitamix’s sole discretion, the failed Food Processor or component cannot be repaired, Vitamix will elect to either (A) replace the Food Processor or Component free of charge or (B) refund the full purchase price to the owner, unless Vitamix receives prior written notice of the owner’s preference. - WHAT IS NOT COVERED.
This Warranty applies only to owners for ordinary household use. This Warranty does not cover cosmetic changes that do not affect performance, such as discoloration or the effects of the use of abrasives or cleaners or food build-up. This Warranty is only valid if the Food Processor is used in accordance with the instructions, warnings, and safeguards contained in the owner’s manual.
Grinding certain herbs and spices in the work bowl will result in cosmetic marring and may cause the blades and/or discs to wear prematurely. Traces of sand, coarse gritty, and abrasive herbs will also cause the blades to wear prematurely. Herbs may contain volatile oils, cause the work bowl to retain the oils, and cause permanent discoloration. Your work bowl, discs, and multi-use blade are not covered under the Vitamix warranty under these circumstances.
Vitamix will not be responsible for the cost of any unauthorized warranty repairs.
REPAIR, REPLACEMENT, OR REFUND OF THE PURCHASE PRICE ARE THE EXCLUSIVE REMEDIES OF THE PURCHASER AND THE SOLE LIABILITY OF VITAMIX UNDER THIS WARRANTY. NO EMPLOYEE OR REPRESENTATIVE OF VITAMIX IS AUTHORIZED TO MAKE ANY ADDITIONAL WARRANTY OR ANY MODIFICATION TO THIS WARRANTY THAT MAY BE BINDING UPON VITAMIX. ACCORDINGLY, PURCHASER SHOULD NOT RELY UPON ANY ADDITIONAL STATEMENTS MADE BY ANY EMPLOYEE OR REPRESENTATIVE OF VITAMIX. IN NO EVENT, WHETHER BASED ON CONTRACT, INDEMNITY, WARRANTY, TORT (INCLUDING NEGLIGENCE), STRICT LIABILITY OR OTHERWISE, SHALL VITAMIX BE LIABLE FOR ANY SPECIAL, INDIRECT, INCIDENTAL OR CONSEQUENTIAL DAMAGES, INCLUDING, WITHOUT LIMITATION, LOSS OF PROFIT OR REVENUE.
Some states do not allow limits on warranties. In such states, the above limitations may not apply to you. Outside the U.S.A. and Canada, other warranties may apply. - WHAT VOIDS THIS WARRANTY.
Abuse, misuse, negligent use, alteration of the Food Processor, exposure to abnormal or extreme conditions, or failure to follow the operating instructions, will void this Warranty.
The Warranty is also void if repairs to the Food Processor or any portion of the blade assembly are performed by someone other than Vitamix or an authorized Vitamix Service Provider or if any part subject to this Warranty is used in combination with a motor base or container that is not expressly authorized by Vitamix. - HOW TO OBTAIN RETURN AUTHORIZATION UNDER THIS WARRANTY.
In the event the Food Processor needs service or repair, please call Vitamix Customer Service at 1-800-848-2649. You will be asked to provide a date of purchase and proof of purchase for any product that has not been registered with Vitamix. For products subject to this Warranty you will be provided with a return authorization number, up-to-date shipping instructions and a pre-paid return pick-up label. Vitamix will pay standard shipping costs on the return of a Food Processor for warranty service and repair and for return shipment of the product to you after the warranty repair or replacement. Purchaser is responsible for the costs of special shipping requests.
Within the U.S.A. and Canada, this Warranty is honored directly through the Vita-Mix® Corporation.
| United States Vita-Mix® Corporation 8615 Usher Road Cleveland, Ohio 44138-21991-800-848-2649 [email protected] | Canada Vita-Mix® Corporation 200-1701 Shepherd Street East Windsor, Ontario N8Y 4Y5 1-800-848-2649 [email protected] |
You will be deemed to have accepted the returned product “as is” upon delivery unless you notify Vitamix of any problem, including shipment damage, within 48 hours of delivery.

Vita-Mix® Corporation
8615 Usher Road
Cleveland, OH 44138 U.S.A.
vitamix.com
©2020 Vita-Mix® Corporation. No part of this publication may be reproduced or transmitted in any form or by any means or stored in a database or retrieval system without the written permission of the Vita-Mix® Corporation.









To Slice or Shred:

Insert the small food pusher into the food chute opening in the large food pusher.






















