10033265 Ethanol Fireplace
Instruction Manual![]()
Dear Customer,
Congratulations on purchasing this device. Please read the following instructions carefully and follow them to prevent possible damage. We assume no liability for damage caused by disregard of the instructions and improper use. Scan the QR code to get access to the latest user manual and more product information.
TECHNICAL SPECIFICATIONS
| Item number | 10033265 |
| Product size (mm) | 720x720x113 |
| Size of the burner opening (mm) | 150×25 |
| Net weight (kg) | 12.4 |
| Intended fuel | 95% C₂H₅OH |
| Maximum burner volume (L) | 0.6 |
| Total fuel capacity of the device (L) | 0.6 |
| Fuel consumption (kg / h) | 0.24 |
| Burnout time (h) | 1.9 |
| Heating power (kW) | 1.9 |
| Recommended minimum room volume | 78 m³ |
| 1. The device is for decorative and domestic use only. 2. Read the manual before installation and setup 3. This unit complies with EN16647. 4. Only use fuel with an alcohol concentration of at least 95%. 5. Use only in a well-ventilated room not smaller than 78 m³. 6. Never pour fuel into a hot or burning device. 7. Do not overfill. Wipe up any spilled fuel before igniting the fuel. 8. Only use the unit in a draft-free environment. 9. Do not ignite the fuel while the appliance is hot. 10. Do not move the unit during operation. 11. Never leave small children or pets unattended near a burning appliance. | |
| Manufacturer: Chal-Tec GmbH, Wallstraße 16, 10179 Berlin, Germany. | |
SAFETY INSTRUCTIONS
Note: Children must not use the appliance!
Notes on fuel
Fireplace ethanol is a flammable liquid and presents a real danger if not used in direct compliance with all directions and safety instructions. Keep the fuel out of reach of children and pets. Never let children come into contact with fuel, the fireplace, or fire accessories.
First-aid measures in an emergency
- Eyes: Immediately rinse the affected area with clear water. The eyes should be rinsed for at least 15 minutes. Then visit a doctor immediately. Contaminated clothing should be washed before reuse.
- Ingestion: If the subject is fully conscious and can swallow, have them drink water or milk to dilute the fuel. Never put anything in a person’s mouth if he or she is unconscious or has cramps. See a doctor immediately. Induce vomiting only on the order of the doctor or the poison emergency center.
- Skin: Wash the skin with soap and water for at least 15 minutes.
- Inhalation: Remove the affected person from the area to a location with fresh air. If the person has stopped breathing, start mouth-to-mouth resuscitation immediately and call an ambulance.
Handling and storage of fuel
- Keep the ethanol fuel away from heat, sparks, open flames, and sources of ignition.
- Do not store ethanol fuel in direct sunlight. Ensure that it does not heat up. Always store the fuel in a dry, cool place.
Note: If storing fuel in a very cold place, it may be difficult to ignite. Fill it at room temperature.
Special Precautions

Notes on Operation
WARNING
Risk of suffocation! The fire uses oxygen from the air in the room in which it is operated. The room in which this fireplace is installed must be well ventilated and supplied with sufficient fresh air. Never install or operate the fireplace in an unventilated basement or in a hermetically sealed room.
- Never leave a burning or hot fireplace unattended.
- Keep children and pets away from the unit. Children are not allowed to operate the device.
- Do not use the device in cavities where oxygen tanks or flammable vapors are present.
- Do not use the device if people in the home or in the room suffer from breathing difficulties.
- Do not use the device in confined spaces as the flames consume oxygen.
- Never open a fuel bottle near an open flame, otherwise, the fuel could ignite.
- Never move the fireplace while it is burning or while it is still hot.
- After you fill your fireplace, replace the bottle cap and remove the fuel from the fireplace environment before lighting the fireplace.
- The glass becomes hot when lit and will remain hot for some time after the flame goes out. Do not touch glass surfaces. Keep children, pets, clothing, fabrics, and furniture away from the unit due to the high surface temperatures.
- Use only an extended stick lighter to ignite. Keep face, body, and objects away from the fireplace, extend the hand holding the stick lighter away from you, and light the fire.
- Do not obstruct or prevent flames.
- Do not use the appliance for cooking.
- Allow the fireplace to cool for at least 15-20 minutes before touching, moving, or refueling it.
- Take the same precautions for the fireplace as for open fire (hearth, grill, and other open fire products).
In an emergency, dial 112. Extinguish the fire with a carbon dioxide fire extinguisher and then close the fire chamber to completely choke the fire. Place the extinguisher at a maximum distance of 30 cm from the device. - This manual is part of the device. This device is for decorative and domestic use only.
- Please make sure that the wall, table, or floor on which you place this device can support its weight.
- The ventilation slots must not be covered or obstructed.
- Do not place any flammable objects on the device.
- Pay attention to which wall type the device can be attached to.
- Obtain a suitable fire extinguisher and a fire blanket and make sure that the appropriate fire extinguisher is within 1 meter of the equipment.
- Do not operate the device in a drafty environment.
- Observe local laws.
- Use only in a well-ventilated area.
- Do not light the device while it is still hot.
- The construction of the device must not be changed.
- Use only replacement parts approved by the manufacturer.
- The operation of several units is only permitted if the power is less than or equal to 4.5 kW / h and if additional ventilation of the room is taken into account.
- Remove any fuel which may have overflowed before lighting the device.
- Check the fuel chamber for overfilling after filling. If the chamber has overflowed, remove the excess fuel.
- The device is not suitable for continuous operation.
- Only use the fuel specified by the manufacturer.
- Store the fuel in a fireproof location.
CAUTION
Risk of burns! The fireplace and the surfaces become very hot during use. Do not touch it. Keep children and pets away from the fireplace.
ASSEMBLY
Note: Ethanol is not included and must be purchased separately from a DIY store or fuel retailer.
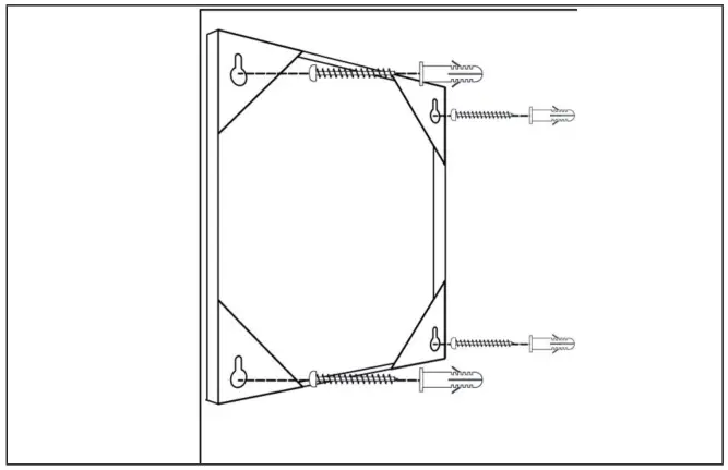
Wall-mounted

IMPORTANT NOTES ON INSTALLATION
- Free-standing fireplaces and table-top appliances must be installed in a safe, level, stable and non-combustible place.
- Wall fireplaces must be mounted on a flat, solid, and stable wall with noncombustible wall cladding in accordance with the instructions.
- Built-in fireplaces must be installed in a non-combustible cavity.
- This fireplace is operated with alcohol which has a low flash point and is volatile.
Have an expert installer check the environment before installing the unit. - Installation is carried out on the basis of this manual.
- The environment within 50-60 cm of the chimney should be lined with heat-resistant materials.
- Make sure that the table fireplace/freestanding fireplace is on a flat table/floor where it will not be touched when walking around. Keep children away from the fireplace.
- Ensure that the burner is not exposed to strong wind.
OPERATION
Notes on the Fuel
- The alcohol used in the fireplace should be stored in a shady and safe place.
- Use 95% bio-ethanol refined from plants.
Note: Use only bio-ethanol as fuel.
Ignite Fire
- Slowly pour the fuel into a clean, cool burner or burner pot. Use the funnel for filling. Fill the burner to a maximum of 2/3. Do not fill too much fuel and do not allow the fuel to come into contact with objects other than the inside of the burner.
Replace the bottle cap and place the bottle far away before lighting. Store the fuel bottle in a dry, cool room. Do not store it in places where it may be exposed to direct sunlight and warm up.
Note: Spilled alcohol may stain floors or furniture. - If fuel has been spilled, clean and dry the affected areas before ignition.
- Do not add alcohol while the fire is burning or the burner is still hot. Wait for 10-20 minutes for the burner to cool down before refilling with fuel.
- Use a fireplace lighter (not supplied) to ignite the alcohol.
- Make sure that all persons present are 20-30 cm away from the fireplace when you ignite it.
Note: The flame begins to flicker slowly. The flame may initially be low and almost invisible, so allow the flame 15 minutes to reach the optimum level. - We recommend that you leave the fireplace burning until all the fuel has been burned.
Extinguish fire
The fire will automatically extinguish when the alcohol has burned out. If you want to extinguish the fire while burning, use the supplied stick to extinguish the fire.
Note: Do not try to blow out the fire or extinguish it with water. The fire may continue to burn even when the flame is no longer visible. Make sure that the fire has been extinguished completely before leaving the room.
Re-ignite fire and top up fuel
Before refilling the fireplace with fuel, observe the following:
- Extinguish the burner with the extinguishing tool supplied or allow the fuel to burn out completely. Allow the unit to cool for 30 minutes before refilling with fuel.
- Wait until the chimney and burner have cooled down to room temperature. The remaining flame may be difficult to see. Make sure that the flame is extinguished and that the chimney no longer emits heat.
- Fill the burner to a maximum of 2/3. Do not overfill it.
- Light the fuel with a fireplace lighter. Keep face and body away from the fireplace during ignition. The flame begins to flicker slowly. The flame may initially be low and
almost invisible, allow the flame 15 minutes to reach the optimum level. - Never leave a burning or hot fireplace unattended. Keep children and pets away from the fireplace.
Note: Ethanol fuel may cause serious burns, property damage, or even death if used improperly and safely. Do not dispose of burnt fuel. Dispose of unused fuel and empty fuel bottles in accordance with local hazardous materials regulations. We recommend that you always burn all the fuel on the burner.
CLEANING AND CARE
- The fireplace and reservoirs must be cleaned regularly. Use warm water and soap.
- Marks can be best removed with a soft cloth and a mixture of lukewarm water and a small amount of soap. We recommend cleaning the stainless steel regularly to prevent contamination.
- Do not put the water inside the burning tank, as the ceramic wool inside will absorb the liquid.
Note: Never use chemicals, steel wool, or scrubbing sponges as stainless steel surfaces can be scratched by these items. The manufacturer will not be held responsible for any damages resulting out of false use and/or cleaning of the product.
MANUFACTURER & IMPORTER (UK)
Manufacturer:
Chal-Tec GmbH, Wallstrasse 16, 10179 Berlin, Germany.
Importer for Great Britain:
Chal-Tec UK limited
Unit 6 Riverside Business Centre
Brighton Road
Shoreham-by-Sea
BN43 6RE
United Kingdom
www.klarstein.com




















