
Operating Instructions
Outdoor Wi-Fi Socket
Item No. 2181463

1. Intended use
This product is intended for switching and measuring the power consumption of mains-operated devices.
Operation or programming is carried out via Wi-Fi using the “Sygonix RSL RS2W” application for mobile devices.
Only connect to a standard household protective contact mains socket. Do not exceed the electrical load power rating (see chapter “Technical Data”).
This device is not officially calibrated and should not be used for billing purposes.
This product has an ingress protection rating of IP44. The rating is effective when the socket cover is closed and if connected to a power outlet rated IP44 or higher.
If you use the product for purposes other than described above, it may be damaged. In addition, improper use can cause hazards such as an electric shock, short circuit, fire, etc. Read the operating instructions carefully and store them in a safe place. Pass on the product to third parties only along with the product documentation.
This product complies with statutory national and European regulations. All company and product names are trademarks of their respective owners. All rights reserved. Android™ is a registered trademark of Google LLC.
2. Explanation of symbols

The symbol with the lightning in a triangle indicates that there is a risk to your health, e.g. due to an electric shock.

The symbol with an exclamation mark in a triangle is used to highlight important information in these operating instructions. Always read this information carefully.
![]()
The arrow symbol indicates special information and tips on how to use the product.

Read the operating instructions carefully.
3. Delivery content
• Wi-Fi socket
• Warning labels
• Operating instructions
4. Warning labels
Warning labels are included in the package. Stick a label in your language over or next to the language label on the product.
5. Application
There are compatible Android and iOS apps available from their respective app stores. Look for the “Sygonix RSL RS2W” app and download it onto your smart device. An app instruction manual is available from the URL listed in chapter 6 “Up-to-date operating instructions”.

The product is compatible with the Conrad Connect IoT platform at www.conradconnect.com
6. Up-to-date operating instructions
Download the latest operating instructions at www.conrad.com/downloads or scan the QR code shown. Follow the instructions on the website.

http://www.conrad.com/downloads
7. Safety instructions

Read the operating instructions and safety information carefully. If you do not follow the safety information and information on proper handling in these operating instructions, we will assume no liability for any resulting personal injury or damage to property. Such cases will invalidate the warranty/guarantee.
a) General information
- The unauthorized conversion and/or modification of the product is not allowed for safety and approval reasons. Do not open/disassemble!
- The product is designed in accordance with protection class I. Only a standard grounding mains socket of the public supply grid (a wall socket, for example) may be used as a power source.
- The mains socket to which the product is connected must be easily accessible.
- The product is not a toy and should be kept out of the reach of children. Position the product so it is out of the reach of children.
- The product is equipped with enhanced protection against accidental contact. An integrated mechanism will release the holes of the receptacle only if the two prongs of a power plug are inserted into the two holes at once.
- Do not leave the packaging material lying around carelessly as it may be a danger to children.
- Handle the product with care; it can be damaged by impacts, blows, or falls even from a low height.
- If you have any questions that are not answered in this manual, please contact our technical service or another specialist.
b) Operating location
- Observe the products ingress protection rating. Please refer to the chapter “Ingress protection rating (IP44)”.
- Never position the product in direct vicinity of a bathtub, shower, bathroom, swimming pool, or similar. Lethal hazard due to electric shock!
- The product must not be exposed to extremes of temperature, direct sunlight or strong vibrations. Keep the product away from strong magnetic fields generated by machines, electric motors or loudspeakers.
- Do not operate the device in environments where there are high levels of dust, flammable gases, vapours or solvents. There is a danger of fire and explosion!
- Do not use this product in hospitals or medical institutions. Radio waves may interfere with medical equipment. The same may also apply to other areas.
c) Handling and use
- Never plugin, unplug or operate the product when your hands are damp or wet. There is a risk of a life-threatening electric shock! The same applies for the load that is plugged into the socket of the product.
- Never connect the product to the power supply immediately after it has been transferred from a cold room into a warm one (e.g. during transport). The condensation that forms might destroy the device. Moreover, there is danger of electric shock! Allow the product to reach room temperature. Wait until the condensation has evaporated. This might take several hours. Only then the product may be plugged into the mains socket and put into use.
- Always use the gripping surface to pull a mains plug out of
the product. - Never overload the product. Note the maximum permissible connected load in the chapter “Technical Data”.
- Do not connect in series! This can lead to an overload of the product! There is a risk of fire!
- Do not operate while covered! At higher connected loads, the product becomes warm, which can lead to overheating and potentially a fire if covered!
- Disconnect the product from the mains socket in thunderstorms for reasons of safety.
d) Ingress protection rating (IP44)
- This product has an IP44 ingress protection rating. This means it is “splash proof” and protected from objects greater than 1 millimeter in size and water spray from any direction.
- This rating is only effective if:
– The socket cover is closed.
– The plug is connected to a power outlet that is rated IP44 or higher.
e) Connected devices
- Also observe the safety and operating instructions of any other devices which are connected to the product.
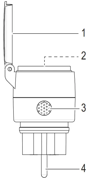
8. Operating elements

- Socket cover
- Socket
- Power button Status indicator
- Plug
9. Connection
- Connect the plug (4) to a regular grounded mains socket (wall socket).
- Plug a load into the socket (2).
10. Operation
a) Power on / off
Press the power button (3) to turn the socket on or off.
• Status indicator (3) on: Power to connected load.
• Status indicator off: No power to connected load.
b) Connection mode
When you connect the plug to a mains socket for the first time, the device will automatically enter App connection mode (status indicator flashes).
Otherwise press and hold the power button until the status indicator flashes.
c) Socket control
Refer to the app manual to learn more about socket controls.
d) Status indicator
Light | Operating mode |
| Off | No power to connected loads |
| On | Power on and connected to W-Fi |
| Flashing slow (on 1s, off 1s) | Not connected to Wi-Fi Ready for connection to App |
| Flashing fast (on 2s, off 1s) | Connecting to Wi-Fi |
e) Reset product
If the device is not functioning correctly or you cannot connect to Wi-Fi, you may need to perform a reset:
• Disconnect the plug and wait 10 seconds.
• Reconnect to the power supply.
11. Maintenance and cleaning
- The product does not require any maintenance. You should not open/disassemble it. Repair or maintenance work must be carried out by a specialist.
- Before cleaning, disconnect the product from the power supply. To do this, pull it completely out of the mains socket.
- Disconnect connected loads.
- Do not use any aggressive cleaning agents, rubbing alcohol, or other chemical solutions as they can cause damage to the housing and malfunctioning.
- Clean the product with a dry, fiber-free cloth.
12. Declaration of Conformity (DOC)
Conrad Electronic SE, Klaus-Conrad-Straße 1, D-92240 Hirschau hereby declares that this product conforms to the 2014/53/EU directive.
Click on the following link to read the full text of the EU declaration of conformity: www.conrad.com/downloads
Select a language by clicking on a flag symbol and enter the product order number in the search box. You can then download the EU declaration of conformity in PDF format.
13. Disposal
Electronic devices are recyclable waste and must not be disposed of in the household waste. At the end of its service life, dispose of the product in accordance with applicable regulatory guidelines.
14. Technical data
Operating voltage ………………………230 V/AC 50 Hz
Electrical load power rating …………max. 13 A / 3000 W
Protection class …………………………IP44
Network ……………………………………Wi-Fi 802.11 b/g/n, 2.4 GHz
Transmission power…………………… 16 dBm (802.11b)
14 dBm (802.11g)
13 dBm (802.11n)
Transmission frequency range …….2.412 – 2.472 GHz
Transmission distance ………………..30 m (open area)
Supported OS. ………………………….. Android 5.0 (or higher)
IOS 9.0 (or higher)
Operating conditions …………………..-10 to +45 °C
Storage conditions ……………………..-10 to +50 °C
Dimensions (W x H x D) ……………..60 x 53 x 95 mm
Weight ……………………………………..92 g
This is a publication by Conrad Electronic SE, Klaus-Conrad-Str. 1, D-92240 Hirschau (www.conrad.com).
All rights including translation reserved. Reproduction by any method, e.g. photocopy, microfilming, or the capture in electronic data processing systems require prior written approval by the editor. Reprinting, also in part, is prohibited. This publication represents the technical status at the time of printing.
Copyright 2021 by Conrad Electronic SE.
218463_v3_0321_02_dh_m_en



















