
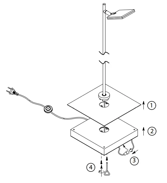
836548 / 836549 – PURE-MIRA
356 LED Table Lamp
This product contains a light source of energy efficiency class <E>.

![]() | ![]() |
Paul Neuhaus GmbH
Olakenweg 36 • D-59457 Werl
+49(0)2922 9721 9290
[email protected]
www.paul-neuhaus.de

836548 / 836549 – PURE-MIRA
This product contains a light source of energy efficiency class <E>.

![]() | ![]() |
Paul Neuhaus GmbH
Olakenweg 36 • D-59457 Werl
+49(0)2922 9721 9290
[email protected]
www.paul-neuhaus.de
Download manual
Here you can download full pdf version of manual, it may contain additional safety instructions, warranty information, FCC rules, etc.