ICE-45 Mix It In Soft Serve Ice Cream Maker
Recipe Booklet Reverse Side
Instructions

For your safety and continued enjoyment of this product, always read the instruction book carefully before using.
IMPORTANT SAFEGUARDS
When using an electrical appliance, basic safety precautions should always be followed to reduce the risk of fire, electric shock, and/ or injury, including the following:
- READ ALL INSTRUCTIONS BEFORE USING.
- To protect against risk of electric shock, do not place cord, plug, or base of appliance in water or any other liquid.
- Close supervision is necessary when any appliance is used by or near children.
- Always unplug appliance from outlet when not in use, before putting on or taking off parts, and before cleaning.
- Avoid contact with moving parts. Keep hands, hair, clothing, as well as spatulas and other utensils away from appliance during operation to reduce the risk of injury and/or damage to the appliance.
- Do not operate any appliance with a damaged cord or plug, or after the appliance malfunctions, or is dropped or damaged in any manner. Return the appliance to the nearest Cuisinart Repair Center for examination, repair, electrical or mechanical adjustment.
- The use of attachments other than those made by Cuisinart may cause fire, electric shock or risk of injuries.
- Do not use outdoors.
- Do not let cord hang over edge of table or counter, or touch hot surfaces.
- Keep hands and utensils out of freezer bowl while in use to reduce the risk of injury to persons or to the appliance itself. DO NOT USE SHARP OBJECTS OR UTENSILS INSIDE THE FREEZER BOWL! Sharp objects will scratch and damage the inside of the freezer bowl. A rubber spatula or wooden spoon may be used when the appliance is in the OFF position.
- This appliance is for household use. Any servicing other than cleaning and user maintenance should be done only by authorized Cuisinart Repair Personnel.
- Do not use the freezer bowl on flames, hot plates or stoves. Do not expose to heat source. Do not wash in dish washer; doing so may cause risk of fire, electric shock or injury.
SAVE THESE INSTRUCTIONS
FOR HOUSEHOLD USE ONLY
SPECIAL CORD SET INSTRUCTIONS
A short power supply cord is provided to reduce the risks resulting from becoming entangled in or tripping over a longer cord.
Longer extension cords are available and may be used if care is exercised in their use.
If a long extension cord is used, the marked electrical rating of the extension cord should be at least as great as the electrical rating of the appliance. The longer cord should be arranged so that it will not drape over the countertop or tabletop where it can be pulled on by children or animals, or tripped over.
NOTICE
This appliance has a polarized plug (one blade is wider than the other). To reduce the risk of electric shock, this plug will fit in a polarized outlet only one way. If the plug does not fit fully in the outlet, reverse the plug. If it still does not fit, contact a qualified electrician. Do not attempt to defeat this safety feature.
CAUTION
This appliance is for household use. Any servicing other than cleaning and user maintenance should be performed by an authorized service representative.
- Do not immerse base in water.
- To reduce the risk of fire or electric shock, do not disassemble the base.
Note: the base does not contain any user-serviceable parts. - Repairs should be made only by authorized personnel.
- Check voltage to be sure that the voltage indicated on the name plate agrees with your voltage.
- Never clean with scouring powders or hard implements.
INTRODUCTION
Get ready to enjoy professional-quality soft ice cream, yogurt, sorbet and sherbet right at home, with your new Cuisinart® Mix It In™ Soft Serve Ice Cream Maker. Not only can you make all of your favorites, but with three built-in condiment dispensers, you can make them extra delicious! With the pull of a tab, sprinkles, chips and other toppings mix right into your frozen dessert as you fill up cones or bowls. Operation is fully automatic, so just pick a recipe from the ones we’ve included, put the ingredients in the bowl, and turn the dial!
BEFORE USING FOR THE FIRST TIME
DO NOT immerse this product in water. Wipe it with a moist cloth. Wash the lid, freezer bowl, mixing arm, condiment containers, condiment chute and drip tray in warm soapy water to remove any dust or residue from the manufacturing and shipping process. DO NOT clean any of the parts with abrasive cleaners or hard implements. DO NOT immerse unit in water or put unit under running water. Clean with a damp cloth only.
FREEZING TIME AND BOWL PREPARATION
The freezer bowl must be completely frozen before you begin your recipe. Before freezing, wash and dry the bowl. Wrap it in a plastic bag to prevent freezer burn. We recommend that you place the freezer bowl in the back of your freezer where it is coldest. Be sure to place the freezer bowl on a flat surface in its upright position for even freezing. The length of time needed to reach the frozen state depends on how cold your freezer is.
For the most convenient frozen desserts, leave your freezer bowl in the freezer at all times. You can take it out any time for immediate use. In general, freezing time should be a minimum of 12 hours. To determine whether the bowl is completely frozen, shake it. If you do not hear liquid moving, the cooling liquid is frozen.
Reminder: Your freezer should be set to 0°F to ensure proper freezing of all foods.
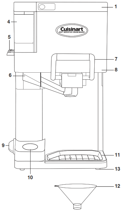
FEATURES AND BENEFITS

- Easy-lock Lid with Window – Lid is designed to remove and lock easily. An ingredient window allows you to pour ingredients directly through the top and watch the freezing process.
- Mixing Arm (not shown) – Mixes and aerates ingredients in freezer bowl to create smooth soft ice cream.
- 1 1 ⁄2-Quart Freezer Bowl (not shown) – Contains cooling liquid within a double-insulated wall to create fast and even freezing. Double wall keeps the bowl cool and at an even temperature.
- Three Condiment Containers – Dispense the mix-ins of your choice. The front condiment container with a curved edge dispenses small mix-ins such as sprinkles. Two rectangular condiment containers dispense larger mix-ins such as mini M&M ® s or mini chocolate morsels.
- Condiment Dispensing Levers – Pull out one of three levers to add the mix-ins of your choice into your soft ice cream.
- Condiment Chute – Mix-ins are dispensed from the chute into your ice cream cone or bowl while you dispense ice cream. Removable for easy cleaning.
- Dispensing Bracket with Handle – Dispenses the soft ice cream when handle is pulled down. Removable for easy cleaning.
- Base – Contains heavy-duty motor strong enough to make and dispense ice cream.
- ON/OFF Power Dial 10. Cone Holder – Conveniently holds a stack of extra ice cream cones. Can hold both flat and pointed-bottom cones.
- Removable Drip Tray – Can be removed for easy cleaning. Dot in center of tray indicates where to place the ice cream cone.
- Mix-in Gauge – Check the size of mix-ins by dropping them through. Mix-ins that do not fit through will clog the ice cream maker.
- Rubber Feet – Nonslip feet keep base stationary during use.
ASSEMBLY
- Insert the condiment containers into the indent on the top side of the ICE-45 so that they are firmly in place. The condiment container with the rounded edge should be inserted into the front space.
- Place the small narrow cover over the condiment containers.
- Attach the dispenser with handle by inserting the tab into the slot under the dispensing area, then push the dispenser upwards until it locks into place. (Make sure the handle is in the upright position.)

- Slide the condiment chute into the space provided under the condiment containers. Be sure to slide it all the way in until it stops.

- Place the drip tray on the base under the dispenser.
- Push the mixing arm into the hole on the bottom of the lid.
- Insert the freezer bowl. Make sure that it is securely in place.
- Put the lid with mixing arm attached over the freezer bowl and push down until it clicks securely in place. To remove lid, push in and lift the two side tabs.

MAKING SOFT SERVE ICE CREAM AND FROZEN DESSERTS
- Fill the condiment containers with the desired mix-ins. Place small mix-ins such as sprinkles in the front condiment container with the curved edge. Place large mix-ins such as mini M&M ® s or mini chocolate morsels in the rectangular condiment containers.
NOTE: Do not place liquid condiments in the condiment containers. - Use Cuisinart’s recipes from the pages that follow. Do not fill the freezer bowl higher than ½” from the top, as the ingredients will increase in volume during the freezing process. For best results, prepare ingredients in a container from which it is easy to pour.
- Remove the freezer bowl from the freezer. (Remove plastic bag if you have wrapped freezer bowl.) Lift the lid and place freezer bowl inside the base.
NOTE: Bowl will begin to defrost quickly once it has been removed from freezer. Use it immediately after removing from freezer. - Push the mixing arm into the hole on the bottom of the lid.
- Place lid with mixing arm on base and push down until it locks in place.
- Turn the power dial to the ON position. Mixing arm will begin to turn.
- Add ingredients to the freezer bowl by pouring them through the opening in the lid.
- Soft ice cream will be finished in as little as 20 minutes. The time will depend on the recipe and volume of the dessert you are making. If ingredients are refrigerated, ice cream making time will be reduced.
NOTE: You must watch the ice cream to determine when to dispense. If you wait too long, ice cream may get too thick to dispense. If this happens, remove the bowl, scoop out and enjoy the ice cream. - Hold an ice cream cone or bowl one inch below the ice cream chute and pull down the handle to dispense the soft ice cream. Turn cup or bowl as you dispense to swirl ice cream.
- Pull out one, two or all three condiment dispen sing levers to add the mix-ins of your choice into your soft ice cream or dessert. To stop the flow of mix-ins, push in the dispensing levers.
- When finished filling the cone or bowl, push the handle back up to stop the flow of ice cream.
NOTES: Some liquid may initially come out of the dispensing bracket when the handle is first pulled down. Use a cup to collect this liquid, then proceed with filling the first bowl or cone.
Do not store frozen desserts in the freezer bowl. Desserts will stick to the side of the freezer bowl and may damage the bowl. Store only in an airtight container.
The ice cream will lose its soft consistency and harden after it is stored in the freezer.
RECOMMENDED MIX-INS
These items can be found in most wellstocked grocery stores and specialty grocery/gourmet food stores.
The location of the items will depend upon the individual store (for example, some items will be found near the ice cream and ice cream cones while others may be found in the baking section).
Mini M&M ® s*
Mini chocolate morsels*
Confetti sprinkles
Chocolate sprinkles
Caramel sprinkles
Praline crunch
Critter crunch or other decorative crunch bits
Almond brickle bits/chips
*NOTE: Do not use full sized M&M ® s or chocolate morsels, they are too large to dispense. Use the mix-in gauge to make sure mix-ins are not too large. If they do not fit through the hole in the gauge, then they will clog the unit.
SAFETY FEATURE
The Cuisinart ® Mix It In ™ Soft Serve Ice Cream Maker is equipped with a safety feature that automatically stops the unit if the motor overheats. This may occur if the dessert is extremely thick or if the unit has been running for an excessively long period of time, or if added condiments are too large. If ice cream is too thick to dispense, remove the bowl and eat the ice cream.
DISASSEMBLING FOR CLEANING
- Remove the lid and disconnect the mixing paddle.
- Lift the freezer bowl up and out of the base.
- Remove the condiment chute by pulling it toward you.
- Remove the dispensing bracket with handle by pushing the button located on the center of the face of the dispenser down and pulling it down and out towards you.
TROUBLESHOOTING
| Problem | Solution |
| Ice cream is not ready in recommended time. | Check recipe to make sure that the ingredients are correct. Keep the freezer bowl in the freezer for a longer amount of time before making ice cream. Do not et freezer bowl sit outside of the freezer for more than 5 minutes before making ice cream. Make sure your freezer is set to 0˚F. |
| Ice cream is not dispensing. | The ice cream may be too thick. Check the processing time. Check recipe to ake sure that the ingredients are correct. Remove the bowl, scoop out and eat the ice cream. |
| Motor stalls. | The ice cream may be too thick. Check the processing time. Turn off ice cream aker. Clean ice cream maker and put freezer bowl in the freezer. Make a new atch once the bowl is frozen for the recommended amount of time. |
| Mix-ins are not dispensing. | Check the condiment chute to make sure that mix-ins are not stuck. Clean and dry the chute. Check mixins to make sure that they are not melting. Clean and dry condiment dispensers. Check for jammed mix-ins. Mix-ins may be too large. |
| The mixing arm is not turning. | Check to make sure there is no ice in the freezer bowl. Check to see if unit is n. The ice cream may be too thick. |
CLEANING
- Unplug your Cuisinart ® Mix It In ™ Soft Serve Ice Cream Maker before cleaning.
- Base: Wipe with a damp cloth and dry. Never use abrasives or immerse in water.
- Freezer Bowl and Lid: Wash by hand in warm soapy water and dry thoroughly. DO NOT PUT IN THE DISHWASHER. DO NOT CLEAN WITH ABRASIVE CLEANSERS OR IMPLEMENTS.
- Handle with Dispensing Bracket: Wash thoroughly by hand in warm soapy water. Be sure to eliminate all ice cream residue by cleaning the dispensing while it is opened (with the handle pushed down) and closed (with handle up).
- Mixing Arm, Condiment Containers, Condiment Chute and Drip Tray: Wash by hand in warm soapy water and dry thoroughly. These parts are also top rack dishwasher-safe. Be careful not to remove the small rubber pads that are located inside the condiment containers when cleaning. The rubber pads are a part of the condiment containers and are not removable.
STORAGE
DO NOT put freezer bowl in freezer if bowl is wet. DO NOT store lid, mixing arm, base, drip tray or condiment containers in the freezer. You may store the freezer bowl in the freezer, in its upright position, for convenient, immediate use. Before freezing, wrap the bowl in a plastic bag to prevent freezer burn. Do not store frozen desserts in the freezer bowl. Transfer desserts to an airtight container for longer storage in the freezer. When filled condiment containers are not in use, store in a cool, dark place. Empty containers if not used once a week. Start with fresh mix-ins so they don’t spoil.
NOTE: The ice cream will lose its soft consistency and harden after it is stored in the freezer
WARRANTY
LIMITED THREE-YEAR WARRANTY
This warranty is available to consumers only. You are a consumer if you own a Cuisinart ® Mix It In ™ Soft Serve Ice Cream Maker which was purchased at retail for personal, family or household use. Except as otherwise required under applicable law,this warranty is not available to retailers or other commercial purchasers or owners.
We warrant that your Cuisinart ® Mix It In ™ Soft ServIce Cream Maker will be free of defects in materials and workmanship under normal home use for 3 years from the date of original purchase.
We suggest you complete and return the enclosedproduct registration card promptly to facilitate verification of the date of original purchase. However, return of the product registration card does not eliminate the need for the consumer to maintain the original proof of purchase in order to obtain the warranty benefits. In the event that you do not have proof of purchase date, the purchase date for purposes of this warranty will be the date omanufacture.
If your Cuisinart ® Mix It In ™ Soft Serve Ice Cream Maker should prove to be defective within the warranty period, we will repair or, if we think necessary, replace it.
To obtain warranty service, please call our Customer Service Center toll-free a1-800-726-0190 or write to: Cuisinart 150 Milford Road, East Windsor, NJ 08520 To facilitate the speed and accuracy of your return, enclose $10.00 for shipping and handling. (California residents need only supply a proof of purchase and should call 1-800-726-0190 for shipping instructions.) Please be sure to include your return address, description of the product’s defect, product serial number, and any other information pertinent to the return. Please pay by check or money order.
NOTE: For added protection and secure handling of any Cuisinart ® product that is being returned, we recommend you use a traceable, insured delivery service. Cuisinart cannot be held responsible for in-transit damage or for packages that are not delivered to us. Lost and/or damaged products are not covered under warranty.
Your Cuisinart ® Mix It In ™ Soft Serve Ice Cream Maker has been manufactured to the strictest specifications and has been designed for use only with authorized accessories and replacement parts. This warranty expressly excludes any defects or damages caused by accessories, replacement parts or repair service other than those authorized by Cuisinart. This warranty does not cover any damage caused by accident, misuse, shipment or other than ordinary household use. This warranty excludes all incidental or consequential damages. Some states do not allow the exclusion or limitation of these damages, so they may not apply to you.
CALIFORNIA RESIDENTS ONLY
California law provides that for In-Warranty Service, California residents have the option of returning a nonconforming product (A) to the store where it was purchased or (B) to another retail store which sells Cuisinart ® products of the same type. The retail store shall then, according to its preference, either repair the product, refer the consumer to an independent repair facility, replace the product, or refund the purchase price less the amount directly attributable to the consumer’s prior usage of the product. If the above two options do not result in the appropriate relief to the consumer, the consumer may then take the product to an independent repair facility if service or repair can be economically accomplished. Cuisinart and not the consumer will be responsible for the reasonable cost of such service, repair, replacement, or refund for nonconforming products under warranty.
California residents may also, according to their preference, return nonconforming products directly to Cuisinart for repair or, if necessary, replacement by calling our Consumer Service Center toll-free at 800-726-0190. Cuisinart will be responsible for the cost of the repair, replacement, and shipping and handling for such nonconforming products under warranty.
BEFORE RETURNING YOUR CUISINART® PRODUCT
Important: If the nonconforming product is to be serviced by someone other than Cuisinart’s Authorized Service Center, please remind the servicer to call our Consumer ervice Center to ensure that the problem is properly diagnosed, the product serviced with the correct parts, and to ensure that the product is still under warranty.
©2006 Cuisinart
Cuisinart ® is a registered trademark of Cuisinart
150 Milford Road
East Windsor, NJ 08520
Printed in China
05CU26519
Any other trademarks or service marks referred to herein are the trademarks or service marks of their respective owners.
Instruction Booklet
Reverse Side

Simple Vanilla Ice Cream
Makes about ten ½-cup servings.
1 cup whole milk, well chilled.
¾ cup granulated sugar.
2 cups heavy cream, well chilled.
1 to 2 teaspoons pure vanilla extract, to taste.
Place milk and sugar in a medium bowl. Use a hand mixer (about 1 to 2 minutes on low speed) or a whisk to mix until the sugar is dissolved. Stir in the heavy cream and vanilla to taste. If not making ice cream immediately, cover and refrigerate until ready to use.
Turn on ice cream maker and pour in ingredients. Allow to mix and freeze until desired serving consistency is reached. Begin checking consistency after 12 to 15 minutes of freezing. If ice cream is not thick enough, pour back into the freezer bowl and continue mixing/freezing until desired consistency is reached, checking every few minutes.
Serve in cups or cones, adding mix-ins while dispensing ice cream.
Nutritional information per serving:
Calories 238 (68% from fat) • carb. 17g • pro. 2g • fat 19g • sat. fat 12g • chol. 69mg • sod. 30mg • calc. 60mg • fiber 0g
Lower Fat Variation:
1 cup reduced fat milk (2%).
¾ cup granulated sugar.
2 cups half-and-half, well chilled.
1 to 2 teaspoons pure vanilla extact, to taste.
Mix and freeze as above.
Nutritional information per serving:
Calories 132 (40% from fat) • carb. 18g • pro. 2g• fat 6g • sat. fat 4g • chol. 29mg • sod. 32mg • calc. 81mg • fiber 0g
Simple Chocolate Ice Cream
Makes about ten ½-cup servings
²∕³ cup unsweetened cocoa powder (Dutch process preferred).
½ cup granulated sugar.
¹∕³cup firmly packed brown sugar.
1cup whole milk.
2cups heavy cream.
1 teaspoon pure vanilla extract.
Place the cocoa and sugars in a medium bowl; stir with a whisk to combine and remove any lumps. Add the whole milk and use a hand mixer (about 1 to 2 minutes on low speed) or whisk to combine the milk with the cocoa powder and sugars until they are dissolved. Stir in the heavy cream and vanilla. If not freezing immediately, cover and refrigerate until ready to use.
Turn on ice cream maker and pour in ingredients. Allow to mix and freeze until desired serving consistency is reached. Begin checking consistency after 12 to 15 minutes of freezing. If ice cream is not thick enough, pour back into the freezer bowl and continue mixing/freezing until desired consistency is reached, checking every few minutes.
Serve in cups or cones, adding mix-ins while dispensing ice cream.
Nutritional information per serving:
Calories 255 (62% from fat) • carb. 23g • pro. 3g• fat 18g • sat. fat 12g • chol. 69mg • sod. 33mg • calc. 75mg • fiber 3g
Strawberry Ice Cream
Makes about ten ½-cup servings
8 ounces very red, ripe strawberries – fresh summer berries or frozen berries, thawed
²∕³ cup granulated sugar
¼ teaspoon pure vanilla extract
²∕³ cup whole milk
1¹∕³cups heavy cream
Place strawberries, granulated sugar, vanilla, and whole milk in a blender jar or food processor fitted with the metal “s” blade, and blend on high speed until completely smooth and homogenous, about 40 to 50 seconds. Pour into a bowl and stir in heavy cream. If not making ice cream immediately, cover and refrigerate until ready to use. Turn on ice cream maker and pour in ingredients. Allow to mix and freeze until desired serving consistency is reached. Begin checking consistency after 12 to 15 minutes of freezing. If ice cream is not thick enough, pour back into the freezer bowl and continue mixing/freezing until desired consistency is reached, checking every few minutes. Serve in cups or cones, adding mix-ins while dispensing ice cream.
Nutritional information per serving:
Calories 178 (60% from fat) • carb. 17g • pro. 1g. • fat 12g • sat. fat 8g • chol. 46mg • sod. 20mg • calc. 43mg • fiber 1g .
Mint Ice Cream
Makes about ten ½-cup servings
1cup whole milk, well chilled
¾ cup granulated sugar
2 cups heavy cream, well chilled
1teaspoon mint extract (may usepeppermint orspearmint)
4-5 drops green or pink food coloring
Place milk and sugar in a medium bowl. Use a hand mixer (about 1 to 2 minutes on low speed) or a whisk to mix until the sugar is dissolved. Stir in the heavy cream and mint extract. Add food coloring in drops to reach desired color. If not freezing immediately, cover and refrigerate until ready to use.
Turn on ice cream maker and pour in ingredients. Allow to mix and freeze until desired serving consistency is reached. Begin checking consistency after 12 to 15 minutes of freezing. If ice cream is not thick enough, pour back into the freezer bowl and continue mixing/freezing until desired consistency is reached, checking every few minutes. Serve in cups or cones, adding mix-ins while dispensing ice cream.
For mint chip ice cream: add mini chocolate morsels.
Nutritional information per serving:
Calories 238 (68% from fat) • carb. 17g • pro. 2g • fat 19g • sat. fat 12g • chol. 69mg • sod. 30mg • calc. 60mg • fiber 0g
Coffee Ice Cream
Makes about ten ½-cup servings.
1cup whole milk, well chilled.
½ cup granulated sugar.
¼ cup packed brown sugar.
1-1½ tablespoons instant espressoor coffee, to taste.
2cups heavy cream, well chilled.
1 teaspoon pure vanilla extract.
Place milk, both sugars, and espresso powder in a medium bowl. Use a hand mixer (about 1 to 2 minutes on low speed) or a whisk to mix until the sugar is dissolved, about 1 to 2 minutes on low speed. Stir in the heavy cream and vanilla to taste. If not making ice cream immediately, cover and refrigerate until ready to use.
Turn on ice cream maker and pour in ingredients. Allow to mix and freeze until desired serving consistency is reached. Begin checking consistency after 12 to 15 minutes of freezing. If ice cream is not thick enough, pour back into the freezer bowl and continue mixing/freezing until desired consistency is reached, checking every few minutes.
Serve in cups or cones, adding mix-ins while dispensing ice cream.
Nutritional information per serving:
Calories 257 (67% from fat) • carb. 19g • pro. 3g • fat 19g • sat. fat 12g • chol. 72mg • sod. 44mg • calc. 95mg • fiber 0g
Cheesecake Ice Cream
Makes about ten ½-cup servings.
16 ounces lowfat cream cheese, cut into 1-inch pieces, at room temperature.
1 can (14 ounces) fat free sweetened condensed milk.
1 cup fat free half-and-half.
1 teaspoon pure vanilla extract.
½ teaspoon pure lemon extract.
½ teaspoon pure almond extract.
Place cream cheese and sweetened condensed milk in a medium bowl. Use a hand mixer (about 1 to 2 minutes on low speed) or a whisk to mix until smooth. Stir in the half-and-half and extracts. If not freezing immediately, cover and refrigerate until ready to use.
Turn on ice cream maker and pour in ingredients. Allow to mix and freeze until desired serving consistency is reached. Begin checking consistency after 12 to 15 minutes of freezing. If ice cream is not thick enough, pour back into the freezer bowl and continue mixing/freezing until desired consistency is reached, checking every few minutes.
Serve in cups or cones, adding mix-ins while dispensing ice cream.
Nutritional information per serving:
Calories 228 (33% from fat) • carb. 29g • pro. 8g • fat 8g • sat. fat 5g • chol. 19mg • sod. 317mg • calc. 189mg • fiber 0g
Peanut Butter Ice Cream
Creamy peanut butter ice cream is a favorite of kids of all ages.
Makes about ten ½-cup servings.
1 cup creamy peanut butter.
²∕³cup granulated sugar.
1cup whole milk.
1½ cups half-and-half.
1teaspoon pure vanilla extract.
Place peanut butter and sugar in a medium bowl. Stir with a whisk until smooth. Add milk and stir until smooth and sugar is dissolved. Stir in half-and-half and vanilla. If not freezing immediately, cover and place in refrigerator until ready to use.
Turn on ice cream maker and pour in ingredients. Allow to mix and freeze until desired serving consistency is reached. Begin checking consistency after 12 to 15 minutes of freezing. If ice cream is not thick enough, pour back into the freezer bowl and continue mixing/freezing until desired consistency is reached, checking every few minutes. Serve in cups or cones, adding mix-ins while dispensing ice cream.
Nutritional information per serving:
Calories 265 (58% from fat)• carb. 21g • pro. 8g • fat 18g • sat. fat 6g • chol. 17mg • sod. 150mg • calc. 76mg • fiber 2g
Tropical Fruit Ice Cream
Citrus is blended with mango and papaya for a tropical flavor that everyone will love. Makes about ten ½-cup servings
²∕³cup orange or tangerine juiceconcentrate,thawed.
²∕³cup (5 ounces) mango purée*.
²∕³cup (6 ounces) papaya purée*.
²∕³cup granulated sugar.
½ tablespoon fresh lemon juice.
½ teaspoon pure vanilla extract.
²∕³cup whole milk.
²∕³cup heavy cream.
Place the orange juice concentrate, mango purée, papaya purée, sugar, lemon juice, vanilla, and milk in a blender jar. Blend on high speed until smooth and homogenous, about 1 minute. Transfer to a bowl and stir in heavy cream. If not freezing immediately, cover and refrigerate until ready to use.
Turn on ice cream maker and pour in ingredients. Allow to mix and freeze until desired serving consistency is reached. Begin checking consistency after 12 to 15 minutes of freezing. If ice cream is not thick enough, pour back into the freezer bowl and continue mixing/freezing until desired consistency is reached, checking every few minutes.
Serve in cups or cones, adding mix-ins while dispensing ice cream. *Available in the frozen food section of well-stocked grocery stores. Fruit purées can also be made by puréeing fresh or frozen thawed fruit.
Nutritional information per serving:
Calories 159 (35% from fat) • carb. 25g • pro. 1g • fat 6g • sat. fat 4g • chol. 24mg • sod. 17mg • calc. 39mg • fiber 1g
Banana Ice Cream
Makes about ten ½-cup servings.
2medium bananas, ripe but not overripe, cut into 1-inch pieces.
²∕³cup granulated sugar.
1tablespoon fresh lemon juice.
¾ cup whole milk.
½ teaspoon pure vanilla extract.
1¹∕³cups heavy cream.
1 to 2 drops yellow food coloring to givethe yellow banana color, optional.
Place the bananas, granulated sugar, lemon juice, whole milk, and vanilla in a blender jar and blend on high speed for 40 to 50 seconds until smooth, creamy and completely homogenous. Transfer to a bowl and stir in the heavy cream. Add yellow food coloring if using. If not freezing immediately, cover and refrigerate until ready to use.
Turn on ice cream maker and pour in ingredients. Allow to mix and freeze until desired serving consistency is reached. Begin checking consistency after 12 to 15 minutes of freezing. If ice cream is not thick enough, pour back into the freezer bowl and continue mixing/freezing until desired consistency is reached, checking every few minutes.
Serve in cups or cones, adding mix-ins while dispensing ice cream.
Nutritional information per serving: Calories 193 (56% from fat) • carb. 20g • pro. 1g • fat 12g • sat. fat 7g • chol. 46mg • sod. 21mg • calc. 44mg • fiber 0g
For Chocolate Banana Ice Cream: Add ¼ cup unsweetened cocoa powder and ¼ cup chocolate syrup to the blender along with the first 5 ingredients and blend as directed.
Coconut Ice Cream
Makes about ten ½-cup servings.
²∕ ³ cup sweetened coconut flakes.
²∕ ³ cup granulated sugar.
1 cup lite coconut milk (do not use regular).
½ teaspoon coconut extract.
½ teaspoon pure vanilla extract.
1 cup whole milk.
1¼ cups heavy cream.
Place the coconut flakes, granulated sugar, lite coconut milk, and both extracts in jar of a blender in that order. Blend on high speed until smooth and homogenous, about 40 to 50 seconds. Transfer to a bowl and stir in the milk and cream. If not making ice cream immediately, cover and refrigerate until ready to use.
Turn on ice cream maker and pour in ingredients. Allow to mix and freeze until desired serving consistency is reached. Begin checking consistency after 12 to 15 minutes of freezing. If ice cream is not thick enough, pour back into the freezer bowl and continue mixing/freezing until desired consistency is reached, checking every few minutes. Serve in cups or cones, adding mix-ins while dispensing ice cream.
Nutritional information per serving:
Calories 206 (62% from fat) • carb. 18g • pro. 2g • fat 15g • sat. fat 10g • chol. 44mg • sod. 37mg • calc. 49mg • fiber 0g
Pumpkin Sp’Ice Cream
Makes about ten ½-cup servings.
1¼ cups whole milk.
¾ cup packed light or dark brown sugar.
1½ tablespoons molasses or dark corn syrup.
1¹∕ ³ cups pumpkin purée (solid pack pumpkin).
1 teaspoon cinnamon.
¾ teaspoon ginger.
¹∕8 teaspoon freshly ground nutmeg.
1½ cups heavy cream.
1 teaspoon pure vanilla extract.
Place 1 cup of the milk in jar of a blender with the brown sugar, molasses, pumpkin purée, cinnamon, ginger, and nutmeg. Blend on high speed until smooth and homogenous, about 30 seconds. Transfer to a bowl and stir in the remaining cold milk and cream. If not making ice cream immediately, cover and refrigerate until ready to use.
Turn on ice cream maker and pour in ingredients. Allow to mix and freeze until desired serving consistency is reached. Begin checking consistency after 12 to 15 minutes of freezing. If ice cream is not thick enough, pour back into the freezer bowl and continue mixing/freezing until desired consistency is reached, checking every few minutes.
Serve in cups or cones, adding mix-ins while dispensing.
Nutritional information per serving:
Calories 217 (58% from fat) • carb. 21g • pro. 2g • fat 14g • sat. fat 9g • chol. 53mg • sod. 35mg • calc. 85mg • fiber 1g
Makes about ten ½-cup servings
1¹∕³cups whole milk.
²∕³cup granulated sugar.
2½ cups fat free or lowfat vanillayogurt.
1teaspoon pure vanilla extract.
Place whole milk and sugar in a medium bowl. Use a hand mixer (about 1 to 2 minutes on low speed) or a whisk to mix until sugar is dissolved. Stir in the yogurt and vanilla. If not freezing immediately, cover and refrigerate until ready to use.
Turn on ice cream maker and pour in ingredients. Allow to mix and freeze until desired serving consistency is reached. Begin checking consistency after 12 to 15 minutes of freezing. If frozen yogurt is not thick enough, pour back into the freezer bowl and continue mixing/freezing until desired consistency is reached, checking every few minutes. Serve in cups or cones, adding mix-ins while dispensing frozen yogurt.
Nutritional information per serving:
Calories 99 (10% from fat) • carb. 19g • pro. 4g • fat 1g • sat. fat 1g • chol. 6mg • sod. 54mg • calc. 126mg • fiber 0g .
Chocolate Frozen Yogurt
Makes about ten ½-cup servings.
1 cup whole milk, warmed to a simmer.
8 ounces semisweet chocolate, chopped (may use semisweet chocolate morsels).
¼ cup granulated sugar.
2 cups fat free or lowfat yogurt.
1 teaspoon pure vanilla extract Stir the chocolate and sugar into the warmed milk.
Stir until chocolate is completely melted and sugar is dissolved. Let come to room temperature. Add the yogurt and vanilla and stir with a whisk until completely combined. If not freezing immediately, cover and refrigerate until ready to use.
Turn on ice cream maker and pour in ingredients. Allow to mix and freeze until desired serving consistency is reached. Begin checking consistency after 12 to 15 minutes of freezing. If frozen yogurt is not thick enough, pour back into the freezer bowl and continue mixing/freezing until desired consistency is reached, checking every few minutes. Serve in cups or cones, adding mix-ins while dispensing frozen yogurt.
Nutritional information per serving:
Calories 179 (44% from fat) • carb. 23g • pro. 5g • fat 10g • sat. fat 6g • chol. 4mg • sod. 41mg • calc. 121mg • fiber 1g
Mocha Latte Frozen Yogurt
A frozen yogurt with coffeehouse flavors.
Makes about ten ½-cup servings.
¾ cup whole milk.
¹∕ ³ cup packed brown sugar.
2 tablespoons granulated sugar.
1½-2 tablespoons unsweetened cocoa powder, to taste.
1½-2 tablespoons instant espresso powder, to taste.
2cups fat free or lowfat vanilla yogurt.
¹∕ ³ cup half-and-half.
1 teaspoon pure vanilla extract.
Place milk, both sugars, cocoa powder, and espresso powder in a medium bowl. Use a hand mixer (about 1 to 2 minutes on low speed) or a whisk to mix until the sugar is dissolved. Stir in the yogurt, half-and-half, and vanilla until well blended. If not freezing immediately, cover and refrigerate until ready to use.
Turn on ice cream maker and pour in ingredients. Allow to mix and freeze until desired serving consistency is reached. Begin checking consistency after 12 to 15 minutes of freezing. If frozen yogurt is not thick enough, pour back into the freezer bowl and continue mixing/freezing until desired consistency is reached, checking every few minutes. Serve in cups or cones, adding mix-ins while dispensing frozen yogurt.
Nutritional information per serving:
Calories 99 (15% from fat) • carb. 18g • pro. 3g • fat 2g • sat. fat 1g • chol. 6mg • sod. 43mg • calc. 118mg • fiber 0g
Red Raspberry Frozen Yogurt.
Makes about ten ½-cup servings.
12 ounces fresh red raspberries (or frozen, thawed).
¾ cup granulated sugar.
¼ cup fresh lime juice.
½ cup whole milk.
1¹∕ ³ cups fat free or lowfat vanilla yogurt
Place the raspberries, sugar, and lime juice in a blender jar (or food processor fitted with the metal “s” blade) and blend on high until smooth and homogenous. If desired pour through a fine mesh sieve to strain out the seeds (press with the back of a wooden spoon or spatula). Transfer raspberry liquid to a medium bowl. Stir in milk and yogurt with a whisk. If not freezing immediately, cover and refrigerate until ready to use.
Turn on ice cream maker and pour in ingredients. Allow to mix and freeze until desired serving consistency is reached. Begin checking consistency after 12 to15 minutes of freezing. If frozen yogurt is not thick enough, pour back into the freezer bowl and continue mixing/freezing until desired consistency is reached, checking every few minutes. Serve in cups or cones, adding mix-ins while dispensing frozen yogurt.
Nutritional information per serving:
Calories 113 (3% from fat) • carb. 26g • pro. 2g • fat 0g • sat. fat 0g • chol. 2g • sod. 27mg • calc. 75mg • fiber 1g
Strawberry Banana Frozen Yogurt
Makes about ten ½-cup servings.
1 large (about 6 ounces) banana, peeled and cut into.
1-inch pieces.
8 ounces fresh (hulled) or frozen, thawed strawberries.
½ cup granulated sugar.
½ cup whole milk.
¼ cup orange juice concentrate, thawed.
½ teaspoon pure vanilla extract.
1½ cups fat free or lowfat vanilla yogurt.
Place the banana, strawberries, sugar, milk, orange juice concentrate, and vanilla in a blender jar (or food processor fitted with the metal “s” blade) and blend on high until smooth and homogenous. Transfer to a medium bowl and stir in yogurt with a whisk. If not freezing immediately, cover and efrigerate until ready to use.
Turn on ice cream maker and pour in ingredients. Allow to mix and freeze until desired serving consistency is reached. Begin checking consistency after 12 to 15 minutes of freezing. If frozen yogurt is not thick enough, pour back into the freezer bowl and continue mixing/freezing until desired consistency is reached, checking every few minutes. Serve in cups or cones, adding mix-ins while dispensing frozen yogurt.
Nutritional information per serving:
Calories 113 (7% from fat) • carb. 24g • pro. 4g • fat 1g • sat. fat 1g • chol. 4mg • sod. 33mg • calc. 89mg • fiber 1g
Cherry Vanilla Frozen Yogurt
Makes about ten ½-cup servings.
12 ounces pitted sweet cherries, fresh, canned and drained (measure after draining), or frozen, thawed.
1 cup whole milk.
¼ cup granulated sugar.
1 teaspoon pure vanilla extract.
1½ cups lowfat or fat free vanilla yogurt.
Place the cherries, whole milk, granulated sugar, and vanilla in a blender jar and blend on high speed for 40 to 50 seconds until smooth, creamy and completely homogenous. Transfer to a bowl and stir in the yogurt. If not freezing immediately, cover and refrigerate until ready to use.
Turn on ice cream maker and pour in ingredients. Allow to mix and freeze until desired serving consistency is reached. Begin checking consistency after 12 to 15 minutes of freezing. If frozen yogurt is not thick enough, pour back into the freezer bowl and continue mixing/freezing until desired consistency is reached, checking every few minutes. Serve in cups or cones, adding mix-ins while dispensing frozen yogurt.
Nutritional information per serving:
Calories 84 (10% from fat) • carb. 17g • pro. 3g • fat 1g • sat. fat 1g • chol. 4mg • sod. 34mg • calc. 95mg • fiber 1g
Blueberry Sorbet
Makes about ten ½-cup servings.
1¹∕ ³ cups granulated sugar.
²∕ ³ cup water.
2 pounds fresh or frozen blueberries (wild if possible).
3 tablespoons fresh lime juice.
2 tablespoons light corn syrup.
Combine the sugar and water in a medium saucepan and bring to a boil over mediumhigh heat. Reduce heat to low and simmer without stirring until the sugar dissolves, about 3 to 5 minutes. Stir in blueberries and cook until they pop open. Allow to cool for 10 to 15 minutes. When cool, transfer the blueberry mixture to a blender and add the lemon juice; blend on high speed until smooth and homogenous; stir in corn syrup. Pour mixture through a fine mesh strainer to remove seeds. Cover and chill for at least 4 hours before freezing.
Turn on ice cream maker and pour in ingredients. Allow to mix and freeze until desired serving consistency is reached. Begin checking consistency after 12 to 15 minutes of freezing. If sorbet is not thick enough, pour back into the freezer bowl and continue mixing/freezing until desired consistency is reached, checking every few minutes. Serve in cups, adding mix-ins while dispensing sorbet.
Nutritional information per serving:
Calories 139 (2% from fat) • carb. 35g • pro. 0g • fat 0g • sat. fat 0g • chol. 0mg • sod. 4mg • calc. 6mg • fiber 1g
Fresh Lemon Sorbet
Bits of fresh citrus zest add a burst of flavor to these refreshing sorbets.
Makes about eight ½-cup servings.
2 cups sugar.
2 cups water.
1½ cups freshly squeezed lemon juice.
1 tablespoon finely chopped lemon zest*
Combine the sugar and water in a medium saucepan and bring to a boil over mediumhigh heat. Reduce heat to low and simmer without stirring until the sugar dissolves, about 3 to 5 minutes. Cool completely. This is called a simple syrup, and may be made ahead in larger quantities to have on hand for making citrus sorbets. Allow to cool completely. When cool, add the lemon juice and zest; stir to combine. If not freezing immediately, cover and refrigerate until ready to use.
Turn on ice cream maker and pour in ingredients. Allow to mix and freeze until desired serving consistency is reached. Begin checking consistency after 12 to 15 minutes of freezing. If sorbet is not thick enough, pour back into the freezer bowl and continue mixing/freezing until desired consistency is reached, checking every few minutes. Serve in cups, adding mix-ins while dispensing sorbet.
Nutritional analysis per serving: Calories 204 (0% from fat) • carb. 54g • pro. 0g • fat 0g • sat. fat 0g • chol. 0mg • sod. 3mg • calc. 5mg • fiber 0g
Fresh Lime Sorbet: Substitute 1½ cups freshly squeezed lime juice for the lemon juice and 1 tablespoon finely chopped lime zest for the lemon zest.
Fresh Lemon-Lime Sorbet: Use half lemon juice and half lime juice and ½ tablespoon each of finely chopped lemon and lime zest.
Fresh Pink Grapefruit Sorbet: Substitute 1½ cups freshly squeezed pink grapefruit juice for the lemon juice, and 1 tablespoon finely chopped grapefruit zest for the lemon zest. Add ¼ cup orgeat syrup to the mixture (orgeat syrup is used for cocktails such as a mai tai or scorpion and can be found with the drink mixers in most grocery stores). *When zesting a lemon or lime use a vegetable peeler to remove the colored part of the citrus rind.
Dark Chocolate Sorbet
Makes about ten ½-cup servings.
2½ cups water.
1½ cups brown sugar, packed.
1½ cups unsweetened cocoa powder.
1 teaspoon cinnamon.
1 tablespoon pure vanilla extract.
Combine the water and sugar in a 3½ quart saucepan and place over medium heat. Stir until the sugar dissolves. Whisk in the cocoa and cinnamon; bring mixture to a simmer. Simmer for 3 minutes, stirring constantly. Remove from heat and pour through a fine strainer into a bowl.
Stir in the vanilla. Cover and chill in the refrigerator for 8 hours. Stir the chilled mixture. Turn on ice cream maker and pour in ingredients. Allow to mix and freeze until desired serving consistency is reached. Begin checking consistency after 12 to 15 minutes of freezing. If sorbet is not thick enough, pour back into the freezer bowl and continue mixing/freezing until desired consistency is reached, checking every few minutes. Serve in cups, adding mix-ins while dispensing sorbet.
Nutritional information per serving:
Calories 151 (11% from fat) • carb. 37g • pro. 2g • fat 2g • sat. fat 1g • chol. 0mg • sod. 89mg • calc. 44mg • fiber 4g
Orange Creamsicle Sherbet
Makes about eight ½-cup servings.
1¾ cups (a 12-ounce can) frozen orange juice concentrate, thawed.
¼ cup granulated sugar.
1½ cups whole milk.
2 teaspoons pure vanilla extract.
½ cup fat free or regular half-and-half.
Place the orange juice concentrate, sugar, milk, and vanilla in a blender jar (or food processor fitted with the metal “s” blade) and blend on high until smooth and homogenous. Transfer to a medium bowl and stir in half-and-half with a whisk. If not freezing immediately, cover and refrigerate until ready to use.
Turn on ice cream maker and pour in ingredients. Allow to mix and freeze until desired serving consistency is reached. Begin checking consistency after 12 to 15 minutes of freezing. If sherbet is not thick enough, pour back into the freezer bowl and continue mixing/freezing until desired consistency is reached, checking every few minutes.
Serve in cups or cones, adding mix-ins while dispensing sherbet.
Nutritional information per serving:
Calories 142 (11% from fat) • carb. 29g • pro. 2g • fat 2g • sat. fat 1g • chol. 7mg • sod. 46mg • calc. 85mg • fiber 0g
Peaches & Cream Sherbet
Makes about eight ½-cup servings.
1 pound peach slices (fresh or frozen, thawed).
²∕ ³ cup granulated sugar.
½ cup peach nectar or juice.
1½ tablespoons fresh lemon juice.
¾ cup whole milk ¾ cup fat free or regular half-and-half.
¼ teaspoon pure almond extract, optional.
Place the peaches, sugar, peach nectar, and lemon juice in a blender jar (or food processor fitted with the metal “s” blade) and blend on high until smooth and homogenous. Add milk and blend until homogenous. Add almond extract if using. Transfer to a bowl and stir in half-and-half. If not freezing immediately, cover and refrigerate until ready to use.
Turn on ice cream maker and pour in ingredients. Allow to mix and freeze until desired serving consistency is reached. Begin checking consistency after 12 to 15 minutes of freezing. If sherbet is not thick enough, pour back into the freezer bowl and continue mixing/freezing until desired consistency is reached, checking every few minutes.
Serve in cups or cones, adding mix-ins while dispensing frozen sherbet.
Nutritional information per serving:
Calories 122 (8% from fat) • carb. 27g • pro. 2g • fat 1g • sat. fat 1g • chol. 4mg • sod. 51mg • calc. 50mg • fiber 1g
Piña Colada Sherbet
Makes about ten ½-cup servings.
1 20-ounce can pineapple tidbits or chunks, packed in juice, not drained.
¹∕ ³ cup (medium pack) sweetened coconut flakes.
²∕ ³ cup granulated sugar.
1 tablespoon fresh lime juice.
¾ cup whole milk.
1 cup lite coconut milk.
1 teaspoon pure vanilla or rum extract.
Place the pineapple, coconut, sugar, coconut milk and lime juice in a blender jar (or food processor fitted with the metal “s” blade) and blend on high until smooth and homogenous. Stir in milk with a whisk. If not freezing immediately, cover and refrigerate until ready to use.
Turn on ice cream maker and pour in ingredients. Allow to mix and freeze until desired serving consistency is reached. Begin checking consistency after 12 to 15 minutes of freezing. If frozen yogurt is not thick enough, pour back into the freezer bowl and continue mixing/freezing until desired consistency is reached, checking every few minutes. Serve in cups or cones, adding mix-ins while dispensing frozen yogurt.
Nutritional information per serving:
Calories 157 (20% from fat) • carb. 31g • pro. 2g • fat 4g • sat. fat 3g • chol. 4mg • sod. 26mg • calc. 47mg • fiber 1g
Root Beer Float Sherbet
Tastes just like the soda shop favorite.
Makes about ten ½-cup servings.
2 12-ounce bottles root beer, allowed to go flat or somewhat flat.
½ cup lowfat sweetened condensed milk.
½ cup lowfat or regular half-and-half.
Place all ingredients in a medium bowl and stir to blend. If not freezing immediately, cover and refrigerate until ready to use.
Turn on ice cream maker and pour in ingredients. Allow to mix and freeze until desired serving consistency is reached. Begin checking consistency after 12 to 15 minutes of freezing. If sherbet is not thick enough, pour back into the freezer bowl and continue mixing/freezing until desired consistency is reached, checking every few minutes.
Serve in cups or cones, adding mix-ins while dispensing sherbet.
Nutritional information per serving:
Calories 86 (8% from fat) • carb. 18g • pro. 2g • fat 1g • sat. fat 1g • sod. 43mg • calc. 55mg • fiber 0g
Banana Maple Tofu Frozen Dessert
Makes about eight ½-cup servings.
1 cup vanilla soy milk (calcium- enriched suggested).
²∕ ³ cup pure maple syrup.
1 medium banana (about 6 ounces), peeled, cut into 1-inch pieces.
1½ teaspoons pure vanilla extract.
1 pound silken tofu, drained, cut into2-inch pieces.
Place all ingredients in a blender jar in the order listed. Blend on high speed until completely smooth and homogenous, about 40 to 50 seconds. If not making frozen dessert immediately, cover and refrigerate until ready to use.
Turn on ice cream maker and pour in ingredients. Allow to mix and freeze until desired serving consistency is reached. Begin checking consistency after 12 to 15 minutes of freezing. If frozen dessert is not thick enough, pour back into the freezer bowl and continue mixing/freezing until desired consistency is reached, checking every few minutes. Serve in cups or cones, adding mix-ins while dispensing frozen dessert.
Nutritional information per serving:
Calories 171 (19% from fat) • carb. 29g • pro. 6g • fat 4g • sat. fat 0g • chol. 0mg • sod. 32mg • calc. 111mg • fiber 1g
Chocolate Velvet Tofu Frozen Dessert
A chocolaty treat for those who cannot have milk/dairy-based desserts.
Makes about eight ½-cup servings.
1 cup vanilla soy milk (calcium – enriched suggested).
½ cup packed brown sugar.
½ cup granulated sugar
½ cup unsweetened cocoa powder.
1½ teaspoons pure vanilla extract.
1 pound silken tofu, drained, cut into2-inch pieces.
Place all ingredients in a blender jar in the order listed. Blend on high speed until completely smooth and homogenous, about 40 to 50 seconds. If not making frozen dessert immediately, cover and refrigerate.
Turn on ice cream maker and pour in ingredients. Allow to mix and freeze until desired serving consistency is reached. Begin checking consistency after 12 to 15 minutes of freezing. If frozen dessert is not thick enough, pour back into the freezer bowl and continue mixing/freezing until desired consistency is reached, checking every few minutes. Serve in cups or cones, adding mix-ins while dispensing frozen dessert.
Nutritional information per serving:
Calories 185 (17% from fat) • carb. 33g • pro. 5g • fat 4g • sat. fat 0g • chol. 0mg • sod. 34mg • calc. 94mg • fiber 1g
Version no: ICE45 IB-6405
SIZE: 203mm(W)x1 52mm(H) Total Pages:
Material: COVER: 157GSM MATT ARTPAPER.
INSIDE : 128GSM GLOSS ARTPAPER Coating: varnishing in cover pages.
Color: COVER : 4C+1C(BLACK) INSIDE: ‘IC+1C.
Date: 11/01/06 (02) I.
P.O:
Tel: 26696173
Fax: 26776556




















