
Whynter Beverage Refrigerator – Black / Stainless Steel
120 Can Capacity
Model # : BR-130SB
INSTRUCTION MANUAL

Congratulations on your new Whynter product. To ensure proper operation, please read this Instruction Manual carefully before using this product. Keep this manual in a safe place for future reference.
Safety Precautions
APPLIANCE SAFETY
Your safety and the safety of others are very important to us.
To reduce the risk of fire, electrical shock, or injury when using your appliance, follow these basic precautions
This is the Safety Alert Symbol. This symbol alerts you to potential hazards that may result in serious injury. All safety messages will follow the Safety Alert Symbol and either the words” DANGER” or “WARNING”.
DANGER ![]()
Danger means that failure to heed this safety statement may result in severe injury or death.
WARNING ![]()
Warning means that failure to heed this safety statement may result in extensive product damage, serious injury, or death.
Caution Caution means that failure to heed this safety statement may result in minor or moderate injury, or property or equipment damage.
IMPORTANT SAFEGUIDES
Before the appliance is used, it must be properly positioned and installed as described in this manual, please read the manual carefully. To reduce the risk of fire, electrical shock or injury when using the appliance, follow basic precaution, including the following:
DANGER ![]()
- Plug into a grounded 3-prong outlet, do not remove grounding prong, do not use an adapter, and do not use an extension cord.
- Do not use if the power supply cord is damaged. If damaged, it must be replaced by a qualified electrician.
- It is recommended that a separate circuit, serving only your appliance be provided. Use receptacles that cannot be turned off by a switch or pull chain.
- Never clean appliance parts with flammable fluids or harsh chemicals. These fumes can create a fire hazard or explosion.
- Do not store or use gasoline or other flammable vapors and liquids in the vicinity of the appliance or any other appliance.
- Before proceeding with cleaning and maintenance operations, make sure to unplug the appliance.
- Do not connect or disconnect the electric plug with wet hands.
- Do not attempt to repair or replace any part of your appliance unless it is specifically recommended in this manual. All other servicing should be referred to a qualified technician.
WARNING ![]()
FOLLOW WARNING CALL OUTS BELOW ONLY WHEN APPLICABLE TO YOUR MODEL
- Use two or more people to move and install the appliance. Failure to do so can result in injury.
- To ensure proper ventilation for your appliance, the front of the appliance must be completely unobstructed. Choose a well-ventilated area with temperatures above 60°F (16°C) and below 90° F (32°C). This appliance must be installed in an area protected from the element, such as wind, rain, water spray or drips
- The appliance should not be located next to ovens, grills or other sources of high heat.
- The appliance must be installed with all electrical connections in accordance with state and local codes.
- The fuse (or circuit breaker) size should be 15 amperes.
- It is important for the appliance to be leveled in order to work properly. For a stable installation, make sure the appliance is placed on a flat, level and solid surface.
- Ensure that the surface on which the appliance is placed is strong enough to hold the appliance and the items stored inside.
- This appliance is not intended for use by young children or physically-challenged persons without supervision/assistance. Young children must be supervised to ensure safety around this or any appliance.
- Do not use solvent-based cleaning agents of abrasives on the interior. These cleaners may damage or discolor the interior.
- Keep fingers out of the “pinch point” areas. Clearance between the door and cabinet are necessarily small. Be careful closing doors when children are in the area.
- The temperature range for this beverage refrigerator is optimized for beverage storage. Perishable food items may require a different storage environment.
- Do not place hot food or beverages into the appliance.
- Close the beverage refrigerator door immediately after putting in any items to keep the internal temperature relatively constant.
- Avoid placing any objects on top of the appliance.
- This is an electrical appliance, to avoid injury from electrical shock do not operate the unit with wet hands, while standing on a wet surface or while standing in water. Do not use outdoors or in wet conditions.
- When positioning or moving the appliance, ensure that it is not turned up side down or unleveled greater than 45°
- Never pull the power cord to disconnect it from the outlet. Grasp the plug and pull it from the outlet.
- Never lift, carry or drag the appliance by the power cord.
- This appliance is designed for household, non-commercial use only. Any other use will void the warranty.
- Do not plug into the power outlet before set up is completed.
- Do not move this appliance without emptying it and securing the door in a closed position.
Parts

| 1. Cabinet |
| 2. Shelves |
| 3. Temperature Control |
| 4. Light Switch |
| 5. Internal Fan |
| 6. Door Handle |
| 7. Door Frame |
| 8. Leveling Legs (1 big and 1 small) |
| 9. Drip Tray (Rear) |
| 10. Compressor (Rear) |
Features and Technical Data
- Capacity: 120 standard 12 oz. can
- Stainless steel trimmed glass door with sleek black cabinet
- Mechanical temperature control with temperature range from high 30ºF – mid 60ºF
- Soft interior LED lighting with on/off switch
- Reversible door
- Freestanding setup
- Powerful compressor cooling
- Internal fan-forced circulation for even temperature distribution throughout the cabinet
- Shelf Count: 5 slide-out wire shelves
Top shelf: 15 can capacity
Second shelf: 15 can capacity
Third shelf: 15 can capacity
Fourth shelf: 25 can capacity
Fifth shelf: 25 can capacity
Bottom: 25 can capacity - ETL Certified
TECHNICAL DATA
| MODEL : | BR-130SB |
| Capacity | 120 standard 12 oz. can |
| Voltage | 115V / 60Hz |
| Current | 1.3A |
| Input Power | 85W |
| Power Consumption | 0.96 kWh/24H |
| Temperature Control Range | high 30ºF – mid 60ºF |
| Refrigerant | R600A |
| Net Weight | 57 lbs |
| Gross Weight | 75 lbs |
| Unit Dimensions | 32.5″ H x 17″ W x 18.75″ D (20.5″ D with handle installed) |
| Packaging Dimensions | 35″ H x 21″ W x 23″ D |
Installation
IMPORTANT SAFETY INSTRUCTIONS
WARNING
To reduce the risk of fire, electrical shock, or injury when using your appliance, follow these basic precautions:
- Read all instructions before using the appliance.
- DANGER or WARNING: An empty beverage refrigerator can be a hazardous for children or small pets. If disposing of the beverage refrigerator, remove gasket seals, latches, lids or the entire door from your unused appliance, or take other action to ensure the beverage refrigerator is harmless.
- Never allow children to operate, play with, or crawl inside the appliance.
- Never clean appliance parts with flammable fluids or harsh chemicals. The fumes can create a fire hazard or explosion.
- Do not store or use gasoline or any other flammable vapors and liquids in the vicinity of this or any other appliance. The fumes can create a fire hazard or explosion.
INSTALLATION INSTRUCTIONS
BEFORE USING YOUR APPLIANCE
- Remove the exterior and interior packing.
- Before connecting the appliance to the power source, let it stand upright for approximately 4 hours. This will reduce the possibility of a malfunction in the cooling system from handling during transportation.
- Clean the interior surface with lukewarm water using a soft cloth.
INSTALLATION OF YOUR APPLIANCE
- The appliance is designed for freestanding installation.
- WARNING: Do not store or install the appliance outdoors.
- CAUTION: This appliance is designed for storing and cooling beverage or wines. Do not store perishable food, medicine or other medical products.
- Place your appliance on a hard and level floor that is strong enough to support it when it is fully loaded.
- To level your appliance, adjust the leveling legs at the bottom of the appliance if needed.
- Allowance of at least 5 inches (127mm) of space between the back and sides of the appliance are suggested, which allows the proper air circulation to cool the compressor and condenser.
- We do not recommend installing the appliance on carpet.
- Do not install the appliance near an oven or other heating source. Direct sunlight may affect the acrylic coating and heat sources may increase electrical consumption. For best performance, do not install the appliance behind a cabinet door or block the base grille. Extreme cold ambient temperatures may also cause the appliance not to perform properly.
- Avoid locating the appliance in area that may be exposed to excessive moisture.
- Plug in the appliance into an exclusive, grounded wall power outlet. Do not under any circumstances cut or remove the third (ground) prong from the power cord. Any questions concerning power and/or ground- ing should be directed toward a qualified electrician or an authorized service center.
INSTALLATION LOCATION
Your beverage refrigerator should be conveniently located for day-to-day use in a dry, well-ventilated room. Do not install the appliance where the temperature will go below 60°F or above 90°F, because it will not maintain proper temperatures. Be sure to install your beverage refrigerator on a floor strong enough to support it when it is fully loaded.
FREESTANDING INSTALLATION
A freestanding installation will allow you to install the beverage refrigerator in any place you desire provided that the required clearance space around the appliance is respected. In every setting, there must be an adequate ventilation and access for service. Never install or operate the unit in an enclosed area, such as a closed cabinet. Allowance of at least 5 inches (127mm) of space between the back and sides of the appliance are suggested, which allows the proper air circulation to cool the compressor and condenser.
ELECTRICAL CONNECTION WARNING:
Improper use of the grounded plug can result in the risk of electrical shock. If the power cord is damaged, have it replaced by a qualified electrician or contact Whynter Service Department. This appliance requires a standard 115/120 Volt AC ~/60Hz electrical ground outlet with three -prong. Have the wall outlet and circuit checked by a qualified electrician to make sure the outlet is properly grounded. The cord should be secured behind the appliance and not left exposed or dangling to prevent accidental injury. The appliance should always be plugged into its own individual electrical outlet which has a voltage rating that matches the rating label on the appliance. This provides the best performance and also prevent overloading house wiring circuits that could cause a fire hazard from overheated. Never unplug the ap- pliance by pulling the power cord. Always grip the plug firmly and pull straight out from the receptacle. Repair or replace immediately all power cords that have become frayed or otherwise damaged. Do not use a cord that shows cracks or abrasion damage along its length or at either end. When moving the appliance, be careful not to damage the power cord.
EXTENSION CORD
Because of potential safety hazards, it is strongly recommended that you do not use an extension cord with this appliance. However, if you must use an extension cord, it is absolutely necessary that it be a UL/CUL-Listed, 3-wire grounding type appliance extension cord having a grounding type plug and outlet and that the electrical rating of the cord be 115 volts and at least 10 amperes.
INSTALLING STAINLESS STEEL HANDLES
This appliance includes stainless steel handles that are not required to operate this appliance. To install the handles please follow the below instructions:
- The gaskets are easily displaced by hand, no tools are necessary.
- Use a flat-head screwdriver to remove the two pre-installed decorative plugs from the back of doors. Some wine refrigerators have no decorative plugs.
- Install the handles tightly as shown with two screws, lock washers and flat washers provided. (DO NOT over tighten as this will cause damage to the handles and stainless steel door frames).
- Replace the door gaskets to its original position.

Operation and Controls
It is recommended you install the appliance in a place where the ambient temperatures is above 60°F (16°C) and below 90°F (32°C). If the ambient temperature is above or below recommended temperatures, the performance may be affected. For example, placing your appliance in extreme cold or hot conditions may cause interior temperatures to fluctuate.
SETTING THE TEMPERATURE
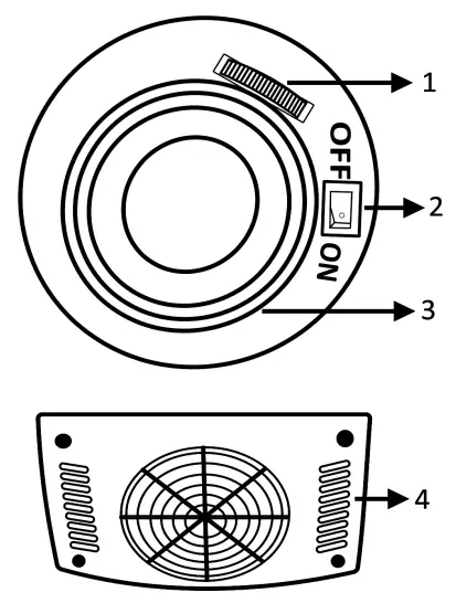
To control the internal temperature, turn the temperature control dial inside the appliance. The temperature range is from “0” to “7”, where “7” is the coldest temperature setting and “0” is the warmest temperature setting.
INTERIOR LIGHT
To turn on/ off the interior light, flip the switch inside the appliance.
INTERNAL FAN
This beverage refrigerator is equipped with an internal fanthat prevents uneven temperature distribution, ensuring all of your beverage reaches your desired temperature .
PARTS:
- Temperature Control
- Light Switch
- Interior Light
- Internal Fan

REVERSING THE DOOR SWING
Tools needed: flathead screwdriver, Phillips screwdriver
CAUTION: Before you begin, unplug the beverage refrigerator from power.
To remove the door:
- Using a flathead screw driver carefully pry the top hinge cover off.
- Using a Phillips screwdriver, remove the screws and takoff top hinge. Keep the parts together and set them aside.
- Lift the door off the bottom hinge and set the door aside.4. Remove the bottom hinge by removing the screws with aPhillips head screwdriver.
To install the door:
- Using a flathead screwdriver, remove the plugs and cover from the opposite cabinet top corner and from the door. Set aside.
- Install the bottom hinge at the opposite side corner and fasten the screws.
- Position the door on the bottom hinge.
- Align the door on the bottom hinge and install the top hinge.
- Push the plugs and covers into the corresponding holes

LEVELING THE APPLIANCE
It is important for the beverage refrigerator to be leveled in order to work properly. It can be raised or lowered by rotating each of the feet on the bottom of the machine. If you find that the surface is not level, rotate the feet until the beverage refrigerator becomes level .You may need to make several adjustments to level it. We recommend using a carpenter’s level to check the machine.
- Place a carpenter’s level on top of the product to see if the beverage refrigerator is level from front to back and side to side.
- Adjust the height of the feet as follows: Turn the leveling feet to the right to lower that side of the refrigerator. Turn the leveling feet to the left to raise that side of the refrigerator.
IMPORTANT: Once you are ready to install, you must adjust the feet to level the beverage refrigerator .

DEFROSTING
Under most ambient conditions, the appliance does not need to be defrosted. In cold ambient temperatures and/or high humidity, some frost may build up. To defrost the appliance, set the thermostat dial to “0”, remove frozen or perishable items and defrosting should occur in a few hours. After defrosting, return the thermostat dial to the desired position. For faster defrosting, remove all items from the appliance, unplug the appliance and leave the door open. Never use a knife or other metal instrument to scrape ice/frost from the evaporator.
NORMAL SOUNDS
The unit is cooled by a compressor. The compressor pumps coolant through the cooling system, producing operating noise. Even when the compressor cuts out, noises caused by changes in temperature and pressure are unavoidable. Operating noise will be most audible immediately after the compressor comes on. It be- comes quieter as the operating period continues. The following noises are normal and occur from time to time:
- Gurgling sound, caused by the refrigerant flowing through the appliance’s coils,
- Humming noise made by the compressor. This noise can get louder for brief periods when the motor is switching on.
- Cracking/popping sounds, resulting from the materials contraction and expansion due to temperature variations,
- Fan operating sound, to circulate the air within the refrigerator cabinet.
- Unusual noise is normally the result of improper installation.
- Where the unit is installed in open-plan kitchen or in partition walls, the level of operating noise will be heard more acutely. However, this is due to the surrounding architecture and not to the unit.
NOTE: An individual’s perception of noise is directly linked to the environment in which the unit is located, as well the specific type of models. Our appliances are in line with international standards for such appliance and in line with the latest technical developments. Please remember that the noise of the compressor and the coolant circulating in the system is unavoidable.
Care and Maintenance
PREPARING FOR STORAGE
If the beverage refrigerator will not be used for a long time, or is to be moved to another place, it will be necessary to defrost the unit and dry the interior. Disconnect the beverage refrigerator from the power supply by removing the power plug from the wall socket.
- WARNING: Do not touch the power plug when your hands are wet. Never unplug the unit by pulling the cord.
- Leave the door open to allow air circulation and mold prevention, mildew and unpleasant smells.
CAUTION: Store the unit out of the reach of children. If you have children, you may want to take addi- tional precautions such as locking the beverage refrigerator door.
CLEANING YOUR APPLIANCE
- Turn off the power, unplug the appliance, and remove all items including shelves.
- Wipe the interior with a warm water and baking soda solution. The solution should be about 2 tablespoons of baking soda to one quart of water.
- Wipe the shelves with a mild detergent solution.
- Wipe the outside cabinet with warm water and mild liquid detergent.
- Do not use steel wool or steel brush on the stainless steel. These will erode the stainless steel and rusting may occur.
CAUTION: Failure to unplug the appliance could result in electric shock or personal injury
VACATION TIME
- Short vacations: Leave the appliance operating during vacations of less than two days
- Long vacations: If the appliance will not be used for an extended period, remove all items and turn off the appliance. Clean and dry the interior thoroughly.
MOVING YOUR APPLIANCE
- Remove all items inside the appliance.
- Securely tape down (we recommend using painter’s tape) all loose items (shelves) inside your appliance.
- Turn the adjustable leg up to the base to avoid damage.
- Tape (we recommend using painter’s tape) the door shut.
- Be sure the appliance stays secure in the upright position during transportation and protect the exterior of appliance with a blanket, or similar item.
ENERGY SAVING TIPS
- The appliance should be located in the coolest area of the room, away from heat producing appliances, and out of any direct sunlight.
- Ensure that the appliance is adequately ventilated. Never obstruct the air vents.
- Close the door tightly and do not open the appliance too frequently or for a long period of time.
- Store the content in an organized way
- Do not over-fill the appliance to allow air to circulate
Troubleshooting
| Problem | Possible Causes | Solutions |
| The appliance does not operate | • There is a power failure • The appliance is not plugged in • A house fuse has blown or the circuit breaker is tripped | • Ensure the appliance is plugged in and the power outlet has power • Replace the broken fuse or reset the breaker |
| The appliance is not cold enough | • The appliance is placed too close to a heat source • The door is opened too often • The door is not closed completely • The door gasket does not seal properly | • Adjust the temperature • Keep the appliance away from sun- shine or other heat sources • Close the door tightly and do not open the door too frequently or for a long period of time • Ensure the door gasket is not loose. |
| The appliance turns itself on and off frequently | • The ambient (room) temperature is too low or high • A large amount of contents has been added to the appliance • The door is opened too often • The door is not closed completely • The door gasket does not seal properly | • Decrease or increase the ambient (room) temperature • To minimize internal temperature fluc- tuation, do not add large amount of contents at once • Close the door tightly and do not open the door too frequently or for a long period of time • Ensure the door gasket is not loose • It is normal for the fan come on and off to circulate the air inside of the unit for even temperature distribution and to save energy |
| The appliance makes too much noise | • The noise may come from the flow of the refrigerant and expan- sion of the inside walls may cause popping and crackling noises • Contraction and expansion of the inside walls may cause popping and crackling noises • The appliance is not level | • It is normal that as each cooling cycle ends, you may hear rattling or gurgling sounds caused by the flow of refriger- ant in the appliance. The high efficien- cy compressor may make a pulsating or high pitched sound • Some popping or cracking noises are normal. They are caused by expansion and contraction of the inside walls due to temperature changes • Make sure the unit is on a hard and level surface. Do not place the appli- ance on carpet • See Normal Sounds |
| The door does not close proper- ly | • The appliance is not level • The door was reversed and not properly installed • The shelves are out of position | • Make sure the appliance is on a hard and level surface. Avoid placing the appliance on a carpeted or soft surface • Reinstall door • Correctly install the shelves |
| Condensation builds up on the glass door. | • Ambient temperature or humidity is high. | • Lower the room humidity by a dehu- midifier or air conditioner. |
| Problem | Possible Causes | Solutions |
| The unit is frosting often | • The door was not closed com- pletely • The door gasket is not sealing • Use a screw driver to loosen the screws to re-position the door/ hinge and tighten the screws • Ambient temperature or humidity is high. | • Close the door tightly and do not open the door too frequently or for a long period of time • The door may need to be re-positioned • Ensure the door gasket is not loose • Lower the room humidity with a dehu- midifier or air conditioner |
ONE YEAR LIMITED WARRANTY This WHYNTER
Beverage Refrigerator is warranted, to the original owner within the 48 continental states, for one year from the date of purchase against defects in material and workmanship under normal use and service. When making a warranty claim, please have the original bill or invoice of purchase with purchase date available. Should your WHYNTER Beverage Refrigerator prove defective within one year from the date of purchase, return the defective part or unit, freight prepaid (within two months of purchase; after two months to one year, customer will be responsible for freight cost to Whynter’s service department), along with an explanation of the claim to Whynter LLC. A return authorization number issued by Whynter is required for all warranty claims and returns. Please package the WHYNTER Beverage Refrigerator carefully in its original packaging material to avoid damage in transit. The original box and packaging material should be retained, as Whynter is not responsible for the cost of replacement packaging. Under this warranty, Whynter will repair or replace any parts found defective at our discretion. This warranty is not transferable. After the expiration of the warranty, the cost of labor and parts will be the responsibility of the original owner of the unit.
THIS WARRANTY DOES NOT COVER:
- Acts of God, such as fire, flood, hurricanes, earthquakes and tornadoes.
- Improper power supply such as power surge, low voltage, defective household wiring or inadequate fuses.
- Use in commercial or industrial applications
- Damage, accidental or otherwise, to the WHYNTER Beverage Refrigerator while in the possession of a consumer not caused by a defect in material or workmanship;
- Damage caused by consumer misuse, tampering, or failure to follow the care and special handling provisions in the instructions.
- Damage to the finish of the case, or other appearance parts caused by wear.
- Damage caused by repairs or alterations to the product by anyone other than authorized by the manufacturer.
- Removal, Replacement Packaging, Freight and Insurance cost for the warranty service.
DISCLAIMER OF IMPLIED WARRANTIES; LIMITATION OF REMEDIES CUSTOMER’S SOLE AND EXCLUSIVE REMEDY UNDER THIS LIMITED WARRANTY SHALL BE PRODUCT REPAIR OR REPLACEMENT AS PROVIDED HEREIN. CLAIMS BASED ON IMPLIED WARRANTIES, INCLUDING WARRANTIES OF MERCHANTABILITY OR FITNESS FOR A PARTICULAR PURPOSE, ARE LIMITED TO ONE YEAR OR THE SHORTEST PERIOD ALLOWED BY LAW, BUT NOT LESS THAN ONE YEAR. WHYNTER SHALL NOT BE LIABLE FOR CONSEQUENTIAL OR INCIDENTAL DAMAGES SUCH AS PROPERTY DAMAGE AND INCIDENTAL EXPENSES RESULTING FROM ANY BREACH OF THIS WRITTEN LIMITED WARRANTY OR ANY IMPLIED WARRANTY. SOME STATES AND PROVINCES DO NOT AL-LOW THE EXCLUSION OR LIMITATION OF INCIDENTAL OR CONSEQUENTIAL DAMAGES, OR LIMITATIONS ON THE DURATION OF IMPLIED WARRANTIES, SO THESE LIMITATIONS OR EXCLUSIONS MAY NOT APPLY TO YOU. THIS WRIT-TEN WARRANTY GIVES YOU SPECIFIC LEGAL RIGHTS. YOU MAY ALSO HAVE OTHER RIGHTS THAT VARY FROM STATE TO STATE.
Please retain the original proof of purchase in order to obtain warranty services.
Warranty begins from the original date of purchase.
To obtain service or information, contact
Whynter LLC via email at [email protected] or call
866-WHYNTER.
Product contents and specifications may change without notice.
Copyright © 2016 Whynter LLC
WWW.WHYNTER.COM
v16.10.7




![Whynter Beverage Refrigerators With Lock - Stainless Steel [br-062ws, Br-091ws, Br-128ws] Instruction Manual Whynter Beverage Refrigerators With Lock - Stainless Steel [br-062ws, Br-091ws, Br-128ws] Instruction Manual](https://static-data1.manualsee.com/1/img/327/18014/2020/12/00-89.jpg)













