TAL N381A-BN 52 Inch Easton Indoor and Covered Outdoor Ceiling Fan

Safety Information
- To reduce the risk of electric shock, ensure electricity has been turned off at the circuit breaker or fuse box before beginning.
- All wiring must be in accordance with the National Electrical Code “ANSI/NFPA 70” and local electrical codes. Electrical installation should be performed by a qualified licensed electrician.
- The outlet box and support structure must be securely mounted and capable of reliably supporting a minimum of 35 lb (15.9 kg) or less. Use only UL Listed outlet boxes marked “FOR FAN SUPPORT.”
- The fan must be mounted with a minimum of 7 ft (2.1 m) clearance from the trailing edge of the blades to the floor.
- Avoid placing objects in the path of the blades.
- To avoid personal injury or damage to the fan and other items, be cautious when working around or cleaning the fan.
- Do not use water or detergents when cleaning the fan or fan blades. A dry dust cloth or lightly dampened cloth will be suitable for most cleaning.
- After making electrical connections, spliced conductors should be turned upward and pushed carefully up into the outlet box. The wires should be spread apart with the grounded conductor and the equipment-grounding conductor on one side of the outlet box and ungrounded conductor on the other side of the outlet box.
- All set screws must be checked and retightened where necessary before installation.
- Suitable for use with solid-state speed control (JY1156H-F-F1-EL only).
The following responsible party designated in FCC §2.909 is responsible for this declaration:
- Model Number: N381A-BN, N381A-CB+MBK, N381A-CB+MWH, N381A-MBK, N381A-MBK+V8, N381A-MWH
- Company Name: TAL INTERNATIONAL CORPORATION
- Company Address: 2919 E. Philadelphia St., Ontario, CA 91761, U.S.A.
- Telephone Number: (909) 923-2888 Fax: (909) 923-8337
WARNING: To reduce the risk of electric shock, this fan must be installed with an isolating wall control/switch.
WARNING: To reduce the risk of personal injury, do not bend the blade arms (also referred to as flanges), when installing the brackets, balancing the blades or cleaning the fan.
WARNING: Do not insert foreign objects between rotating fan blades.
WARNING: To reduce the risk of fire, electric shock or personal injury, mount the fan to an outlet box marked acceptable for fan support with the screws provided with the outlet box.
CAUTION: To reduce the risk of personal injury, use only the screws provided with the outlet box.
NOTE: Suitable for use in damp locations.
READ AND SAVE THESE INSTRUCTIONS
Warranty
The manufacturer warrants the fan motor to be free from defects in workmanship and material present at time of shipment from the factory for a period of lifetime after the date of purchase by the original purchaser. The manufacturer warrants the light kit (excluding any glass), to be free from defects in workmanship and material present at time of shipment from the factory for a period of five years after the date of purchase by the original purchaser. The manufacturer also warrants that all other fan parts, excluding any glass or acrylic blades, to be free from defects in workmanship and material at the time of shipment from the factory for a period of two years after the date of purchase by the original purchaser. We agree to correct such defects without charge or at our option replace with a comparable or superior model if the product is returned. To obtain warranty service, you must present a copy of the receipt as proof of purchase. All costs of removing and reinstalling the product are your responsibility. Damage to any part such as by accident, misuse, improper installation or by affixing any accessories, is not covered by this warranty. Because of varying climatic conditions this warranty does not cover any changes in brass finish, including rusting, pitting, corroding, tarnishing or peeling. Brass finishes of this type give the longest useful life when protected from varying weather conditions. A certain amount of “wobble” is normal and should not be considered a defect. Servicing performed by unauthorized persons shall render the warranty invalid. There is no other express warranty. We hereby disclaim any and all warranties, including but not limited to those of merchantability and fitness for a particular purpose to the extent permitted by law. The duration of any implied warranty which cannot be disclaimed is limited to the time period as specified in the express warranty. Some states do not allow limitation on how long an implied warranty lasts, so the above limitation may not apply to you. The retailer shall not be liable for incidental, consequential, or special damages arising out of or in connection with product use or performance except as may otherwise be accorded by law. Some states do not allow the exclusion of incidental or consequential damages, so the above exclusion or limitation may not apply to you. This warranty gives specific legal rights, and you may also have other rights which vary from state to state. This warranty supersedes all prior warranties. Shipping costs for any return of product as part of a claim on the warranty must be paid by the customer.
Contact the Customer Service Team at 1-800-986-3460 or visit www.HOMEDEPOT.COM/HOMEDECORATORS
Pre-Installation
SPECIFICATIONS
| Fan size | Speed | Volts | Amps | Watts | RPM | CFM | N.W. |
| 52 in. | Low (Speed 1) | 120 | 0.05 | 1.96 | 50 | 1966 | 5.00 kg (11.00 lb) |
| Medium (Speed 3) | 0.14 | 7.80 | 104 | 3914 | |||
| High (Speed 6) | 0.33 | 24.70 | 140 | 5335 |
NOTE: These are approximate measures. They do not include amps and wattage used by the light kit.
TOOLS REQUIRED

HARDWARE INCLUDED
NOTE: Hardware not shown to actual size.

| Part | Description | Quantity |
| AA | Plastic wire nut | 3 |
| BB | Blade attachment screw and lock washer (additional) | 1 |
| CC | 1.5V AAA battery | 2 |
| DD | 3-pin extension cord | 1 |
PACKAGE CONTENTS

| Part | Description | Quantity |
| A | Mounting bracket | 1 |
| B | Canopy | 1 |
| C | Canopy bottom cover (preassembled) | 1 |
| D | Hanger ball/downrod assembly | 1 |
| E | Coupling cover | 1 |
| F | Fan motor assembly | 1 |
| Part | Description | Quantity |
| G | Blade support plate with screws and lock washers | 3 |
| H | Blade | 3 |
| I | Receiver | 1 |
| J | Remote control | 1 |
Installation
MOUNTING OPTIONS
WARNING: To reduce the risk of fire, electric shock, or personal injury, mount the fan to an outlet box marked acceptable for fan support using the screws provided with the outlet box. An outlet box commonly used for the support of lighting fixtures may not be acceptable for fan support and may need to be replaced. If in doubt, consult a qualified electrician.
If your ceiling fan does not have an existing UL Listed mounting box, then install one using the following instructions:
- Disconnect the power by removing the fuses or turning off the circuit breakers.
- Secure the outlet box (not included) directly to the building structure. Use appropriate fasteners and materials (not included). The outlet box and its bracing must be able to fully support the weight of the moving fan (at least 35 lb.). Do not use a plastic outlet box.
The illustrations below show three different ways to mount the outlet box (not included).
NOTE: You may need a longer downrod to maintain proper blade clearance when installing on a steep, sloped ceiling. The maximum angle allowable is 18° away from horizontal. If the canopy (B) touches the hanger ball/downrod assembly (D), remove the decorative canopy bottom cover (C) and turn the canopy (B) 180° before attaching the canopy (B) to the mounting bracket (A).
To hang your fan where there is an existing fixture but no ceiling joist, you may need an installation hanger bar (not included) as shown above.
Assembly — Attaching the Fan Blades
Attaching the fan blades
- Align the blade notches with the motor posts.
- Attach the blade (H) to the fan motor assembly (F). Align the holes on the blade support plate (G), the blade (H), and the fan motor assembly (F) and secure with the blade attachment screws and lock washers.
- Repeat this procedure with the remaining blades (H).
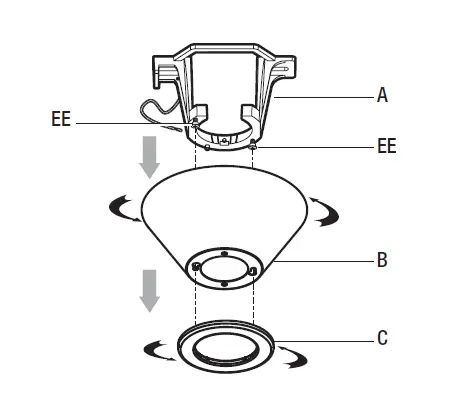
Preparing the canopy
- Remove the canopy bottom cover (C) from the canopy (B) by turning the canopy bottom cover (C) counterclockwise.
- Remove the mounting bracket (A) from the canopy (B) by loosening canopy mounting screws (EE) a half turn from the screw head. Next, turn the canopy (B) counterclockwise to remove the mounting bracket (A) from the canopy (B).

Preparing the motor
- Remove the cotter pin (FF) and clevis pin (GG), and loosen the two collar set screws (HH) from the motor collar.
- Take out the set screw (II) located in the hanger ball (JJ), lower the hanger ball (JJ) and remove the cross pin (KK). Remove the hanger ball (JJ) from the hanger ball/downrod assembly (D).
- Remove the ground lead (LL) from the downrod assembly (D).

Assembly — Hanging the Fan
Assembling the fan
WARNING: Failure to properly install the cotter pin (FF) could result in the fan loosening and possibly falling.
NOTE: If a longer downred (not included) is needed, take out the screw located in the hanger ball (JJ), lower the hanger ball (JJ) and remove the pin (KK). Remove all three pieces from the dowered and assemble them onto the new longer dowered before proceeding to the dowered installation. Be sure to snap together the 3-pin connectors, the male plugs from the fan and female plugs from the extension cord (DD).
- Carefully feed the motor wires up through the dowered (MM). Thread the dowered (MM) into the collar.
- Align the holes and replace the clevis pin (GG) and cotter pin (FF). Tighten the two collar set screws (HH).
- Slip the coupling cover (E), the canopy bottom cover (C), and the canopy (B) onto the downrod (MM).
- Carefully reinstall the hanger ball (JJ) and the ground lead (LL) onto the downrod (MM).
- Replace the cross pin (KK) and make sure it is in the correct position.
- Tighten the set screw (II) and make sure wires are not twisted.

Attaching the mounting bracket to the electrical box
WARNING: To reduce the risk of fire, electric shock or other personal injury, mount the fan only to an outlet box or supporting system marked acceptable for fan support and use the mounting screws provided with the outlet box.
- Pass the 120-volt supply wires through the center hole in the mounting bracket (A).
- Attach the mounting bracket (A) on the outlet box by sliding the mounting bracket (A) over the screws provided with the outlet box. Note that the flat side of the mounting bracket (A) is toward the outlet box.
- Securely tighten the two mounting screws.
Hanging the fan on the mounting bracket
WARNING: The tab in the ring must rest in the groove of the hanger ball/downrod assembly (D). Failure to properly seat the tab in the groove could cause damage to the wiring.
- Carefully lift the fan motor assembly (F) up to the mounting bracket (A) and seat the hanger ball/downrod assembly (D) in the mounting bracket (A) socket. Make sure the tab on the mounting bracket (A) socket is properly seated in the groove in the hanger ball/downrod assembly (D). This will help to balance the ceiling fan.

Making the electrical connections
WARNING: Check to see that all connections are tight, including ground, and that no bare wire is visible at the wire nuts (except for the ground wire).
CAUTION: To reduce the risk of electric shock, this fan must be installed with an isolating wall control/switch.
NOTE: The fan must be installed at a maximum distance of 20 ft. from the remote control for proper signal transmission between the remote control and the fan’s receiving unit.
If you feel you do not have enough electrical wiring knowledge or experience, have your fan installed by a licensed electrician.
Follow the steps below to connect the fan to your household wiring. Use the plastic wire nuts (AA) with your fan. Secure the plastic wire nuts (AA) with electrical tape. Make sure there are no loose strands or connections.
- Insert the receiver (I) into the mounting bracket (A) with the flat side of the receiver (I) facing the ceiling.
- Make wire connections from the fan to the receiver (I).
From fan To receiver
3-pin connector————— 3-pin connector - Make wire connections from the receiver (I) and fan to the outlet box as follows, using the wire nuts (AA).
From receiver To outlet box
Black wire “AC in L” ——— Black wire (Hot)
White wire “AC in N” ——— White wire (Neutral)
From fan and receiver To outlet box
Green wires* —————– Green or bare wire (Ground) - * There are three green grounding leads: one from the mounting bracket (A), one from the hanger ball/downrod assembly (D) and one from the receiver (I).
- Turn the wire nut connections upward, spreading them apart so the green (ground) and white wires will be on one side of the outlet box and the black wire will be on the other side.
- Carefully tuck the connections up into the outlet box.

Finishing the fan installation
WARNING: Make sure the tab on the mounting bracket properly sits in the groove in the hanger ball before attaching the canopy to the bracket by turning the housing until it drops into place.
NOTE: Adjust the canopy mounting screws as necessary until the canopy and canopy bottom cover are snug.
- Make sure connections are neatly tucked into the ceiling outlet box.
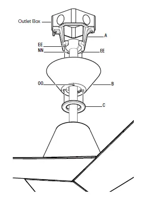
- Slide the canopy (B) up to the mounting bracket (A) and place the key holes on the canopy over the loose canopy mounting screws (EE) on the mounting bracket (A). Turn the canopy clockwise until it locks in place at the narrow section of the key holes. Make sure the positioning pin (NN) on the mounting bracket falls into one of two holes (OO) on the canopy, and then tighten the two canopy mounting screws (EE).
- Attach the canopy bottom cover (C) to the canopy (B) by inserting the screw heads into the key slots in the canopy bottom cover (C) and rotating it clockwise.

Operation
SETTING UP THE TRANSMITTER
NOTE: The remote has been pre-paired in the factory for your convenience.
NOTE: Batteries will weaken with age and should be replaced before leaking takes place as this will damage the remote control. Dispose of used batteries properly and keep them out of the reach of children.
- Remove the battery cover by pressing firmly on the arrow and sliding the cover off.
- Install two 1.5V AAA batteries (CC) (included).
- Replace the battery cover on the remote control (J).

LEARNING PROCESS
NOTE: If you have two or more fans, please follow steps below to control each fan independently.
The learning process causes any installed fan within range to memorize a remote control. Fans can learn five remotes.
To add a remote to your fan’s memory, use the steps below:
- Ensure AC power to the fan is OFF to begin the learning process.
- Turn the fan’s AC power ON.
NOTE: If installing multiple fans on separate remotes, only the fan being programmed should have AC power turned ON. All other fans, even if they have already been programmed, should have AC power OFF so they do not memorize other remotes during the learning process. Separate the fan power switches by approximately 2 meters.
- Within 60 seconds of turning AC power on, press and release the “LEARN” button located in the remote’s battery compartment to enter the learning function. Once the fan has detected the remote controls’ frequency, the down light of your fan, if applicable, will blink, and the fan blades will start to spin.
- The fan will now accept commands from the added remote.

OPERATING YOUR FAN AND REMOTE CONTROL
NOTE: The fan will store the last used speed setting for the next time it is turned on.
NOTE: You must turn the fan on prior to using the speed or time functions.
NOTE: On each start up of your ceiling fan, the fan blades will oscillate back and forth. This is a NORMAL OPERATION for DC motor ceiling fans as they go through a calibration cycle. The fan is NOT DEFECTIVE.
- Fan button – Press and release the button to turn the fan on or off.
- When turned on, the fan will begin spinning using its last speed settings.
- Speed functions
- Low speed
- Medium low speed
- Medium speed
- Medium high speed
- High speed
- Extra high speed
- Comfort BreezeTM
- Pressing the button will activate the Comfort BreezeTM mode. If you are using Comfort BreezeTM mode, pressing the button or the fan speed buttons will cancel Comfort BreezeTM mode and resume normal fan operation.
- Fan reverse button (Must be pushed when the fan is in operation)
- Controls fan direction.
- Timer
Pressing the timer button will automatically turn fan and light (if light is on) off after 1, 3, or 6 hours.
INSTALLING THE REMOTE CONTROL HOLDER
- Attach the remote control holder (PP) with the two remote control holder mounting screws (QQ).
WARM/COOL WEATHER OPERATING INSTRUCTIONS
Speed settings for warm or cool weather depend on factors such as the room size, ceiling height, numbers of fans.
NOTE: The fan reverse buttons must be pressed while the fan is running.
Warm weather – (Counterclockwise Direction) A downward air flow creates a cooling effect. This allows you to set your air conditioner on a warmer setting without affecting your comfort.
Cool weather – (Clockwise Direction) An upward air flow moves warm air off the ceiling. This allows you to set your heating unit on a cooler setting without affecting your comfort.

Care and Cleaning
Do
- Check the support connections, brackets, and blade attachments twice a year. Make sure they are secure. Because of the fan’s natural movement, some connections may become loose over time. It is not necessary to remove the fan from the ceiling.
- Clean your fan periodically. Use only a soft brush or lint-free cloth to avoid scratching the finish. The plating is sealed with a lacquer to minimize discoloration or tarnishing.
- (Optional) Apply a light coat of furniture polish to the wood blades.
- (Optional) Cover small scratches with a light application of shoe polish.
Do not
- Use water when cleaning. Water could damage the motor, or the wood, or possibly cause an electrical shock.
- Apply oil to your fan or motor. The motor has permanently-lubricated sealed ball bearings.
Troubleshooting
| Problem | Solution |
| The fan will not start. |
|
| The fan sounds noisy. |
|
| The remote control is not working. |
|
| The fan wobbles. |
|
| Fan moves backwards and forwards when turned on. |
|
This device complies with part 15 of the FCC Rules. Operation is subject to the following two conditions:
- This device may not cause harmful interference, and
- This device must accept any interference received, including interference that may cause undesired operation.
WARNING: Changes or modifications to this unit not expressly approved by the party responsible for compliance could void the user’s authority to operate the equipment.
NOTE: This equipment has been tested and found to comply with the limits for a Class B digital device, pursuant to Part 15 of the FCC Rules. These limits are designed to provide reasonable protection against harmful interference in a residential installation. This equipment generates, uses and can radiate radio frequency energy and, if not installed and used in accordance with the instructions, may cause harmful interference to radio communications.
However, there is no guarantee that interference will not occur in a particular installation. If this equipment does cause harmful interference to radio or television reception, which can be determined by turning the equipment off and on, the user is encouraged to try to correct the interference by one or more of the following measures:
- Reorient or relocate the receiving antenna.
- Increase the separation between the equipment and receiver.
- Connect the equipment into an outlet on a circuit different from that to which the receiver is connected.
- Consult the dealer or an experienced radio/TV technician for help.
Questions, problems, missing parts? Before returning to the store, call Home Decorators Collection Customer Service
8 a.m. – 7 p.m., EST, Monday – Friday, 9 a.m.- 6 p.m., EST, Saturday
1-800-986-3460
HOMEDEPOT.COM/HOMEDECORATORS
Retain this manual for future use.



















