MAYTAG W10175446B Refrigerator

THANK YOU for purchasing this high-quality product. If you should experience a problem not covered in TROUBLESHOOTING, please visit our website at www.maytag.com for additional information. If you still need assistance, call us at 1-800-688-9900. In Canada, visit our website at www.maytag.ca or call us at 1-800-807-6777. You will need your model and serial number Iocated on the inside wall of the refrigerator compartment.
REFRIGERATOR SAFETY
Your safety and the safety of others are very important. We have provided many important safety messages in this manual and on your appliance. Always read and obey all safety messages. This is the safety alert symbol. This symbol alerts you to potential hazards that can kill or hurt you and others. All safety messages will follow the safety alert symbol and ither the word “DANGER” or “WARNING.” These words mean:
DANGER
You can be killed or seriously injured if you don’t immediately follow instructions.
WARNING
You can be killed or seriously injured if you don’t follow instructions. All safety messages will tell you what the potential hazard is, tell you how to reduce the chance of injury, and tell you what can happen if the instructions are not followed.
IMPORTANT SAFETY INSTRUCTIONS
WARNING
To reduce the risk of fire, electric shock, or injury to persons when using the refrigerator, follow basic precautions, including the following:
- Plug into a grounded 3 prong outlet.
- Do not remove ground prong.
- Do not use an adapter.
- Do not use an extension cord.
- Disconnect power before servicing.
- Replace all parts and panels before operating.
- Remove doors from your old refrigerator.
- Use nonflammable cleaner.
- Keep flammable materials and vapors, such as gasoline, away from refrigerator.
- Use two or more people to move and install refrigerator.
- Disconnect power before installing ice maker (on ice maker kit ready models only).
SAVE THESE INSTRUCTIONS
WARNING
Suffocation Hazard Remove doors from your old refrigerator. Failure to do so can result in death or brain damage
IMPORTANT: Child entrapment and suffocation are not problems of the past. Junked or abandoned refrigerators are still dangerous – even if they will sit for “just a few days.” If you are getting rid of your old refrigerator, please follow these instructions to help prevent accidents.
Before You Throw Away Your Old Refrigerator or Freezer:
- Take off the doors.
- Leave the shelves in place so that children may not easily climb inside.

INSTALLATION INSTRUCTIONS
Unpack the Refrigerator
WARNING
Excessive Weight Hazard Use two or more people to move and install refrigerator. Failure to do so can result in back or other injury
Remove the Packaging
- Remove tape and glue residue from surfaces before turning on the refrigerator. Rub a small amount of liquid dish soap over the adhesive with your fingers. Wipe with warm water and dry.
- Do not use sharp instruments, rubbing alcohol, flammable fluids, or abrasive cleaners to remove tape or glue. These products can damage the surface of your refrigerator. For more information, see “Refrigerator Safety.”
- Dispose of/recycle all packaging materials
When Moving Your Refrigerator:
Your refrigerator is heavy. When moving the refrigerator for cleaning or service, be sure to protect the floor. Always pull the refrigerator straight out when moving it. Do not wiggle or “walk” the refrigerator when trying to move it, as floor damage could occur.
Clean Before Using
After you remove all of the packaging materials, clean the inside of your refrigerator before using it. See the cleaning instructions in “Refrigerator Care.”
Important information to know about glass shelves and covers:
Do not clean glass shelves or covers with warm water when they are cold. Shelves and covers may break if exposed to sudden temperature changes or impact, such as bumping. For your protection, tempered glass is designed to shatter into many small, pebble-size pieces. This is normal. Glass shelves and covers are heavy. Use special care when removing them to avoid impact from dropping
Location Requirements
WARNING
Explosion Hazard Keep flammable materials and vapors, such as gasoline, away from refrigerator. Failure to do so can result in death, explosion, or fire.
To ensure proper ventilation for your refrigerator, allow for a ¹⁄₂” (1.25 cm) space at the top and behind the refrigerator. If your refrigerator has an ice maker, allow extra space at the back for the water line connections. When installing your refrigerator next to a fixed wall, leave 2¹⁄₂” (6.3 cm) minimum on the hinge side (some models require more) to allow for the door to swing open.
NOTE: It is recommended that you do not install the refrigerator near an oven, radiator, or other heat source. Do not install the refrigerator in a location where the temperature will fall below 55°F (13°C).

Electrical Requirements
Electrical Shock Hazard Plug into a grounded 3 prong outlet. Do not remove ground prong. Do not use an adapter. Do not use an extension cord. Failure to follow these instructions can result in death, fire, or electrical shock. Before you move your refrigerator into its final location, it is important to make sure you have the proper electrical connection.
Recommended Grounding Method
A 115 Volt, 60 Hz., AC only 15- or 20-amp fused, grounded electrical supply is required. It is recommended that a separate circuit serving only your refrigerator be provided. Use an outlet that cannot be turned off by a switch. Do not use an extension cord.
NOTE: Before performing any type of installation, cleaning, or removing a light bulb, turn the refrigerator to OFF. Depending on your model, turn the freezer control to the word OFF, or press the Freezer down arrow touch pad until a dash (–) appears in both the Freezer and Refrigerator displays as shown. Disconnect the refrigerator from the electrical source. When you are finished, reconnect the refrigerator to the electrical source and reset the temperature controls to the desired setting. See “Using the Controls.”

Water Supply Requirements
Gather the required tools and parts before starting installation. Read and follow the instructions provided with any tools listed here.
TOOLS NEEDED:
- Flat-blade screwdriver
- ⁷⁄₁₆” and ¹⁄₂” Open-end or two adjustable wrenches
- ¹⁄₄” Nut driver
- ¹⁄₄” Drill bit
- Cordless drill
IMPORTANT:
- All installations must meet local plumbing code requirements.
- Do not use a piercing-type or ³⁄₁₆” (4.76 mm) saddle valve which reduces water flow and clogs more easily.
- Use copper tubing and check for leaks. Install copper tubing only in areas where the household temperatures will remain above freezing.
Water Pressure
A cold water supply with water pressure of between 35 and 120 psi (241 and 827 kPa) is required to operate the water dispenser and ice maker. If you have questions about your water pressure, call a licensed, qualified plumber.
Reverse Osmosis Water Supply
IMPORTANT: The pressure of the water supply coming out of a reverse osmosis system going to the water inlet valve of the refrigerator needs to be between 35 and 120 psi (241 and 827 kPa). If a reverse osmosis water filtration system is connected to your cold water supply, the water pressure to the reverse osmosis system needs to be a minimum of 40 to 60 psi (276 to 414 kPa). If the water pressure to the reverse osmosis system is less than 40 to 60 psi (276 to 414 kPa):
- Check to see whether the sediment filter in the reverse osmosis system is blocked. Replace the filter if necessary.
- Allow the storage tank on the reverse osmosis system to refill after heavy usage.
- If your refrigerator has a water filter, it may further reduce the water pressure when used in conjunction with a reverse osmosis system. Remove the water filter. See “Water Filtration System.”
If you have questions about your water pressure, call a licensed, qualified plumber.
Connect the Water Supply
Read all directions before you begin.
IMPORTANT: If you turn the refrigerator on before the water line is connected, turn the ice maker OFF.
Connect to Water Line
- Unplug refrigerator or disconnect power.
- Turn OFF main water supply. Turn ON nearest faucet long enough to clear line of water.
- Find a ¹⁄₂” to 1¹⁄₄” (12.7 mm to 31.8 mm) vertical cold water pipe near the refrigerator.
IMPORTANT:- Make sure it is a cold water pipe.
- Horizontal pipe will work, but the following procedure must be followed: Drill on the top side of the pipe, not the bottom. This will help keep water away from the drill. This also keeps normal sediment from collecting in the valve.
- Determine the length of copper tubing you need. Measure from the connection on the rear of the refrigerator to the water pipe. Add 7 ft (2.1 m) to allow for cleaning. Use ¹⁄₄” (6.35 mm) O.D. (outside diameter) copper tubing. Be sure both ends of copper tubing are cut square.
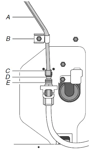
- Using a cordless drill, drill a ¹⁄₄” hole in the cold water pipe you have selected.

- A. Cold water pipe
- B. Pipe clamp
- C. Copper tubing
- D. Compression nut
- E. Compression sleeve
- F. Shutoff valve
- G. Packing nut
- Fasten the shutoff valve to the cold water pipe with the pipe clamp. Be sure the outlet end is solidly in the ¹⁄₄” drilled hole in the water pipe and that the washer is under the pipe clamp. Tighten the packing nut. Tighten the pipe clamp screws slowly and evenly so the washer makes a watertight seal. Do not overtighten or you may crush the copper tubing.
- Slip the compression sleeve and compression nut on the copper tubing as shown. Insert the end of the tubing into the outlet end squarely as far as it will go. Screw compression nut onto outlet end with adjustable wrench. Do not overtighten.
- Place the free end of the tubing in a container or sink, and turn ON the main water supply. Flush the tubing until water is clear. Turn OFF the shutoff valve on the water pipe.
Connect to Refrigerator
Depending on your model, the water line may come down from the top or up from the bottom. Follow the connection instructions for your model.
Style 1
- Remove plastic cap from water valve inlet port. Attach the copper tube to the valve inlet using a compression nut and sleeve as shown. Tighten the compression nut. Do not overtighten. Confirm copper tubing is secure by pulling on copper tubing.
- Create a service loop with the copper tubing. Avoid kinks when coiling the copper tubing. Secure copper tubing to refrigerator cabinet with a “P” clamp.

- A. Copper tubing
- B. “P” clamp
- C. Compression nut
- D. Compression sleeve
- E.Water valve inlet port
- Turn on water supply to refrigerator and check for leaks. Correct any leaks.
Style 2
- Create a service loop (minimum diameter of 2 ft [61 cm]) with the copper tubing. Avoid kinks when coiling the copper tubing.
- Remove the plastic cap from water valve inlet port. Place a compression nut and sleeve on the copper tubing.
- Insert the end of the copper tubing into the water valve inlet port. Shape tubing slightly so that the tubing feeds straight into the port to avoid kinks.
- Slide the compression nut over the sleeve and screw into the water valve inlet port.

- A. Plastic water tubing
- B. Sleeve
- C. Compression nut
- D. Copper tubing
- Using an adjustable wrench, hold the nut on the plastic water line to keep it from moving. Then, with a second wrench turn the compression nut on the copper tubing counterclockwise to completely tighten. Do not overtighten.

- A. Plastic water line
- B.Water valve inlet port
- C. Compression nut
- D. Copper tubing
- E. “P” clamp
- Check connection by pulling on copper tubing. Attach copper tubing to refrigerator cabinet with a “P” clamp. Turn on water supply to refrigerator and check for leaks. Correct any leaks.
Complete the Installation
WARNING
Electrical Shock Hazard Plug into a grounded 3 prong outlet. Do not remove ground prong. Do not use an adapter. Do not use an extension cord. Failure to follow these instructions can result in death, fire, or electrical shock. Plug into a grounded 3 prong outlet.
NOTE: Allow 24 hours to produce the first batch of ice. Discard the first three batches of ice produced. Allow 3 days to completely fill the ice container.
TOOLS NEEDED: ⁵⁄₁₆”, ³⁄₈”, ¹⁄₄” hex-head socket wrench, a #2 Phillips screwdriver, and a flat-blade screwdriver.
IMPORTANT
- Your refrigerator may have a standard reversible refrigerator door (Style 1) with either a freezer door or freezer drawer, or French doors (Style 2). Follow the instructions specific to the door style of your model.
- All graphics referenced in the following instructions are included later in this section after “Final Steps.” The graphics shown for the standard door (Style 1) are for a right-hand swing refrigerator (hinges factory installed on the right).
- If you only want to remove and replace the doors, see “Remove Doors and Hinges” and “Replace Doors and Hinges.”
- Before you begin, turn the refrigerator control OFF, and remove food and adjustable door or utility bins from the doors.
Remove and Replace Refrigerator Door Handles
Style 1–Standard Door Front Mount Handle
- To remove the handle, remove the screw attaching the trim to the upper end of the handle. Using a flat-blade screw driver wrapped in masking tape, pry the trim piece from the lower end of the handle. Then, remove the screws attaching the handle to the door. See Front Mount graphic 2.
- To replace handle, reverse directions
Side Mount Handle
- To remove the handle, remove the four screws attaching the handle to the side of the door. See Side Mount graphic 2.
- To replace the handle, align the holes in the handle with the holes in the door. Then, insert a screw in the upper hole at each end of the handle. Next, insert a screw in the lower holes. Tighten the screws. See Side Mount graphic 2.
Style 2–French Doors Metal Handles
- Using a ³⁄₃₂” Allen wrench, loosen the two set screws located on the side of each handle. Pull the handle straight out from the door. Make sure you keep the screws for reattaching the handles. See Metal Handle graphic 1.
- To replace the handles, reverse the directions.
Plastic Handles
- To remove the handle, grasp the lower part of the handle firmly, slide the handle up and pull the handle straight out from the door. See Plastic Handle graphic 1.
- To replace the handle, position the handle so that the large holes in the mounting clips are down and align the holes with the door studs. Rotate the handle so that the mounting clips are flat against the door and slide the handle down to engage. See Plastic Handle graphic 1.
Remove Door and Hinges
Style 1–Standard Door

Freezer drawer models
- Unplug refrigerator or disconnect power.
- Keep the refrigerator door closed until you are ready to lift it free from the cabinet.
NOTE: Provide additional support for the door while the hinges are being moved. Do not depend on the door gasket magnets to hold the door in place while you are working. - Remove the parts for the top hinge as shown in Top Hinge graphic. Lift the refrigerator door free from the cabinet.
- Remove the parts for the bottom hinge as shown in Bottom Hinge graphic.
Freezer door models
- Unplug refrigerator or disconnect power.
- Keep the freezer door closed until you are ready to lift it free from the cabinet.
NOTE: Provide additional support for the door while the hinges are being moved. Do not depend on the door gasket magnets to hold the door in place while you are working. - Remove the parts for the top hinge as shown in Top Hinge graphic. Lift the refrigerator door free from the cabinet.
- Remove the center hinge pin and remove the hinge screws as shown in the Center Hinge graphic. Lift the freezer door free from the cabinet.
- Remove the parts for the bottom hinge as shown in Bottom Hinge graphic.
WARNING
Electrical Shock Hazard Disconnect power before removing doors. Failure to do so can result in death or electrical shock.
- Unplug refrigerator or disconnect power.
- Keep the refrigerator doors closed until you are ready to lift them free from the cabinet.
NOTE: Provide additional support for the refrigerator door while the hinges are being removed. Do not depend on the door gasket magnets to hold the door in place while you are working. - Starting with the right-hand side door, remove the parts for the top hinge as shown in Top Hinge graphic. Lift the refrigerator door from the bottom hinge pin.
- Remove the shim (on some models) from the bottom hinge pin and keep it for later use. See Bottom Hinge graphic.
- Before removing the left-hand side door, disconnect the wiring plug located on top of the top hinge by wedging a flatblade screwdriver or your fingernail between the two sections. See Wiring Plug graphic.
NOTE: The green, ground wire remains attached to the hinge. - Remove the parts for the left-hand side door top hinge as shown in the Top Hinge graphic. Lift the door from the bottom hinge pin.
NOTE: On some models, remove the shim from the bottom hinge pin and keep it for later use. See Bottom Hinge graphic.
Reverse Door – Standard Door (optional)
IMPORTANT: If you want to reverse your door so it opens from the opposite side, follow these steps. If you are not reversing the door, see “Replace Door and Hinges.”

Cabinet
- Remove hinge screws from handle side and move them to opposite side. See Graphic 1-1.
- Remove cabinet hinge hole plugs from cabinet top and move them to opposite side hinge holes as shown in Graphic 1-2.
Refrigerator door
- Remove the refrigerator handle assembly as shown in Graphic 2. Keep all parts together.
- Remove door handle seal screw front. Move to opposite side of refrigerator door as shown in Graphic 6.
- Remove the door stop. Move it to the opposite side of the refrigerator door as shown in Graphic 4.
- Attach the refrigerator handle to the opposite side of the refrigerator door.
NOTE: For models with Front mount handles, replace the handle trim as shown in Graphic 2. - Tighten all screws. Set aside the door until hinges and freezer compartment door or drawer are in place.
Freezer door
- Remove freezer handle assembly as shown. Keep all parts together. See Graphic 5-1.
- Remove freezer door handle seal screw. Move to opposite side of freezer door.
- Remove door stop. Move to opposite side of freezer door as shown. See Graphic 4.
- Attach handle to opposite side of freezer door.
- Tighten all screws. Set aside door until bottom hinge is installed on product.
Style 1–Standard Door
NOTE: Graphics may be reversed if door swing is reversed.
Freezer drawer models
- Replace the parts for the bottom hinge as shown. Tighten screws.
NOTE: Provide additional support for the door while the hinges are being moved. Do not depend on the door gasket magnets to hold the door in place while you are working. - Assemble the parts for the top hinge as shown in Top Hinge graphic. Do not tighten screws completely.
- Adjust the door so that the bottom of the refrigerator door is aligned with the top of the freezer drawer. Tighten all screws.
Freezer door models
- Replace the parts for the bottom hinge as shown. Tighten screws. Replace the freezer door.
NOTE: Provide additional support for the door while the hinges are being moved. Do not depend on the door gasket magnets to hold the door in place while you are working. - Assemble the parts for the center hinge as shown in the Center Hinge graphic, and tighten all the screws. Replace the refrigerator door.
- Assemble the parts for the top hinge as shown in the Top Hinge graphic. Do not tighten the screws completely.
- Adjust the doors so that the bottom of the refrigerator door is aligned with the top of the freezer door. Tighten all screws.
Style 2–French Doors
- Assemble the parts for the top hinges as shown in Top Hinge graphic. Do not tighten the screws completely.
- Replace the parts for the bottom hinges as shown in Bottom Hinge graphic. Tighten screws. Replace the refrigerator doors.
NOTE: Provide additional support for the refrigerator doors while the hinges are being moved. Do not depend on the door gasket magnets to hold the doors in place while you are working. - Align each door so that the bottom of the refrigerator door aligns evenly with the top of the freezer drawer. Tighten all screws.
- Reconnect the wiring plug on top of the left-hand side refrigerator door.
- Replace the top hinge covers.
IMPORTANT:
- Two people may be required to remove and replace the freezer drawer.
- All graphics are included later in this section after “Final Steps.”
Remove and Replace Drawer Handle
Metal Handles
- Using a ³⁄₃₂” Allen wrench, loosen the two set screws located on the side of each handle. Pull the handle straight out from the drawer. Make sure you keep the screws for reattaching the handles. See Metal Handle graphic 2.
- To replace the handle, reverse the directions
Plastic Handles
- To remove the handle, grasp the handle firmly, slide the handle to the left and pull the handle straight out from the drawer. See Plastic Handle graphic 2.
- To replace the handle, position the handle so that the large holes in the mounting clips are to the right and align the holes with the door studs. Rotate the handle so that the mounting clips are flat against the drawer and slide the handle to the right to engage. See Plastic Handle graphic 2.
Remove Drawer Front
- Open the freezer drawer to full extension.
- Loosen the four screws attaching the drawer glides to the drawer front. See Drawer Front Removal graphic.
NOTE: Loosen screws three to four turns. Keep the screws in the drawer front. - Lift drawer front upward and off the screws. See Drawer Front Removal graphic.
Replace Drawer Front
- Slide the drawer glides out of the freezer compartment. Insert the screws in the top of the drawer front into the slots in the drawer brackets. See Drawer Front Replacement graphic.
- Pull the drawer brackets toward you to insert the two screws in the bottom of the drawer front into the brackets. See Drawer Front Replacement graphic.
- Completely tighten the four screws.
Final Steps
- Check all holes to make sure that hole plugs and screws are in place. Reinstall top hinge cover as shown in Top Hinge graphic.
WARNING
Electrical Shock Hazard Plug into a grounded 3 prong outlet. Do not remove ground prong. Do not use an adapter. Do not use an extension cord. Failure to follow these instructions can result in death, fire, or electrical shock. - Plug into a grounded 3 prong outlet.
- Return all removable door parts to door and food to refrigerator.
Door Removal & Replacement

Door Swing Reversal (optional)

WARNING
Electrical Shock Hazard Disconnect power before removing doors. Failure to do so can result in death or electrical shock
Door Removal & Replacement


Adjust the Door
Depending on your model, your refrigerator may have two front adjustable rollers (Style 1),or four adjustable rollers (Style 2), or a leveling screw (Style 3) located at the base of the refrigerator. If your refrigerator seems unsteady or you want the door to close more easily, follow the instructions for your model
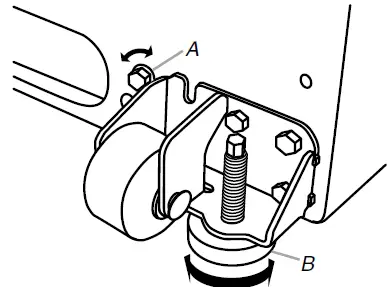
Style1–Two Adjustable Rollers
- Remove the base grille. Grasp the grille firmly and pull it toward you.
- Remove the bracket cover. Insert the eraser end of a pencil in the cover notch. Apply slight downward pressure to the notched side of the cover while swinging it off.

- Using a screwdriver or ³⁄₈” hex driver, turn the roller adjustment screw on each side to raise or lower that side of the refrigerator.
NOTE: It may take several turns of the roller adjustment screw to adjust the tilt of the refrigerator.- To raise, turn the roller adjustment screw to the right.
- To lower, turn the roller adjustment screw to the left.
NOTE: Having someone push against the top of the refrigerator takes some weight off the adjustment screws and rollers. This makes it easier to turn the screws.
- Open the door again to make sure that it closes as easily as you like. If not, tilt the refrigerator slightly more to the rear by turning both roller adjustment screws to the right. It may take several more turns, and you should turn both adjustment screws the same amount
- Lower the brake foot on each side, by turning it clockwise until it is firmly against floor.
- Replace the bracket cover. Place the bracket cover into the outer edge, swing the cover toward the cabinet and snap it into place.
- Replace the base grille.
Style 2–Four Adjustable Rollers
- Remove the base grille. Grasp the grille firmly and pull it toward you.

- Raise or lower the cabinet. Using a ³⁄₈” hex driver, turn the roller adjustment screw(s) on each side to raise or lower that side of the refrigerator.
NOTE: Having someone push against the top of the refrigerator takes some weight off the adjustment screws and rollers. This makes it easier to turn the screws. It may take several turns of the roller adjustment screw to adjust the tilt of the refrigerator.- To raise, turn the roller adjustment screw to the right.
- To lower, turn the roller adjustment screw to the left.
- Turn the brake foot clockwise until it is firmly against the floor to keep the refrigerator from rolling forward when the freezer drawer is pulled open.

- A. Rear roller adjustment screw
- B. Front roller adjustment screw
- C. Brake foot
NOTE: Your refrigerator may have a rear roller adjustment screw on each side. To raise or lower the rear of the refrigerator, use a ³⁄₈” hex driver to turn the screws.
- Open the door again to make sure that it closes as easily as you like. If not, tilt the refrigerator slightly more to the rear by turning both leveling screws clockwise. It may take several more turns, and you should turn both screws the same amount.
- Replace the base grille.
Style 3–Leveling screw
- Remove the base grille. Grasp the grille firmly and pull it toward you.

- Using a ¹⁄₄” hex driver, turn the leveling screw on each side to raise or lower that side of the refrigerator.
NOTE: Having someone push against the top of the refrigerator takes some weight off the leveling screws. This makes it easier to turn the screws. It may take several turns of the leveling screw to adjust the tilt of the refrigerator.- To raise, turn the leveling screw clockwise.
- To lower, turn the leveling screw counterclockwise.
NOTE: Your refrigerator may have a rear roller adjustment screw on each side. To raise or lower the rear of the refrigerator, use a ³⁄₈” hex driver to turn the screws.
- A. Rear roller adjustment screw
- B. Leveling screw
- Open the door again to make sure that it closes as easily as you like. If not, tilt the refrigerator slightly more to the rear by turning both leveling screws clockwise. It may take several more turns, and you should turn both screws the same amount.
- Replace the base grille.
Opening and Closing Doors
(French door models)
There are two refrigerator compartment doors. The doors can be opened and closed either separately or together. There is a vertically-hinged seal on the left refrigerator door.
- When the left side door is opened, the hinged seal automatically folds inward so that it is out of the way.
- When both doors are closed, the hinged seal automatically forms a seal between the two doors.
Using the Controls
Your model may have either Electronic, Dial or Digital Controls.
IMPORTANT:
- Wait 24 hours for your refrigerator to cool completely before adding food. If you add food before the refrigerator has cooled completely, your food may spoil.
NOTE: Adjusting the Refrigerator and Freezer Controls to a higher (colder) than recommended setting will not cool the compartments any faster. - The recommended settings should be correct for normal household refrigerator use. The controls are set correctly when milk or juice is as cold as you like and when ice cream is firm.
- If the temperature is too warm or too cold in the refrigerator or freezer, first check the air vents to be sure they are not blocked before adjusting the controls.
Electronic and Dial Controls
For your convenience, the temperature controls are preset at the factory. When you first install your refrigerator, make sure the controls are still set to the recommended setting as shown

Style 2

To Turn Off/On
- Style 1 Press the freezer down arrow touch pad until a dash (-) appears in both the refrigerator and freezer displays. Neither compartment will cool.
- Style 2 Turn the freezer control to the word OFF. Neither compartment will cool when the freezer is set to OFF.
Humidity Control
The humidity control turns on a heater to help reduce moisture on the door hinge seal. Use in humid environments or when you notice moisture on the door hinge seal. The refrigerator uses more energy when Humidity Control is on.
- Press the control to ON when the environment is warm and more humid, or if you notice moisture on the door hinge seal.
- Press the control to OFF to save energy when the environment is less humid.

Adjusting Controls
If you need to adjust the temperature in either the refrigerator or freezer compartment, use the settings listed in the chart below as a guide. For (Style 1) controls press the up or down arrow touch pads, or for (Style 2) controls turn the dial to adjust the temperature. Except when starting the refrigerator, do not adjust either control more than one setting at a time. Wait 24 hours between adjustments for the temperature to stabilize.

Digital Controls
For your convenience, your temperature controls are preset at the factory. When you first install your refrigerator, make sure the controls are still set to the Initial settings as shown.
Initial Settings

IMPORTANT: When the power is on, the temperature display shows the set point temperature of the compartment
To Turn Your Refrigerator Off/On:
- Press both the freezer and refrigerator (+) touch pads repeatedly until “OFF” appears in the displays. Allow a few seconds for the refrigerator to shut off. Neither compartment will cool.
- Press both the refrigerator and freezer (-) touch pads to turn on the refrigerator.
Adjusting Digital Controls
The REFRIGERATOR control adjusts the refrigerator compartment temperature. The FREEZER control adjusts the freezer compartment temperature. If you need to adjust the temperature in either the refrigerator or freezer compartment, use the settings listed in the chart as a guide.
To Adjust Set Point Temperatures:
The first touch of the (+) or (-) touch pad displays the current temperature set point. Press the (+) or (-) touch pads until the desired temperature set point is displayed.
NOTE: Except when first turning on the refrigerator, do not adjust either temperature control more than one setting at a time. Wait 24 hours between adjustments for the temperature to stabilize

Fast Cool
The Fast Cool feature assists with periods of high refrigerator use, full grocery loads, or temporarily warm room temperatures. Press the Fast Cool touch pad to set the freezer and refrigerator to the lowest temperature settings. Press the Fast Cool touch pad again to return to the normal refrigerator set point.
NOTE: The Fast Cool feature will automatically shut off in approximately 12 hours.

Fast Ice
The Fast Ice feature assists with temporary periods of heavy ice use by increasing ice production. Press the Fast Ice touch pad to set the freezer to the lowest temperature setting. Press the Fast Ice touch pad again to return to the normal freezer set point.
NOTE: When Fast Ice is on, the(+) and(-) pads for the freezer control will not operate. The Fast Ice feature will automatically shut off in approximately 24 hours.

Temp Alarm
The Temp Alarm feature provides temperature information in the event of a power outage.
Power outage: During a power outage, if the temperatures in the refrigerator and freezer compartments exceed normal operating temperatures, the highest temperature reached will be displayed. Press the Temp Alarm touch pad until the indicator light is lit, to turn on this feature. Press and hold Temp Alarm for
3 seconds until the indicator light goes off to turn off this feature.
Temperature alarm:
An alarm will sound repeatedly if the freezer or refrigerator compartment temperatures exceed normal operating temperatures for an hour or more. The temperature displays will alternately show the current temperatures and the highest temperatures the compartments reached. Press the Temp Alarm touch pad once to stop the audible alarm and alternating temperature displays. The Temp Alarm light will continue to flash until the refrigerator returns to the set temperature.

Door Alarm
The Door Alarm feature sounds a chime every few seconds when the refrigerator door has been left open for 5 continuous minutes. The chime will sound until the door is closed or Door Alarm is turned off. Press the Door Alarm touch pad to turn this feature on or off. The indicator light will be lit when the Door Alarm feature is on.

Reset Filter
- The Reset Filter control allows you to restart the water filter status tracking feature each time you replace your water filter. See “Water Filtration System.”
- Press and hold the Reset Filter touch pad for 3 seconds, until the Order or Replace light turns off.

Digital Control User Preferences
The control center allows you to set user preferences, if desired.
Super Cool (CC)
This preference allows you to improve the air flow and temperature control. To save energy, turn off this feature by pressing OFF.
Temperature Display (F _C)
This preference allows you to change the temperature display. F – Temperature in degrees Fahrenheit C – Temperature in degrees Celsius
Alarm {AL)
This preference allows you to turn off the sound of all alarms.
- ON – You will hear the alarm sound.
- OFF – You will not hear the alarm sound.
Auto Light Level Selection (LL)
This preference allows you to adjust the dispenser light level from dimmest to brightest (settings 1 through 9).
NOTE: The Auto Light feature on the control center must be selected to activate this preference.
Sabbath Mode (SAB)
- ON – All control panel lights and alarm tones will be disabled.
- OFF – All control panel lights and alarm tones will be enabled.
NOTE: Press the Door Alarm touch pad for 3 seconds to restore all lights.
To Access the User Preferences Menu:
- Press and hold the Door Alarm touch pad for 3 seconds. The preference name will appear in the Freezer display and the preference status (F or C) or (ON or OFF) will appear in the Refrigerator display.
- Use the Freezer(+) or(-) touch pads to scroll through the preference names. When the desired preference name is displayed, press the Refrigerator(+) or(-) touch pads to change the preference status.
- Set your preferences by pressing and holding the Door Alarm touch pad for 3 seconds, or by shutting the refrigerator compartment door.
Crisper Humidity Control
You can control the amount of humidity in the moisture-sealed crisper. Depending on your model, adjust the control to any setting between FRUIT and VEGETABLES or LOW and HIGH.
- FRUIT/ LOW (open) for best storage of fruits and vegetables with skins.
- VEGETABLES / HIGH (closed) for best storage of fresh, leafy vegetables.
Turning the Ice Maker On/Off
To turn the ice maker ON, simply lower the wire shutoff arm. To manually turn the ice maker OFF, lift the wire shutoff arm to the OFF (arm up) position and listen for the click.
NOTE: Your ice maker has an automatic shutoff. As ice is made, the ice cubes will fill the ice storage bin and the ice cubes will raise the wire shutoff arm to the OFF (arm up) position. Do not force the wire shutoff arm up or down.

Ice Production Rate
- The ice maker should produce a complete batch of ice approximately every 3 hours.
- To increase ice production, lower the freezer and refrigerator temperature. See “Using the Controls.” Wait 24 hours between adjustments.
Remember
- Allow 24 hours to produce the first batch of ice. Discard the first three batches of ice produced.
- The quality of your ice will be only as good as the quality of the water supplied to your ice maker. Avoid connecting the ice maker to a softened water supply. Water softener chemicals (such as salt) can damage parts of the ice maker and lead to poor quality ice. If a softened water supply cannot be avoided, make sure the water softener is operating properly and is well maintained.
- Do not store anything on top of the ice maker or in the ice storage bin.
Water Dispenser (on some models)
IMPORTANT:
- After connecting the refrigerator to a water source, flush the water system. Press the button on the dispenser for
5 seconds, then release it for 5 seconds. Repeat until water begins to flow. Once water begins to flow, continue depressing and releasing the dispenser button (5 seconds on, 5 seconds off) for an additional 2 minutes. This will flush air from the filter and water dispensing system. Additional flushing may be required in some households. As air is cleared from the system, water may spurt out of the dispenser.
NOTE: After 5 minutes of continuous dispensing, the dispenser will stop dispensing water to avoid flooding. To continue dispensing, press the dispenser button again. - Allow 24 hours for the refrigerator to cool down and chill water. Dispense enough water every week to maintain a fresh supply.
Dispensing Water
- Hold a container under the dispenser while pressing the button.
- Release the button to stop dispensing.

The water filter is located in the upper right-hand corner of the refrigerator compartment. Do not use with water that is microbiologically unsafe or of unknown quality without adequate disinfection before or after the system. Systems certified for cyst reduction may be used on disinfected waters that may contain filterable cysts.
Water Filter Status Lights
The water filter indicator lights will remind you when it is time to order and replace your water filter. When the yellow (Order) light is on, it is almost time to change the water filter. When the red (Replace) light is on, a new water filter should be installed. It is recommended that you replace the water filter when the indicator light changes to red OR earlier if the flow of water to your water dispenser or ice maker decreases noticeably. After replacing the water filter, press and hold Reset Filter for three seconds. The Order and Replace indicator lights will blink and then go off when the system is reset. See “Using the Controls.”
Replacing the Water Filter
To purchase a replacement water filter, model U KF8001 AXX-750, contact your dealer or call 1-877-232-6771 U.S.A. or 1-800-807-6777 Canada.
IMPORTANT: Air trapped in the water system may cause water and filter to eject. Always dispense water for at least 2 minutes before removing the filter or blue bypass cap.
- Turn filter counterclockwise to remove.
- Remove sealing label from replacement filter and insert the filter end into the filter head.
- Turn the filter clockwise until it stops. Snap the filter cover closed.
NOTE: The dispenser feature may be used without a water filter installed. Your water will not be filtered. If this option is chosen, replace the filter with the blue bypass cap.
Cleaning
WARNING
Explosion Hazard Use nonflammable cleaner. Failure to do so can result in death, explosion, or fire.
Both the refrigerator and freezer sections defrost automatically. However, clean both sections about once a month to avoid buildup of odors. Wipe up spills immediately.
IMPORTANT: Because air circulates between both sections, any odors formed in one section will transfer to the other. You must thoroughly clean both sections to eliminate odors. To avoid odor transfer and drying out of food, wrap or cover foods tightly.
To Clean Your Refrigerator:
NOTE: Do not use abrasive or harsh cleaners such as window sprays, scouring cleansers, flammable fluids, cleaning waxes, concentrated detergents, bleaches or cleansers containing petroleum products on plastic parts, interior and door liners or gaskets. Do not use paper towels, scouring pads, or other harsh cleaning tools.
- Unplug refrigerator or disconnect power.
- Hand wash, rinse, and dry removable parts and interior surfaces thoroughly. Use a clean sponge or soft cloth and a mild detergent in warm water.
- Wash stainless steel and painted metal exteriors with a clean sponge or soft cloth and a mild detergent in warm water.
- o keep your stainless steel refrigerator looking like new and to remove minor scuffs or marks, it is suggested that you use the manufacturer’s approved Stainless Steel Cleaner and Polish, Part Number 20000008. To order the cleaner, call 1-877-232-6771 U.S.A. or 1-800-807-6777 Canada.
IMPORTANT: This cleaner is for stainless steel parts only!
Do not allow the Stainless Steel Cleaner and Polish to come into contact with any plastic parts such as the trim pieces, dispenser covers or door gaskets. If unintentional contact does occur, clean plastic part with a sponge and mild detergent in warm water. Dry thoroughly with a soft cloth.
- o keep your stainless steel refrigerator looking like new and to remove minor scuffs or marks, it is suggested that you use the manufacturer’s approved Stainless Steel Cleaner and Polish, Part Number 20000008. To order the cleaner, call 1-877-232-6771 U.S.A. or 1-800-807-6777 Canada.
- There is no need for routine condenser cleaning in normal home operating environments. If the environment is particularly greasy or dusty, or there is significant pet traffic in the home, the condenser should be cleaned every 2 to 3 months to ensure maximum efficiency. If you need to clean the condenser:
- Remove the base grille.
- Use a vacuum cleaner with a soft brush to clean the grille, the open areas behind the grille and the front surface area of the condenser.
- Replace the base grille when finished.
- Plug in refrigerator or reconnect power.
Changing the Light Bulb
NOTE: Not all appliance bulbs will fit your refrigerator. Be sure to replace the bulb with an appliance bulb of the same size, shape, and wattage (no greater than 40 watts).
- Unplug the refrigerator or disconnect power.
- Remove the light shield, if necessary.
Freezer drawer models- Top of the refrigerator compartment – Slide the light shield toward the back of the compartment to release it from the light assembly.
- Top of freezer compartment – The light shield opens from the back. Firmly press forward on the notches in the back of the shield and pull the shield down.
NOTE: You may need to remove the upper freezer shelf or basket to access the light assembly.
Freezer door models - Top of the refrigerator compartment – Slide the shield toward the back to release it from the light assembly.
- Top of freezer compartment – Squeeze and pull rear of light shield toward you to release the tabs, then pull down.

- Replace the burned-out bulb(s) with an appliance bulb(s) no greater than 40 watts.
- Replace the light shield.
Freezer drawer models- Top of the refrigerator compartment – Insert the tabs on the shield into the liner holes on each side of light assembly. Slide the shield toward the front until it locks into place.
NOTE: To avoid damaging the light shield, do not force the shield beyond the locking point. - Top of the freezer compartment – Insert the front tabs of the shield into the liner and snap the back portion of the shield over the light assembly.
Freezer door models - Top of the refrigerator compartment – Insert the tabs on the shield into the liner holes on each side of the light assembly. Slide the shield toward the front until it locks. NOTE: To avoid damaging the light shield, do not force the shield beyond the locking point.
- Top of freezer compartment – Insert front tabs of light shield into liner and snap the back of the shield over light assembly.
- Top of the refrigerator compartment – Insert the tabs on the shield into the liner holes on each side of light assembly. Slide the shield toward the front until it locks into place.
- Plug in refrigerator or reconnect power.
TROUBLESHOOTING
The refrigerator will not operate
WARNING
Electrical Shock Hazard Plug into a grounded 3 prong outlet. Do not remove ground prong. Do not use an adapter. Do not use an extension cord. Failure to follow these instructions can result in death, fire, or electrical shock.
- Power cord unplugged? Plug into a grounded 3 prong outlet.
- Is outlet working? Plug in a lamp to see if the outlet is working.
- Household fuse blown or circuit breaker tripped? Replace the fuse or reset the circuit breaker. If the problem continues, call an electrician.
- Are controls on? Make sure the refrigerator controls are on. See “Using the Controls.”
- New installation? Allow 24 hours following installation for the refrigerator to cool completely.
NOTE: Adjusting the temperature controls to coldest setting will not cool either compartment more quickly.
The motor seems to run too much
Your new refrigerator may run longer than your old one due to its high-efficiency compressor and fans. The unit may run even longer if the room is warm, a large food load is added, doors are opened often, or if the doors have been left open.
The refrigerator seems noisy
Refrigerator noise has been reduced over the years. Due to this reduction, you may hear intermittent noises from your new refrigerator that you did not notice from your old model. Below are listed some normal sounds with explanations.
- Buzzing – heard when the water valve opens to fill the ice maker
- Pulsating – fans/compressor adjusting to optimize performance
- Hissing/Rattling – flow of refrigerant, movement of water lines, or from items placed on top of the refrigerator
- Sizzling/Gurgling – water dripping on the heater during defrost cycle
- Popping – contraction/expansion of inside walls, especially during initial cool-down
- Water running – may be heard when water melts during the defrost cycle and runs into the drain pan
- Creaking/Cracking – occurs as ice is being ejected from the ice maker mold.
The doors will not close completely
- Door blocked open? Move food packages away from door.
- Bin or shelf in the way? Push bin or shelf back in the correct position.
Temperature and Moisture
Temperature is too warm
- New installation? Allow 24 hours following installation for the refrigerator to cool completely.
- Door(s) opened often or left open? Allows warm air to enter refrigerator. Minimize door openings and keep doors fully closed.
- Large load of food added? Allow several hours for refrigerator to return to normal temperature.
- Controls set correctly for the surrounding conditions?Adjust the controls a setting colder. Check temperature in 24 hours. See “Using the Controls.”
There is interior moisture buildup
NOTE: Some moisture buildup is normal. - Humid room? Contributes to moisture buildup.
- Door(s) opened often or left open? Allows humid air to enter refrigerator. Minimize door openings and keep doors fully closed.
Ice and Water
The ice maker is not producing ice or not enough ice
- Refrigerator connected to a water supply and the supply shutoff valve turned on? Connect refrigerator to water supply and turn water shutoff valve fully open.
- Kink in the water source line? A kink in the line can reduce water flow. Straighten the water source line.
- Ice maker turned on? Make sure wire shutoff arm or switch (depending on model) is in the ON position.
- New installation? Wait 24 hours after ice maker installation for ice production to begin. Wait 72 hours for full ice production.
- Freezer door closed completely? Firmly close the freezer compartment door. If the freezer compartment door will not close all the way, see “The doors will not close completely.”
- Large amount of ice recently removed? Allow 24 hours for ice maker to produce more ice.
- Ice cube jammed in the ice maker ejector arm? Remove ice from the ejector arm with a plastic utensil.
- Water filter installed on the refrigerator? Remove filter and operate ice maker. If ice volume improves, then the filter may be clogged or incorrectly installed. Replace filter or reinstall it correctly.
- Reverse osmosis water filtration system connected to your cold water supply? This can decrease water pressure. See “Water Supply Requirements.”
The ice cubes are hollow or small
NOTE: This is an indication of low water pressure.
- Water shutoff valve not fully open? Turn the water shutoff valve fully open.
- Kink in the water source line? A kink in the line can reduce water flow. Straighten the water source line.
- Water filter installed on the refrigerator? Remove filter and operate ice maker. If ice quality improves, then the filter may be clogged or incorrectly installed. Replace filter or reinstall it correctly.
- Reverse osmosis water filtration system connected to your cold water supply? This can decrease water pressure. See “Water Supply Requirements.”
- Questions remain regarding water pressure? Call a licensed, qualified plumber.
Off-taste, odor or gray color in the ice
- New plumbing connections? New plumbing connections can cause discolored or off-flavored ice.
- Ice stored too long? Discard ice. Wash ice bin. Allow 24 hours for ice maker to make new ice.
- Odor transfer from food? Use airtight, moisture proof packaging to store food.
- Are there minerals (such as sulfur) in the water? A water filter may need to be installed to remove the minerals.
- Water filter installed on the refrigerator? Gray or dark discoloration in ice indicates that the water filtration system needs additional flushing. Flush the water system before using a new water filter. Replace water filter when indicated. See “Water Filtration System.
The water dispenser will not operate properly
- Refrigerator connected to a water supply and the supply shutoff valve turned on? Connect refrigerator to water supply and turn water shutoff valve fully open.
- Kink in the water source line? Straighten the water source
line. New installation? Flush and fill the water system. See “Water Dispenser.” Is the water pressure at least 35 psi (241 kPa)? The water pressure to the home determines the flow from the dispenser. See “Water Supply Requirements.” - Water filter installed on the refrigerator? Remove filter and operate dispenser. If water flow increases, the filter may be clogged or incorrectly installed. Replace filter or reinstall it correctly.
- Refrigerator door closed completely? Close the door firmly. If it does not close completely, see “The doors will not close completely.”
- Recently removed the doors? Make sure the water dispenser wire/tube assembly has been properly reconnected. See “Refrigerator Doors.”
- Reverse osmosis water filtration system connected to your cold water supply? This can decrease water pressure. See “Water Supply Requirements.”
Water is leaking from the dispenser system
NOTE: One or two drops of water after dispensing is normal.
- Glass not being held under the dispenser long enough? Hold the glass under the dispenser 2 to 3 seconds after releasing the dispenser lever.
- New installation? Flush the water system. See “Water Dispenser.”
- Recently changed water filter? Flush the water system. See “Water Dispenser.”
- Water on the floor near the base grille? Make sure the water dispenser tube connections are fully tightened. See “Refrigerator Doors
Water from the dispenser is warm
NOTE: Water from the dispenser is only chilled to 50°F (10°C).
- New installation? Allow 24 hours after installation for the water supply to cool completely.
- Recently dispensed large amount of water? Allow 24 hours for water supply to cool completely.
- Water not been recently dispensed? The first glass of water may not be cool. Discard the first glass of water.
- Refrigerator connected to a cold water pipe? Make sure the refrigerator is connected to a cold water pipe. See “Water Supply Requirements.”
PRODUCT DATA SHEETS
Interior Water Filtration System
ModelUKF8001AXXX-750 Capacity 750 Gallons (2839 Liters)
This system has been tested according to NSF/ANSI Standards 42 and 53 for the reduction of the substances listed below. The concentration of the indicated substances in water entering the system was reduced to a concentration less than or equal to the permissible limit for water leaving the system, as specified in NSF/ANSI Standards 42 and 53.

Test Parameters: pH = 7.5 + 0.5 unless otherwise noted. FloW = 0.78 gpm (1.9 Lpm). Pressure = 60 psig (413.7 kPa). Temp. = 68°F to 71.6°F (20°C to 22°C).
- It is essential that operational, maintenance, and filter replacement requirements be carried out for the product to perform as advertised.
- The filter monitor system measures the amount of water that passes through the filter and alerts you to replace the filter. When 90% of the filter’s rated life is used, the yellow (Order) light comes on. When 100% of the filter’s rated life is used, the red (Replace) light comes on, and it is recommended that you replace the filter. For models without filter status lights, replace the filter every 6 months. Use replacement filter model UKF 8001AXX-750. 2007 suggested retail price of $49.99 U.S.A./$65.95 Canada. Prices are subject to change without notice.
- The product is for cold water use only.
- Do not use with water that is microbiologically unsafe or of unknown quality without adequate disinfection before or after the system. Systems certified for cyst reduction may be used on disinfected waters that may contain filterable cysts.
- Refer to the “Water Filtration System” section for the Manufacturer’s name and telephone number.
- Refer to the “Warranty” section for the Manufacturer’s limited warranty.
LIMITED WARRANTY
For one year from the date of purchase, when this major appliance is operated and maintained according to instructions attached to or furnished with the product, Maytag brand of Whirlpool Corporation or Whirlpool Canada LP (hereafter “Maytag”) will pay for factory specified parts and repair labor to correct defects in materials or workmanship. Service must be provided by a Maytag designated service company. This limited warranty is valid only in the United States or Canada and applies only when the major appliance is used in the country in which it was purchased. Outside the 50 United States and Canada, this limited warranty does not apply. Proof of original purchase date is required to obtain service under this limited warranty
ITEMS EXCLUDED FROM WARRANTY
This limited warranty does not cover:
- Service calls to correct the installation of your major appliance, to instruct you on how to use your major appliance, to replace or repair house fuses, or to correct house wiring or plumbing.
- Service calls to repair or replace appliance light bulbs, air filters or water filters. Consumable parts are excluded from warranty cOverage.
- Repairs when your major appliance is used for other than normal, single-family household use or when it is used in a manner that is contrary to published user or operator instructions and/or installation instructions.
- Damage resulting from accident, alteration, misuse, abuse, fire, flood, acts of God, improper installation, installation not in accordance with electrical or plumbing codes, or use of consumables or cleaning products not approved by Maytag.
- Cosmetic damage, including scratches, dents, chips or other damage to the finish of your major appliance, unless such damage results from defects in materials or workmanship and is reported to Maytag within 30 days from the date of purchase.
- Any food loss due to refrigerator or freezer product failures.
- Costs associated with the removal from your home of your major appliance for repairs. This major appliance is designed to be repaired in the home and only in-home service is covered by this warranty.
- Repairs to parts or systems resulting from unauthorized modifications made to the appliance.
- Expenses for travel and transportation for product service if your major appliance is located in a remote area where service by an authorized Maytag servicer is not available.
- The removal and reinstallation of your major appliance if it is installed in an inaccessible location or is not installed in accordance with published installation instructions.
- Major appliances with original model/serial numbers that have been removed, altered or cannot be easily determined. This warranty is void if the factory applied serial number has been altered or removed from your major appliance.
DISCLAIMER OF IMPLIED WARRANTIES; LIMITATION OF REMEDIES
CUSTOMER’S SOLE AND EXCLUSIVE REMEDY UNDER THIS LIMITED WARRANTY SHALL BE PRODUCT REPAIR AS PROVIDED HEREIN. IMPLIED WARRANTIES, INCLUDING WARRANTIES OF MERCHANTABILITY OR FITNESS FOR A PARTICULAR PURPOSE, ARE LIMITED TO ONE YEAR OR THE SHORTEST PERIOD ALLOWED BY LAW. MAYTAG SHALL NOT BE LIABLE FOR INCIDENTAL OR CONSEQUENTIAL DAMAGES. SOME STATES AND PROVINCES DO NOT ALLOW THE EXCLUSION OR LIMITATION OF INCIDENTAL OR CONSEQUENTIAL DAMAGES, OR LIMITATIONS ON THE DURATION OF IMPLIED WARRANTIES OF MERCHANTABILITY OR FITNESS, SO THESE EXCLUSIONS OR LIMITATIONS MAY NOT APPLY TO YOU. THIS WARRANTY GIVES YOU SPECIFIC LEGAL RIGHTS, AND YOU MAY ALSO HAVE OTHER RIGHTS WHICH VARY FROM STATE TO STATE OR PROVINCE TO PROVINCE.
If outside the 50 United States and Canada, contact your authorized Maytag dealer to determine if another warranty applies.
9/07
For additional product information, in the U.S.A., visit www.maytag.com In Canada, visit www.maytag.ca
If you do not have access to the Internet and you need assistance using your product or you would like to schedule service, you may contact Maytag at the number below. Have your complete model number ready. You can find your model number and serial number on the label, located on the inside wall of the refrigerator compartment. For assistance or service in the U.S.A., call 1-800-688-9900. In Canada, call 1-800-807-6777. If you need further assistance, you can write to Maytag with any questions or concerns at the address below:










Using the Controls





















