FRIGIDAIRE FFUF2021AW Freezer

INTRODUCTION
Welcome to our family
Thank you for bringing Frigidaire into your home! We see your purchase as the beginning of a long relationship together.
This manual is your resource for the use and care of your product. Please read it before using your appliance. Keep it handy for quick reference. If something doesn’t seem right, the troubleshooting section will help you with common issues. FAQs, helpful tips and videos, cleaning products, and kitchen and home accessories are available at Frigidaire.com.
We are here for you! Visit our website, chat with an agent, or call us if you need help. We may be able to help you avoid a service visit. If you do need service, we can get that started for you.
Let’s make it official! Be sure to register your product.
IMPORTANT SAFETY INFORMATION
WARNING
Please read all instructions before using this appliance
Safety Definitions
This is the safety alert symbol. It is used to alert of potential personal injury hazards. Obey all safety messages that follow this symbol to avoid possible injury or death.
DANGER
DANGER indicates an imminently hazardous situation which, if not avoided, will result in death or serious injury.
WARNING
WARNING indicates a potentially hazardous situation which, if not avoided, could result in death or serious injury.
CAUTION
CAUTION indicates a potentially hazardous situation which, if not avoided, may result in minor or moderate injury.
IMPORTANT
IMPORTANT indicates installation, operation or maintenance information which is important but not hazard-related.
DANGER
DANGER Risk of fire or explosion. Flammable refrigerant used. Do not use mechanical devices to defrost refrigerator. Do not puncture refrigerant tubing.
DANGER Risk of fire or explosion. Flammable refrigerant used. To be repaired only by trained service personnel. Use only manufacturer-authorized service parts. Any repair equipment used must be designed for flammable refrigerants. Follow all manufacturer repair instructions. Do not puncture refrigerant tubing.
WARNING
CALIFORNIA RESIDENTS ONLY Cancer and Reproductive Harm www.P65Warnings.ca.gov
CAUTION
CAUTION Risk of fire or explosion. Dispose of refrigerator properly in accordance with the applicable federal or local regulations. Flammable refrigerant used.
CAUTION Risk of fire or explosion due to puncture of refrigerant tubing. Follow handling instructions carefully. Flammable refrigerant used.
Child Safety
This appliance is not intended for use by persons (including children) with reduced physical, sensory or mental capabilities, or lack of experience and knowledge, unless they have been given supervision or instruction concerning use of the appliance by a person responsible for their safety. Destroy or recycle the carton, plastic bags, and any exterior wrapping material immediately after the refrigerator is unpacked. Children should NEVER use these items to play. Cartons covered with rugs, bedspreads, plastic sheets or stretch wrap may become airtight chambers, and can quickly cause suffocation.
Safety Instructions
- DO NOT store or use gasoline, or other flammable liquids, or aerosols within or in the vicinity of this or any other appliance. Read product labels for warnings regarding flammability and other hazards.
- DO NOT store explosive substances such as aerosol cans with a flammable propellant in this appliance.
- DO NOT operate the refrigerator in the presence of explosive fumes.
- Avoid contact with any moving parts of automatic ice maker.
- Remove all staples from the carton. Staples can cause severe cuts, and also destroy finishes if they come in contact with other appliances or furniture.
WARNING
Do not use electrical appliances inside the food storage compartments of the appliance unless they are of the type recommended by the manufacturer.
Proper Disposal of your Appliance
Risk of child entrapment
Child entrapment and suffocation are not problems of the past. Junked or abandoned appliances are still dangerous – even if they will sit for “just a few days”. If you are getting rid of your old appliance, please follow the instructions below to help prevent accidents. We strongly encourage responsible appliance recycling/ disposal methods. Check with your utility company or visit energystar.gov/products/recycle for more information on recycling your old appliance.
Before you throw away your old appliance
- Remove door.
- Leave shelves in place so children may not easily climb inside.
- Have refrigerant removed by a qualified service technician.
WARNING
These guidelines must be followed to ensure that safety mechanisms in this appliance will operate properly.
Electrical information
- Refer to the serial plate for correct electrical rating. The power cord of the appliance is equipped with a three-prong grounding plug for your protection against electrical shock hazards. It must be plugged directly into a properly grounded three-prong receptacle, protected with a 15-amp time delay fuse or circuit breaker. The receptacle must be installed in accordance with the local codes and ordinances. Consult a qualified electrician. Receptacles protected by Ground Fault Circuit Interrupters (GFCI) are NOT RECOMMENDED. Do NOT use an extension cord or adapter plug.
- If the power cord is damaged, it should be replaced by an authorized service technician to prevent any risk.
- Never unplug the appliance by pulling on the power cord. Always grip the plug firmly, and pull straight out from the receptacle to prevent damaging the power cord.
- Unplug the appliance before cleaning and before replacing a light bulb to avoid electrical shock.
- If voltage varies by 10% or more, appliance performance may be affected. Operating the unit with insufficient power can damage the motor. Such damage is not covered under the warranty. If you suspect your household voltage is high or low, consult your power company for testing.
- To prevent the appliance from being turned off accidentally, do not plug unit into an outlet controlled by a wall switch or pull cord.
- Do not pinch, knot, or bend power cord in any manner.
IMPORTANT
To turn off power to your appliance you must unplug the power cord from the electrical outlet.
WARNING
Turning the control to OFF turns off the compressor, but does not disconnect power to other electrical components.
IMPORTANT
CFC/HCFC Disposal
Your old appliance may have a cooling system that used CFCs or HCFCs (chlorofluorocarbons or hydrochlorofluorocarbons). CFCs and HCFCs are believed to harm stratospheric ozone if released to the atmosphere. Other refrigerants may also cause harm to the environment if released to the atmosphere. If you are throwing away your old appliance, make sure the refrigerant is removed for proper disposal by a qualified technician. If you intentionally release refrigerant, you may be subject to fines and imprisonment under provisions of environmental legislation.
FEATURES
Features may vary according to model
| A | Power On LED |
| B | Freezer Wire Basket |
| C | Short-Depth Freezer Shelves |
| D | Temperature Control Knob |
| E | Full-Depth Freezer Shelves |
| F | Interior LED |
| G | Fixed Door Bins |
| H | Front Leveling Feet |

IMPORTANT
Cleaning your Appliance
Remove tape and glue residue from surfaces before turning on the appliance. Rub
a small amount of liquid dish soap over the adhesive with your fingers. Rinse with
warm water and dry with a soft cloth.
Do not use sharp instruments, rubbing alcohol, flammable fluids, or abrasive cleaners to remove tape or glue. These products can damage the surface of your appliance.
After you remove all of the package materials, clean the inside of your appliance
before using it. See the CARE & CLEANING section in this manual.
See important information about cleaning glass shelves and covers in the STORAGE FEATURES section of this manual.
IMPORTANT
Moving your Appliance
Your appliance is heavy. When moving the appliance for cleaning or service, be sure to cover the floor with cardboard or hardboard to avoid floor damage. Always pull the appliance straight out when moving it. Do not wiggle or “walk” the appliance when trying to move it as floor damage could occur.
INSTALLATION
This Use & Care Guide provides general operating instructions for your model. Use the appliance only as instructed in this Use & Care Guide. Before starting the appliance, follow these important first steps.
Location
- Choose a place that is near a grounded electrical outlet. Do Not use an extension cord or an adapter plug.
- If possible, place the appliance out of direct sunlight and away from the range, dishwasher or other heat sources.
- Allow space around the unit for good air circulation. Leave a 4 inch (101 mm) space on all sides of the unit for adequate circulation.
WARNING
This appliance is intended for use in residential household and similar interior applications such as:
- a kitchen/kitchenette
- a pantry room
- a basement
- an enclosed garage
- other interior residential-type environments
CAUTION
For the most efficient operation, the appliance should be located where surrounding temperatures will not exceed 110°F (43°C). Temperatures of 0°F (-18°C) and below will NOT affect operation. Additional compressor heaters are not recommended.
WARNING
Installation clearances Allow the following clearances for ease of installation, proper air circulations, and plumbing and electrical connections:
Sides & Top 4”
Back 4”
NOTE
The exterior walls of the unit may become quite warm as the compressor works to transfer heat from the inside. Temperatures as much as 30° F warmer than room temperature can be expected. For this reason it is particularly important in hotter climates to allow enough space for air circulation around your appliance.
Leveling
Rest all bottom corners firmly on a solid floor. The floor must be strong enough to support a fully loaded appliance.
NOTE
It is VERY IMPORTANT for your unit to be level in order to function properly. If the appliance is not leveled during installation, the door may be misaligned and not close or seal properly, causing cooling, frost or moisture problems.
To Level the Appliance: Adjust the bottom feet by turning counterclockwise to lengthen and clockwise to shorten. Use a carpenter’s level to level the appliance from front to back. Adjust the leveling feet in front, ½ bubble higher, so the door closes easily.
CAUTION
To allow door to close and seal properly, DO NOT let food packages extend past the front of shelves.
DOOR REMOVAL/REVERSAL
Necessary Tools (not included)
![]() |
| Philips Screwdriver |
![]() |
| Flathead Screwdriver |
![]() |
| 8 mm Socket with Ratchet |
![]() |
| Adjustable Wrench |
![]() |
| Pliers |
IMPORTANT
Before you begin, turn the appliance temperature control to “off” and remove the electrical power cord from the wall outlet. Remove any food from door shelves.
- Keep the 2 plastic door spacers between door and cabinet as shown below. The spacers are used to make sure the distance between door and cabinet is ½ inch.

CAUTION
This procedure will require 2 people to safely perform. - Lay the freezer on its back on a padded surface.
- Unscrew the right adjustable leveling foot (A). Remove the 4 screws (B) holding the bottom hinge (C) to the cabinet with an 8 mm socket with ratchet. Screw the adjustable leveling foot back into the cabinet hole (D).

- Unscrew the door stopper on right side with Phillips screw driver and pry off the stopper with flathead screw driver. Then screw it on the left side.

- Unscrew and insert the hinge pin on the opposite side of the bottom hinge using an adjustable wrench and pliers.

- Unscrew the left adjustable leveling foot and loosen the screw.

- Attach the bottom hinge (A) with 4 screws (B) and adjustable leveling foot (C) on the left side of the cabinet.

IMPORTANT
When you screw on the bottom hinge:
• Move the door slightly in left or right direction to make sure that hinge hole is aligned with cabinet hole.
• Insert the 4 screws by half depth, then align the hinge and fully tighten. - Using an 8mm socket with a ratchet:
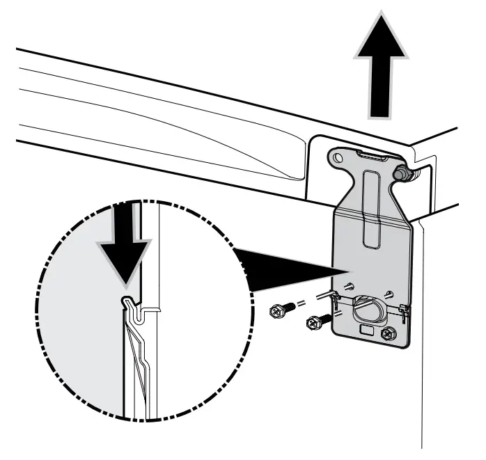
a. Remove the right top hinge cover and unsnap the alarm board; leave the alarm board and wiring attached to the unit.
b. Remove the top hinge from the right side.
c. Remove left top decorative cover.
- Using an adjustable wrench and pliers, remove the hinge pin from the right side to the left side.

- With a flat head screwdriver, gently pry upward on hinge pin bearing to remove from door. Reinstall on the opposite side of the door.

- Attach the hinge and covers.
a. Insert the alarm into the decorative cover and attach the cover to cabinet.
b. Remove positioning guide from accessory bag and attach it to the top left of cabinet.
c. Insert the hinge into positioning guide. Move door up and insert hinge pin. Attach the hinge onto cabinet with screws.
d. Attach hinge cover.
CAUTION
This procedure will require 2 people to safely perform. - Raise the appliance to the upright position. Open and close the door to check if door moves smoothly.

- Allow 1 hour before plugging the unit back into electrical outlet.
CONTROLS AND SETTINGS
Cool Down Period
- For safe food storage, allow 4 hours for the appliance to cool down completely. The unit will run continuously for the first several hours. Foods that are already frozen may be placed in the unit after the first few hours of operation. Unfrozen foods should NOT be loaded into freezer until freezer has operated for 4 hours.
- When loading freezer, freeze only 3 pounds of fresh food per cubic foot of freezer space at one time. Distribute packages to be frozen evenly throughout the freezer. It is not necessary to turn control knob to a colder setting while freezing food.
Temperature Control
The temperature control is located inside the freezer on the back wall. The temperature is factory preset to “Recommended” to provide satisfactory food storage temperatures. However, the temperature control is adjustable to provide a range of temperatures for your personal satisfaction. If a colder temperature is desired, turn the temperature control knob toward COLDEST and allow several hours for temperatures to stabilize between adjustments. Temperature Range: -10 to +10ºF.
Door Ajar Alert
If your door has been left open for 5 minutes or more the audible alert will sound until the door is closed.
Power On Light
The Power On Light indicates the appliance is properly connected to electrical power. The light glows even when the temperature control is turned to OFF. If the light goes out, refer to Appliance does not run in the TROUBLESHOOTING section. A flashing light with an audible alert indicates a high temp condition (see “Temperature Too warm” in the TROUBLESHOOTING section.
High Temp Alert
If the temperature inside the cabinet exceeds 21°F (-6°C), the LED light at the bottom of the cabinet will flash and the alarm will sound. The alarm can be reset by opening and then closing the door. The LED will continue to flash until the cabinet temperature is below 21°F (-6°C).
STORAGE FEATURES
Shelf Adjustment
Appliance shelves are easily adjusted to suit individual needs. Before adjusting the shelves, remove all food.
To adjust sliding shelves, remove shelf by pulling forward.
To replace shelf, rest side edges on any pair of shelf rails and carefully push shelf back into position. Make sure the 2 stops at the rear corners of the shelf securely fit into the notches at rear of the liner.
Fixed Door Bin
The fixed door bin is especially designed to hold large containers or freezer bags.
SAVING ENERGY
- The appliance should be located in the coolest area of the room, away from heat producing appliances or heating ducts, and out of direct sunlight.
- Let hot foods cool to room temperature before placing in the unit. Overloading the appliance forces the compressor to run longer. Foods that freeze too slowly may lose quality or spoil.
- Be sure to wrap foods properly and wipe containers dry before placing them in the unit. This cuts down on frost build-up inside the unit.
- Shelves and baskets should not be lined with aluminum foil, wax paper, or paper toweling. Liners interfere with cold air circulation, making the freezer less efficient.
- Organize and label food to reduce door openings and extended searches. Remove as many items as needed at one time, and close door as soon as possible.

CARE AND CLEANING
CAUTION
Damp objects stick to cold metal surfaces. Do not touch interior metal surfaces with wet or damp hands.
Some upright freezers are frost-free and defrost automatically, but should be cleaned occasionally.
Cleaning the Inside
Wash inside surfaces of the unit with a solution of 2 tbsp. (25 g) of baking soda in 1 qt. (1 l) warm water. Rinse and dry. Wring excess water out of the sponge or cloth when cleaning in the area of the controls, or any electrical parts.
Wash the removable parts with the baking soda solution mentioned above, or mild detergent and warm water. Rinse and dry. Never use metallic scouring pads, brushes, abrasive cleaners, or alkaline solutions on any surface. Do not wash removable parts in a dishwasher.
Cleaning the Outside
Wash the cabinet with warm water and mild liquid detergent. Rinse well and wipe dry with a clean soft cloth. Replace parts and food.
Do not use razor blades or other sharp instruments, which can scratch the appliance surface when removing adhesive labels. Any glue left from the tape can be removed with a mixture of warm water and mild detergent, or touch the residue with the sticky side of the tape already removed. DO NOT REMOVE THE SERIAL PLATE.
WARNING
If leaving door open while on vacation, make certain that children cannot get into the appliance and become entrapped.
WARNING
Do not open door unnecessarily if unit is off for several hours.
Vacation and Moving Tips
Short Vacations: Leave the unit operating during vacations of less than 3 weeks. Long Vacations: If the appliance will not be used for several months, remove all food and unplug the power cord. Clean and dry the interior thoroughly. Leave the door open slightly, blocking it open if necessary, to prevent odor and mold growth.
Moving: Disconnect the power cord plug from the wall outlet. Remove foods, then defrost, and clean the appliance. Secure all loose items such as base panel, baskets, and shelves by taping them securely in place to prevent damage. In the moving vehicle, secure unit in an upright position to prevent movement. Also protect outside of the appliance with a blanket, or similar item.
TROUBLESHOOTING
Let us help you troubleshoot your concern! This section will help you with common issues. If you need us, visit our website, chat with an agent, or call us. We may be able to help you avoid a service visit. If you do need service, we can get that started for you!
1-800-374-4432 (United States)
Frigidaire.com
1-800-265-8352 (Canada)
Frigidaire.ca
| CONCERN | CAUSE | SOLUTION |
| APPLIANCE OPERATION | ||
| Appliance does not run. |
|
|
| Appliance runs too much or too long. |
|
|
| APPLIANCE TEMPERATURES | ||
| Interior appliance temperature is too cold. |
|
|
| CONCERN | CAUSE | SOLUTION |
| Temperature in- side appliance is too warm. |
|
|
| External temperature is too warm. |
|
|
| SOUND AND NOISE | ||
| Louder sound levels when- ever appliance is on. |
|
|
| Longer sound levels when compressor comes on. |
|
|
| Popping or cracking sound when compressor comes on. Bubbling or gurgling sound. |
|
|
| Vibrating or rattling noise. |
|
|
| CONCERN | CAUSE | SOLUTION |
| WATER / MOISTURE / FROST INSIDE APPLIANCE | ||
| Moisture forms on inside walls. |
|
|
| WATER / MOISTURE / FROST OUTSIDE APPLIANCE | ||
| Moisture forms on outside. |
|
|
| ODOR IN APPLIANCE | ||
| Odors in appliance. |
|
|
| DOOR PROBLEMS | ||
| Door will not close. |
|
|
| LIGHTING PROBLEMS | ||
| Power Avail- able Light is not on |
|
|
LIMITED WARRANTY
Your appliance is covered by a one year limited warranty. For one year from your original date of purchase, Electrolux will pay all costs for repairing or replacing any parts of this appliance that prove to be defective in materials or workmanship when such appliance is installed, used and maintained in accordance with the provided instructions.
Exclusions
This warranty does not cover the following:
- Products with original serial numbers that have been removed, altered or cannot be readily determined.
- Product that has been transferred from its original owner to another party or removed outside the USA or Canada.
- Rust on the interior or exterior of the unit.
- Products purchased “as-is” are not covered by this warranty.
- Food loss due to any Appliance or freezer failures.
- Products used in a commercial setting.
- Service calls which do not involve malfunction or defects in materials or workmanship, or for appliances not in ordinary household use or used other than in accordance with the provided instructions.
- Service calls to correct the installation of your appliance or to instruct you how to use your appliance.
- Expenses for making the appliance accessible for servicing, such as removal of trim, cupboards, shelves, etc., which are not a part of the appliance when it is shipped from the factory.
- Service calls to repair or replace appliance light bulbs, air filters, water filters, other consumables, or knobs, handles, or other cosmetic parts.
- Surcharges including, but not limited to, any after hour, weekend, or holiday service calls, tolls, ferry trip charges, or mileage expense for service calls to remote areas, including the state of Alaska.
- Damages to the finish of appliance or home incurred during installation, including but not limited to floors, cabinets, walls, etc.
- Damages caused by: services performed by unauthorized service companies; use of parts other than genuine Electrolux parts or parts obtained from persons other than authorized service companies; or external causes such as abuse, misuse, inadequate power supply, accidents, fires, or acts of God.
DISCLAIMER OF IMPLIED WARRANTIES; LIMITATION OF REMEDIES
CUSTOMER’S SOLE AND EXCLUSIVE REMEDY UNDER THIS LIMITED WARRANTY SHALL BE PRODUCT REPAIR OR REPLACEMENT AS PROVIDED HEREIN. CLAIMS BASED ON IMPLIED WARRANTIES, INCLUDING WARRANTIES OF MERCHANTABILITY OR FITNESS FOR A PARTICULAR PURPOSE, ARE LIMITED TO ONE YEAR OR THE SHORTEST PERIOD ALLOWED BY LAW, BUT NOT LESS THAN ONE YEAR. ELECTROLUX SHALL NOT BE LIABLE FOR CONSEQUENTIAL OR INCIDENTAL DAMAGES SUCH AS PROPERTY DAMAGE AND INCIDENTAL EXPENSES RESULTING FROM ANY BREACH OF THIS WRITTEN LIMITED WARRANTY OR ANY IMPLIED WARRANTY. SOME STATES AND PROVINCES DO NOT ALLOW THE EXCLUSION OR LIMITATION OF INCIDENTAL OR CONSEQUENTIAL DAMAGES, OR LIMITATIONS ON THE DURATION OF IMPLIED WARRANTIES, SO THESE LIMITATIONS OR EXCLUSIONS MAY NOT APPLY TO YOU. THIS WRITTEN WARRANTY GIVES YOU SPECIFIC LEGAL RIGHTS. YOU MAY ALSO HAVE OTHER RIGHTS THAT VARY FROM STATE TO STATE.
If You Need Service
Keep your receipt, delivery slip, or some other appropriate payment record to establish the warranty period should service be required. If service is performed, it is in your best interest to obtain and keep all receipts. Service under this warranty must be obtained by contacting Electrolux at the addresses or phone numbers below.
This warranty only applies in the USA and Canada. In the USA, your appliance is warranted by Electrolux Major Appliances North America, a division of Electrolux Home Products, Inc. In Canada, your appliance is warranted by Electrolux Canada Corp. Electrolux authorizes no person to change or add to any obligations under this warranty. Obligations for service and parts under this warranty must be performed by Electrolux or an authorized service company. Product features or specifications as described or illustrated are subject to change without notice.
USA
1-800-374-4432
Frigidaire 10200 David Taylor Drive Charlotte, NC 28262
Canada
1.800.265.8352
Electrolux Canada Corp. 5855 Terry Fox Way Mississauga, Ontario, Canada L5V 3E4
Our home is your home. Visit us if you need help with any of these things:
Customer Support
owner support
accessories
service
registration
(See your registration card for more information.)
Frigidaire.com
1-800-374-4432
Frigidaire.ca
1-800-265-8352









































