PROFICOOK Toaster

Product Information
The PC-TA 1170 toaster is a household appliance designed for toasting bread slices. It has a compact design and features a single toasting slot, a carriage lever, and various control buttons for selecting the desired degree of browning, defrosting, and canceling the toasting process. The toaster also includes a crumb tray for easy cleaning and a removable bread roll attachment.
Product Usage Instructions
Before using the PC-TA 1170 toaster, it is important to read the instruction manual and safety instructions carefully. Follow the steps below for proper usage:
- Unpack the appliance and remove all packaging material.
- Plug in the toaster to a properly installed and earthed power outlet.
- Insert the bread slice(s) into the toasting slot.
- Select the desired degree of browning using the corresponding button.
- Wait for the toaster to finish toasting.
- If necessary, use the defrost or reheat button for frozen bread or reheating previously toasted bread.
- Remove the toasted bread and clean the crumb tray as needed.
Note that it is important to never spread fat or butter on the bread while toasting, as it can drip down and cause a fire.
Additionally, it is recommended to operate the toaster three times without food before first use to remove the protective layer on the heating coil.
IMPORTANT:
Be sure to read the separately enclosed safety instructions first.
Instruction Manual
Thank you for choosing our product. We hope you will enjoy using the appliance.
Read the instruction manual and the separately enclosed safety instructions very carefully before using this appliance.
Keep these documents, including the warranty certificate, receipt and, if possible, the box with the inner packaging in a safe place. If you pass the appliance on to a third party, always include all the relevant documents.
Symbols in this Instruction Manual
Important information for your safety is specially marked.
It is essential to comply with these instructions in order to avoid accidents and prevent damage to the appliance:
WARNING:
This warns you of dangers to your health and indicates possible injury risks.
CAUTION:
This refers to possible hazards to the appliance or other objects.
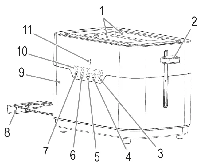
Overview of the Components /Scope of Delivery

- Toasting slot
- Carriage lever
button “reheat”
button “bagel and baguette”
button “degree of browning”
button “defrost”
button “cancel”- Crumb tray
- Housing
- Control lamps
- “Degree of browning” indicator
Without Illustration
Removable bread roll attachment
Unpacking the Appliance
- Remove the appliance from its packaging.
- Remove all packaging material, such as foils, filling material, cable ties and cardboard packaging.
- Check the scope of delivery for completeness.
- If the contents of the packaging are incomplete or if damage can be detected, do not operate the appliance.
Return it to the dealer immediately. - There may still be dust or production residues on the appliance. We recommend that you clean the appliance as described under “Cleaning”.
Warnings for the Use of the Appliance
WARNING:
- Do not carry or lift the appliance during operation, but first switch it off and then disconnect the mains plug.
Wait until the appliance has cooled down. - Only operate the appliance under supervision!
- Do not operate the appliance without the crumb tray in place, as it also serves as a heat shield.
- Do not insert forks, knives or similar into the toasting slot.
- There is a risk of burns when removing smaller bread slices!
- Do not overload the bread roll attachment! Do not place more than one bread roll on the bread roll attachment!
- Only set the selector switch for the degree of browning to a maximum of level .
- Wait one minute between toasting.
- Never spread fat or butter on the roll. Fat can drip down and catch fire!
Notes for Use
Before First Use
To remove the protective layer on the heating coil, you should operate the appliance about three times without toasting food. Select the highest browning level.
Slight smoke and odours are normal during this process.
Make sure there is sufficient ventilation.
Mains Cable
Unwind the mains cable completely. Pass the cable through the cable guide at the back of the appliance.
Electrical Connection
Check that the mains voltage you want to use matches that of the appliance. You will find the information on the type plate.
Buttons
The buttons on the appliance cannot be used until the appliance has been switched on with the lever.
Operation
- Unwind the mains cable completely.
- Only connect the appliance to a properly installed earthed socket.
- Place the bread slice(s) in the toast slot and pull the carriage down with the lever until it locks into place. The control lamps above the buttons
and
light up. - Press the
button repeatedly to adjust the browning level as desired from the lightest level to the darkest level . If in doubt, start with a smaller setting. - The appliance starts to toast. When the set browning level is reached, the appliance switches off automatically.
The slide moves up automatically. - When you no longer need the appliance, disconnect the mains plug from the socket.
Special Functions
To use the desired special functions, press the respective button after pressing the lever down.
The corresponding control lamp indicates the function.
| Cancel | To stop the toasting process prematurely. | |
| Defrost | For defrosting and then toasting frozen bread. | |
| Bagel and baguette | One-side toasting Cut the bagel or baguette in half. Place the bagel or baguette in the toaster with the outside facing out. | |
| Reheat | To reheat bread that has already been toasted. |
Bread Roll Attachment (Removable)
Do you want to warm up or toast bread rolls?
- Fold down the metal hooks from the bread roll attachment.
- Place the bread roll attachment on the toasting slot.
- Operate the appliance as described previously.
To fold the metal hooks back together, pull them apart slightly.
Cleaning
WARNING:
- Always unplug the appliance from the mains and let it cool down before cleaning.
- Do not immerse the appliance in water! It could cause an electric shock or fire.
CAUTION:
- Do not use a wire brush or other abrasive objects.
- Do not use harsh or abrasive cleaners.
Housing and Bread Roll Attachment
To clean the outside of the appliance and the bread roll attachment, use only a moderately damp cloth.
Crumb Tray
The crumb tray is located on the opposite side of the carriage lever.
- Pull out the crumb tray by the handle, remove the bread residues and push the tray back in.
Storage
- Clean the appliance as described.
- We recommend storing the appliance in its original packaging if you do not intend to use it for a long period of time.
- Always store the appliance out of the reach of children in a well-ventilated and dry place.
Winding Device for Mains Cable
You can wind up the mains cable at the bottom part.
Troubleshooting
| Problem | Possible Cause | Remedy |
| The appliance has no function. | The appliance has no power supply. | Check the power socket with another appliance. |
| Insert the mains plug correctly. | ||
| Check the house fuse. | ||
| The appliance is defective. | Contact our service or a specialist. | |
| The bread is getting too dark. | The toasting level is too high. | Select a lower toasting level. |
| The bread is too light. | The toasting level was set too low. | Select a higher toasting level. |
| The toasting slide no longer moves up. | A slice of bread has jammed in the chute. | WARNING: Pull the mains plug out of the socket! Let the appliance cool down! |
| Free the bread slice with an insulated object,e. g. a wooden stick. If necessary, turn the toaster over so that the bread slice falls out. |
Technical Data
- Model:………………………………………………………….PC-TA 1170
- Power supply:……………………………….220 – 240 V~, 50 / 60 Hz
- Power consumption:………………………………………770 – 920 W
- Protection class:…………………………………………………………….
- Net weight:……………………………………………….. approx. 1.4 kg
The right to make technical and design modifications in the course of continuous product development remains reserved.
This appliance has been tested according to all applicable,current CE directives and built according to the latest safety regulations.
Disposal
Meaning of the “Dustbin” Symbol
Protect our environment: do not dispose of electrical equipment in the domestic waste.
Please return any electrical equipment that you will no longer use to the collection points provided for their disposal.
This helps avoid the potential effects of incorrect disposal on the environment and human health.
This will contribute to the recycling and other forms of reutilisation of electrical and electronic equipment.
Information concerning where the equipment can be disposed of can be obtained from your local authority. Your dealer and contractual partner is also obliged to take back the old appliance free of charge.
Internet: www.proficook-germany.de
Made in P.R.C.



















