AudioControl DQDX Digital Signal Processor

Six-Channel Pre-amp Processor with Signal Delay, Equalization and Selectable Electronic Crossover
Greetings from the rainforests of the Pacific Northwest. The DQDX is your gateway to amazing sound from any aftermarket audio system. It is a compact, six channel, high-performance signal processor with in-dependent multi-channel equalization and signal delay to custom tune the system, plus a selectable electronic crossover for precise system set-up. In short; the DQDX can “Make Good Sound Great”!
Whether this is your first product from the rainforest dwellers of Audio-Control, or you are already a firm believer, you will definitely enjoy how great the DQDX can make your performance system sound.
Important Safety Instructions
- Read these instructions.
- Keep these instructions.
- Heed all warnings.
- Follow all instructions.
- Do not use this apparatus near water.
- Clean only with a dry cloth.
- Do not block any ventilation openings. Install in accordance with the manu-facturer’s instructions.
- Do not install near any heat sources such as mufflers, silencers, exhaust pipes, or other apparatus (including amplifiers) that produce heat.
- WARNING: Improper installation may lead to permanent injury or death. Installation of the apparatus must be done with great care by qualified per-sonnel, to prevent damage to fuel lines, power, and other electrical wiring, hydraulic brake lines, and other systems, that might compromise vehicle safety.
- Provide +12V and Ground wiring of a suitable thickness/gauge to ensure adequate current to the apparatus.
- Use rubber grommets to protect wiring whenever passing wires through metal openings or bulkheads.
- Only use attachments/accessories specified by the manufacturer.
- Refer all servicing to qualified service personnel. Servicing is required when the apparatus has been damaged in any way, such as the power input ter-minals are damaged, liquid has been spilled or objects have fallen into the apparatus, the apparatus has been exposed to rain or moisture, does not operate normally, or has been dropped.
- This apparatus shall not be exposed to dripping or splashing, and no object filled with liquids, shall be placed on the apparatus.
- Fuses shall be replaced only with the correct type and fuse value, and only when the apparatus is powered off.
- Exposure to high sound pressure levels may lead to permanent hearing loss. Take every precaution to protect your hearing.
The lightning flash with arrowhead symbol within an equilateral trian-gle is intended to alert the user to the presence of uninsulated “danger-ous voltage” within the product’s enclosure, that may be of sufficient magnitude to constitute a risk of electric shock to persons.
The exclamation point within an equilateral triangle is intended to alert the user of the presence of important operating and maintenance (ser-vicing) instructions in the literature accompanying the appliance.
Caution: to reduce the risk of electric shock, do not disassemble the apparatus, other than to remove the top panel to access the controls. There are no user-serviceable parts inside. Refer servicing to qualified personnel.
Recycling notice: If the time comes and this apparatus has fulfilled its destiny, do not throw it out into the trash. It has to be carefully recy-cled for the good of mankind, by a facility specially equipped for the safe recycling of electronic apparatii. Please contact your local or state recycling leaders for assistance in locating a suitable nearby recycling facility. Or, contact us and we might be able to repair it for you.
Key Features
- User-friendly Signal Delay to control the acoustical alignment between the left and right channels plus the front and subwoofer channels
- Individual equalization controls for the front, rear and subwoofer channels for simple yet precise system tuning
- Fully adjustable 24dB/Octave Linkwitz-Riley electronic crossover
- PFM (Program Frequency Match) Subsonic Filter
- Six channels of RCA line level inputs
- ACR-3 Dash Control Remote allows for control of the subwoofer level, to bypass processing, and to setup the delay
- Discrete Input and Output level controls with clipping indicators
- Remote turn on output provides a 12-volt trigger to turn on your amplifier
- Built in Pink Noise for easy Signal Delay and Equalizer tuning and system set-up
- Bulletproof 5 year warranty (when installed by an authorized AudioControl dealer)
Quick Installation Information
If you are a seasoned audio enthusiast and are chomping at the bit to begin your experience with the DQDX, we offer some Quick Install Guidelines below to help maximize your experience. Please also refer to the system diagram examples on page 14, 15, and 16.
- Physically mount the DQDX in a location that keeps it away from beverage spills, food crumbs, and curious fingers. You will want to select a location that allows you access to the top panel con-trols.
- The DQDX needs to be installed in the signal path between your source unit (or as some may call it, “Your Radio”) and an after-market amplifier(s)..
Note: If your source unit has front, rear, and subwoofer RCA Line Level outputs, connect them to the corresponding inputs on your DQDX. If your source unit has only front and rear inputs fear not!Just connect these to the front and rear inputs on the DQDX and switch the “Sub to Front” jumper to the ON position. There is a more detailed description of the jumpers located under the cov-er in the section titled “Under The Cover”. Changing this jumper to ON will route the low pass signal (as defined by your crossover selection) to the Sub outputs of the DQDX. - Use RCA connecting cables to connect the RCA outputs of the DQDX to your after market amplifier(s). If this is not obvious to you, quickly pack up your DQDX and run to your nearest autho-rized AudioControl dealer to have them perform the installation. You will thank us later.
- Connect +12 volt power, ground and turn-on wires as needed. Don’t forget the fuse!
- Connect your amplifier trigger input to the 12-volt trigger output of the DQDX.
- VERY IMPORTANT! Make sure the input gain control on your aftermarket amplifier(s) are all the way down (usually counter clockwise).
- Turn on the system and level match your DQDX to your source unit and amplifiers.
- Select the correct crossover point on your DQDX to create a Hi-Pass for the front and rear outputs and a Low-Pass for your sub-woofer output, if you are not using the crossover on your source unit. We would always recommend turning the crossovers OFF on your source unit and using the sweet crossover in the DQDX.
- On the chassis of the DQDX, set Signal Delay Mode to Set-Up.
- Using the ACR-3 Dash Control, adjust the signal delay between the Left and Right channels for optimum sound.
- Tap the ACR-3 Dash Control and adjust the signal delay between the front and subwoofer outputs.
- On the chassis, change Signal Delay Mode back to Normal.
- Set the equalization controls for the front, rear, and subwoofer channels. While your ears are a good reference point, we recom-mend using an audio analyzer whenever possible. To engage the pink noise output of the DQDX for help setting up the equalizer, press and hold the ACR-3 remote knob down for about four seconds. This will switch the outputs of the DQDX from music to Pink Noise. When you are done setting up the Equalizer, you can just press and hold the remote again for 4 seconds and it will turn the Pink Noise output off.
- Sit back and enjoy the sound
If you have made it to this point and you don’t have any questions, then “Congratulations”! With that said we certainly encourage you to set aside some time to grab a beverage or two and read through this entire manual, since there is a tremendous amount of useful informa-tion. Plus we took the time to write it so it would make us feel a whole lot better.
We now interrupt your reading of this manual to highlight a very important feature of all AudioControl Autosound products…
Our Bulletproof Warranty
AudioControl Autosound products are designed and assembled at our factory in the Pacific Northwest, just outside of a little town called Seattle, Washington. By nature, our products are rather sophisticated so we spend a good deal of time training our dealers and their installation team. We do this so you will get the best possible results from your AudioControl components.
To reinforce this point, if you have an Authorized AudioControl dealer install your DQDX, we will extend the normal one-year war-ranty to a full FIVE years parts and labor. Complete details of this warranty are listed at the end of this manual and on our website at www.audiocontrol.com.
We now return you to your regularly scheduled reading.
A Guided Tour of the DQDX
- RCA Line-Level Inputs: The DQDX has six RCA line-level inputs. These inputs get their signals from the RCA outputs of your source unit. If your source unit has front, rear, and subwoofer RCA line-level outputs, connect them to the three sets of corre-sponding inputs on your DQDX. If the source unit only has one output, the Front to Sub circuitry in your DQDX selectively routes the Front input channels to the subwoofer channels when you have the jumper in the appropriate position. (See “Under The Cover” on page 12, regarding the internal jumper positions.)
- Input and Output Level Controls: These will allow you to adjust the signal level from your stereo or source unit to match the input of your after-market amplifiers. Please refer to the section on Level Matching on page 24 for a more detailed description on how to set these correctly.
- Equalization Controls: To custom tune your system, the DQDX gives you dedicated equalization controls for the Front, Rear, and Subwoofer outputs. See the section on Equalization Optimization on page 20 for a more detailed description on how to set these adjustments for optimum performance.
- 24dB/Octave Linkwitz Riley Crossover: What is the benefit of fine tuning your system if you cannot accurately route the proper frequencies to the proper amplifier channels? The programmable audiophile crossover in the DQDX is the same crossover as in many other award winning AudioControl components. Know who else gives you a 24dB Linkwitz-Riley in their EQ? Nobody! This is also a far cry from the wimpy crossovers that find their way into some amplifiers these days.
- Signal Delay Mode: This allows the user to put the DQDX into Set-Up mode and adjust the signal delay settings using the dash control. See page 25 for details on setting this up.
- Ground: Connect to a good, verified chassis ground (the battery is the best possible location.) Since factory ground wires typically have multiple devices connected to them and could cause ‘Noise’ in the audio system, we would recommend to NOT use factory ground wires or locations.
- +12V Power: Connect to a good source of 12-Volt power. Be sure to use a fused connection that does not exceed 2 Amp. Doing so may damage your DQDX.
- Remote In: This is the ‘on’ and ‘off’ selector for your DQDX. Con-nect this wire directly to your source unit 12Volt trigger wire. If your source unit is not equipped with a 12 Volt trigger wire then find a reliable source in the vehicle that comes on when the key is in the ‘On’ position and turns off when the key is in the ‘Off’ position.
- Remote Out: Connect the 12 Volt turn on lead for your aftermar-ket amplifiers directly to this connection and not to any other. This is critical to eliminate any ‘clicks’ or ‘pops’ during power up and power down cycles.
- Maximized Indicators: These brightly colored LEDs indicate when the signal level coming into and going out of your new DQDX
is just below clipping. When properly level matched with your source unit these LEDs should just barely ‘flicker’ occasionally when your system is playing at its maximum volume level. Please refer to the section on Level Matching, page 24 for a more detailed step by step process (trust us…. this one is important!) - Power: If you have connected all of your power wires correctly, this LED should be bright red when your system is on and ready to go!
- Remote Level Control ACR-3 (Included): In the Set-Up mode, this control is used for setting up the signal delays. In Normal mode, it gives control of the Subwoofer level. Additionally, if you press and hold the remote down for 4 seconds, the outputs of the DQDX will turn from music to Pink Noise. This will assist in the proper setting of the EQ and Delay. When the DQDX is in Normal mode, pressing the remote momentarily will defeat all process-ing on the DQDX (Equalizer and Signal Delay). This is very helpful during set-up to make sure the changes you make to the EQ and Delay made the difference you were looking for.
- Pre-Amp Outputs: These RCA plugs should be connected directly to your amplifier inputs. Do not connect any speakers directly to your DQDX and definitely do not connect to any home appliances like your coffee maker or toaster!
- Parallel Outputs: The DQDX is equipped with a unique circuit that allows for the Front input signal to feed the Subwoofer out-puts. See page 25.
Under the Covers – Internal Jumpers
You can optimize your DQDX using most of the controls mounted on the top of the chassis. However, we recognize there are situations where advanced users may have the need to configure the DQDX for specific applications. Therefore we have provided a few setting that are located under the chassis top for limited access.
Important Note: Make sure that the power to the DQDX is disconnect-ed before accessing these jumpers.
- J9 Input Balancing Jumper: For many systems you can leave this jumper in the UNBALANCED position. In other systems, the source unit may look for a ground through the RCA connection to the amplifier and create a ground loop, which in turn can cause a whine (not the type that comes in a bottle) in your system. In that event, you should set this jumper to BALANCED.
- J10 PFM Jumper: The PFM (Programmable Frequency Match) Filter controls the cutoff frequency of the subwoofer output. The PFM is the bottom limit for the low pass output and will help protect your speakers.
- J11 Front to Sub Jumper: If your source unit has front, rear, and subwoofer RCA Line Level outputs, connect them to the corresponding inputs on your DQDX. If your source unit has only front and rear inputs, just connect these to the front and rear inputs on the DQDX and switch this “Sub to Front” jumper to the ON position. Changing this jumper to ON will route the low pass signal (as defined by your crossover selection) to the Sub outputs of the DQDX.
- J12 Ground Isolation Selector: Alternator noise may appear in a system because the source unit and amplifier(s) are using different grounding schemes. To help in this situation, we have provided alternative grounding connections. Make sure your sys-tem is turned OFF before you move these jumpers. We ship them in the isolated position, which usually gives the best results.
Basic DQDX installation using channel input and channel output
Typical DQDX installation
Using DQDX and The Epicenter from AudioControl to achieve maximum sound quality and bass
Great Features of the DQDX
Signal Delay Operation
Because of speaker placement limitations and seating positions in a car, the driver of the vehicle is usually in an incorrect acoustic alignment with the speakers. The following steps will guide you in delaying the appropriate speakers for just a few milliseconds, so the DQDX is able to allow the different signals to arrive at the same time, putting the driver in perfect acoustical alignment.
- For best performance and ease of set-up, go to our website at www.audiocontrol.com and download the Signal Delay Set-Up App for your Apple iPhone or iPad. It’s FREE and will help take all the guesswork out of setting up the delay. However, if you do not have access to an iPhone or iPad, don’t worry, you can easily set up the delay just by using your ears.
- After you have made all your power and ground connections, select your crossover point on the DQDX and set your input and output levels correctly. Turn the Signal Delay knob on the chassis all the way to the right to go into Set-Up Mode. In this mode, the Orange LED on the chassis will turn on, and the blue LED will blink on the ACR-3 remote. (See diagrams on the next page.)
- Make sure that all the delay settings are at zero: Push the ACR-3 knob until its blue LED is blinking and the red LED is solid (this is the Left/Right delay mode). Turn the knob completely clockwise until you no longer hear any Mute Clicks. Now push the ACR-3 knob until its blue LED is blinking but the red LED is now off (this is the front/sub delay mode). Again, turn the knob clockwise until you no longer hear any Mute Clicks. You have now set all of the delay in the DQDX to zero.
Normal Mode (ACR-3 Dash Knob controls the Sub Out)
- NORMAL LED ON

- ACR-3 Both LEDs ON
- Signal Delay Engaged
- Equalizer Engaged

- ACR-3 Blue LED Only
- Signal Delay Disengaged
- Equalizer Disengaged
Set-up Mode (Dash Knob controls the Signal Delay)
- SET-UP LED ON

- Blue LED Flashing, Red LED Solid
- Signal Delay Adjustment is Left to Right

- Signal Delay Adjustment is Left to Right
- Blue LED Flashing, Red LED Off
- Signal Delay Adjustmentis Sub to Front

- Signal Delay Adjustmentis Sub to Front
4. While setting the delay, choose and play a song that has very strong vocals and limited instruments. Talk radio is a great source because you can really ‘visualize’ the voice moving as you adjust the delay. This will make it much easier to move the image from down at your left knee where it currently exists, up to the center of the dash where it needs to be.
5. Left/Right Delay: Push the ACR-3 knob until its blue LED is blinking and the red LED is on solid (this is the Left/Right delay mode). With the source material playing, slowly turn the ACR-3 knob counter clockwise. Each detent in the remote represents an amount of time (in milliseconds) that you are delaying the Left front speaker. We have added a small Mute Click along with the detent on the remote to help you determine your amount of delay. If you think you have gone too far, just turn the knob all the way clockwise to start back at zero and slowly turn counter clockwise until you reach your desired result.
6. Front/Subwoofer Delay: Once the Left/Right delay has been adjusted, push the ACR-3 knob until its blue LED is blinking but the red LED is off (this is the front/sub delay mode). With the source material still playing, slowly turn the ACR-3 knob counter clockwise to add delay to both of the front speakers. You will notice with each Mute Click of the remote, the sub will move forward toward the driver. If you think you have gone too far or missed that ‘sweet spot,’ just turn the knob all the way clockwise and repeat the process.
Once you have everything where you want, it you are done! Easy right? Now just go back to the Signal Delay knob on the DQDX and turn it back to Normal mode (its blue LED will come on) and you are ready to move to the next step of set-up.
Equalization Optimization
When it comes to music, everyone has his or her own particular taste. Some people want pounding bass and crisp, blood curdling highs. Oth-ers may prefer a “flat” response (whatever the heck that is). At the end of the day, most people just want their system to sound balanced and “just like it did in the store” or similar to their buddy’s car. The follow-ing equalization guidelines should help you achieve your own personal audio nirvana and if you are looking for more detailed information on setting equalizers and small space acoustics please visit the support section of our website at www.audiocontrol.com.
- For optimum performance, get your hands on a good quality RTA (real time analyzer); we happen to make a really good one: the SA-4140. If you cannot locate an RTA, you probably want to have your authorized AudioControl dealer perform the equalization adjustments, since they will have one. You can certainly adjust your DQDX using your ears, however, using an RTA will give you the best results.

- Begin playing pink noise through your system by pressing and holding the ACR-3 remote button down for 4 seconds. Place the microphone for your analyzer on a microphone stand in the drivers seat and adjust the height so it is where the drivers head would be while sitting. Take a careful look at the “curve” on your analyzer and how one frequency combines with the next. There is no one curve that will satisfy every person, as we all have different tastes. The key is to use your DQDX to help balance your system from one frequency to the next and give your speakers the sparkle, sizzle, detail or punch that the acoustics of the car have compromised.
- Start equalizing by removing or cutting any large bumps, peaks, or areas with too much energy at a particular frequency. Next, boost the ranges that do not have enough energy. We strongly recommend that you cut or decrease energy before you boost.
- Although the plethora of knobs on your DQDX can be intimidat-ing, fear not as they were designed to give enough control to maximize your systems performance but not enough to get you in trouble. Here is an explanation of the key areas you should focus on:
Sub-bass: 100 Hz and below – A car without bass is like a day without sunshine… unless you live where we do because most of the days in the Pacific Northwest do not have sunshine. This sub-bass area is one of the more critical although it is also one of the most difficult to prop-erly reproduce. Most people prefer their bass frequencies to be 6 to 9 dB louder than the rest of their system, although there are some crazy folks that prefer their bass substantially louder. The key in this area is to have enough speakers and power to produce the amount of bass you desire but don’t use the controls on the DQDX to try and force your speakers to produce sounds they can’t. Too much bass boost creates a condition called “speakerus explodus”, which is not pretty.
Midbass: 100 Hz to 300Hz – The phrase, “too much of a good thing” can certainly apply to the midbass frequencies. This is the transition area of the audio spectrum that is an octave above your sub-bass frequencies and several octaves below your midrange. Most autosound systems have too much midbass due to the fact that speakers mounted in the doors or kick panels cause resonance’s or peaks in the response curve. These peaks in the midbass can actually mask or block sounds in the all-important midrange area causing your system to sound dull.
Midrange: 300Hz to 3Khz – Musical instruments, vocals, mid-range per-cussion and many things we associate with imaging and staging happen in this area of the bandwidth. For that reason you will want to keep this area as smooth and balanced as possible. Too much boosting can make you feel like your listening to your system in a tile bathroom. Not enough energy the midrange sounds empty and dry.
Treble: 3KHz and Up – If midrange is the cake, then these high or upper frequencies are considered the frosting. Many autosound systems start a gradual decline in this area which is why speaker placement is very important. The DQDX only gives you a few controls in this area because too much boosting can really make a speaker sound un-natural.
Digitally-Selectable Delectably-Electronical Crossover 
Since component speakers (like woofers, midrange and tweeters) are designed to reproduce certain frequencies, a crossover allows you to match the speaker needs to the appropriate frequency range. The correct crossover frequency greatly depends on your choice of speakers.
This section presents techniques for improving your overall installation if you are installing a bi-amplified system. We recommend choosing a crossover frequency based on your speaker manufacturer’s specifica-tions. Most manufacturers list a recommended crossover frequency as part of the speaker specifications. Choosing the correct crossover point will provide increased speaker reliability and optimum sound quality.
The DQDX comes with a 24/dB Octave Linkwitz Riley alignment crossover that lets you select the exact crossover point you need for your system. The crossover frequency markings on your DQDX are for reference purposes only. The exact crossover frequency can be found in the chart below:
| Pos | Freq | Pos | Freq | ||
| 1 | 50 Hz | 7:00 o’clock, full left rotation | 12 | 125 | |
| 2 | 50 | 13 | 150 | 1:00 o’clock | |
| 3 | 60 | 14 | 175 | ||
| 4 | 65 | 15 | 200 | ||
| 5 | 70 | 8:30 o’clock | 16 | 250 | |
| 6 | 75 | 17 | 300 | 3:30 o’clock | |
| 7 | 80 | 18 | 400 | ||
| 8 | 85 | 19 | 500 | ||
| 9 | 90 | 20 | defeat | ||
| 10 | 95 | 21 | defeat | 5:30 o’clock, full right rotation | |
| 11 | 100 | ||||
To get to the exact desired frequency simply start out with the cross-over selector turned all the way to the left (or counter clockwise) and count the position clicks until you get to the frequency you want to use.
Level Matching
If you have ever listened to a friend’s “killer” car audio system and heard lots of hiss, clicks or pops, then you have experienced an improp-erly level-matched system. When a performance Autosound system is properly level matched, you should get the maximum output from your source unit and amplifiers without any clipping or annoying hiss. The following steps will help guide you through the process!
- Set your source unit’s fader and balance controls to their center position and your amplifier(s) gain control to a minimum (usually counter clockwise).
- Disconnect the output RCA connections between your DQDX and your amplifier(s)… otherwise get some earplugs.
- Start playing some relatively dynamic music and set the volume on your source unit to about ¾ max volume. You should not hear anything at this point. If you are hearing music, go back to step #2… If you are hearing voices, please go see a doctor!
- Starting with the DQDX input level controls, adjust the control knob clockwise until the Input Maximized LED just begins to flicker. Do not continue to turn past this point.
- Now adjust the output level control until the output maximized LED starts to flicker.
- Decrease the volume control on your source unit and turn off the power to the system. Now re-connect the RCAs between the DQDX and your amplifier(s).
- At this point you can adjust your amplifier gain control according to the specifications of your amplifier manufacturer.
Parallel Outputs
The DQDX has our unique Front to Sub circuit input that allows the Front input signal to feed the Subwoofer outputs, when no Subwoofer input is available. This allows your DQDX to accept front and rear inputs channels and give you Front, Rear, and Subwoofer output channels. Refer to the Under The Cover section on page 12 for more details.
Remote Level Control – ACR-3
The supplied ACR-3 is a multi-function remote that is used for making the initial signal delay adjustments in Set-Up mode. It provides Subwoofer level control in Nor- mal mode, and this allows you to balance the bass level with the rest of the system and increase or decrease as needed. Press the ACR-3 knob to bypass the signal processing of the DQDX (equalization and signal delay). You can hear the system with and without the processing, and easily judge the difference that tuning makes your system. Press the ACR-3 knob for 4 seconds to play pink noise instead of music, to help while setting up your system EQ.
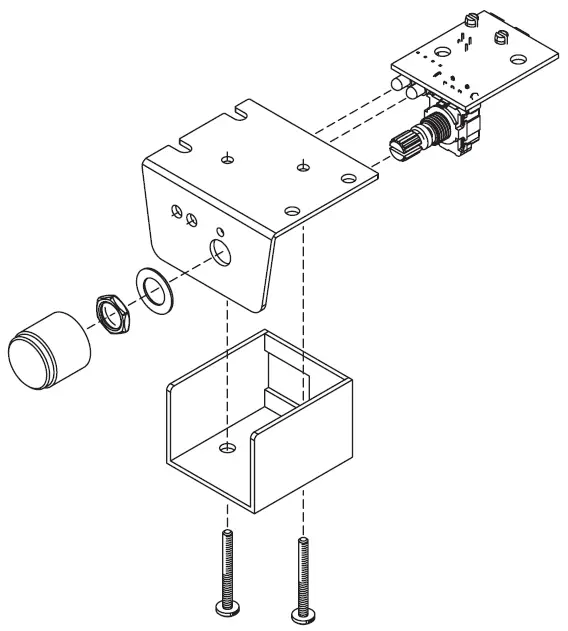
Placement and Mounting
The ACR-3 may be mounted under the dash using its own bracket or through a custom hole in the dash. It should be within reach of the driver and in a spot where the LEDs are plainly visible. Disconnect the vehicle battery +12V and Ground connections before installation. The dash control mounts with two screws, which attach to the underside of the dashboard. Slide under the dash and place the dash control in its mounting position, mark the two best mounting holes, carefully drill pilot holes without damaging any under-dash wiring, and secure with two screws.
ACR-3 Custom Installation
For that custom, finished look, the ACR-3 can be flush mounted directly on the dash-board (or anywhere else). 
Disassemble the ACR-3 from its mounting bracket. Drill a 9/32” (7 mm) hole in the dashboard for the control along with a 3/32” (2.3 mm) hole for the lock tab and 1/8” (3 mm) holes for the LEDs. Make sure that you do not drill though any wires or other components. Reassemble the dash control components on the dashboard.
Block Diagram of the DQDX
Feeling lost? Here’s an internal “roadmap” to help you out. This sim-plified block diagram is a map of the paths your signals take inside the DQDX. With this diagram you can follow each input through the proces-sor. If you do have an issue with the hook-up of your DQDX and need to call for technical assistance, please have this diagram available so we can help you trace the problem and get your system up and running and sounding as awesome as we know it can.
The WARRANTY
People are scared of warranties. Lots of fine print right? Well, fear no more, this warranty is designed to make you rave about us to your friends. It’s a warranty that looks out for you and helps you resist
the temptation to have your friend, “…who’s good with electronics”, attempt to repair your AudioControl product.
Go ahead and read this warranty, and then take a few days to enjoy your new DQDX before going on line to register your unit at
www.audiocontrolregistration.com.
We also look forward to your comments while you are registering your DQDX. “Conditional” doesn’t mean anything ominous. The Federal Trade Commission tells all manufacturers to use the term to indicate that certain conditions have to be met before they’ll honor the war-ranty. If you meet all of these conditions, we will warranty all materials and workmanship on the DQDX for one year from the date you bought it (five years if it is installed by an authorized United States AudioCon-trol dealer). We will fix or replace it, at our option, during that time. Here are the conditional conditions:
- You have to go to www.audiocontrol.com warranty and register your DQDX within 15 days after purchase.
- You must keep your sales receipt for proof of purchase showing when and from whom the unit was bought. We’re not the only ones who require this, so it’s a good habit to get into with any major purchase.
- Your DQDX must have originally been purchased from an autho-rized AudioControl dealer. You do not have to be the original owner, but you do need a copy of the original sales slip.
- You cannot let anybody who isn’t: (A) the AudioControl factory; (B) somebody authorized in writing by AudioControl to service your DQDX. If anyone other than (A) or (B) messes with your DQDX, that voids your warranty.
- The warranty is also void if the serial number is altered or removed, or if the DQDX has been used improperly. Now that may sound like a big loophole, but here is all we mean by it. Unwarranted abuse is: (A) physical damage (don’t use the DQDX for a car jack); (B) im-proper connections (120 volts into the power jack can fry the poor thing); (C) sadistic things. This is the best product we know how to build, but if you mount it to the front bumper of your car, some-thing will go wrong. If an authorized United States AudioControl dealer installs the DQDX, the warranty is five years. Assuming you conform to 1 through 5, and it really isn’t all that hard to do, we get the option of fixing your old unit or replacing it with a new one.
LEGALESE SECTION
This is the only warranty given by AudioControl. This warranty gives you specific legal rights that vary from state to state. Promises of how well the DQDX will perform are not implied by this warranty. Other than what we have covered in this warranty, we have no obligation, express or implied. Also, we will not be obligated for direct or indirect consequential damage to your system caused by hooking up the DQDX. Failure to register warranty information negates any service claims.
DQDX SPECIFICATIONS
All specifications are measured at 14.4 VDC (standard automotive voltage.) As technology advances, AudioControl reserves the right to continuously change our specifications, in our never-ceasing quest for audio righteousness.
- Maximum output level ……………………………………………………… 7.5 Vrms
- Output attenuation ……………………………………………………………+/-12 dB
- Frequency response …………………………………………………… 10 Hz-22 kHz
- Total harmonic distortion ……………………………………………………….0.01%
- Input Impedance ……………………………………………………………..20 Kohms
- Equalization Frequencies
- Front/Rear ………….. 125Hz, 175Hz, 250Hz, 500Hz, 1kHz, 2kHz, 8kHz
- Sub Output …………..31.5Hz, 40Hz, 50Hz, 63Hz, 80Hz, 100Hz, 125Hz
- Signal Delay
- Left /Right Max Delay ………………………………………………………10 ms
- Front/Sub Max Delay ……………………………………………………….35 ms
- Crossover Frequency ………………………………………………. 50 Hz to 500 Hz
- Crossover Slope ……………………………………..24dB /Octave Linkwitz-Riley
- PFM Frequency ………………………………………………………… 20 Hz or 30 Hz
- Output Impedance ………………………………………………………… 150 Ohms
- Power supply ……………………………………High headroom PWM switching
- Power draw ………………………………………………………………………. 350 mA
- Recommended fuse rating ………………………………………………….. 2 Amps
- Remote trigger max output current ………………………………………. 1 Amp
- Size ………………………………………………………….. 9.25”W x 5.75”D x 1.25”
- Weight ………………………………………………………………………………….. 3 lbs
AudioControl, Making Good Sound Great and DQDX are all trademarks of AudioControl Inc. This manual was conceived, designed, and written on a cold and windy day in the Pacific Northwest which is what the locals from Seattle call “spring.”
Performance Digital Signal Sound Processor with Equalization, Crossover and Signal Delay
Key Features of the DQDX
- Six input and output channels with level controls
- Independent Front, Rear, and Subwoofer equalization
- 24dB / Octave Linkwitz-Riley selectable crossover
- High voltage Line Driver
- Signal Delay to put the speakers in acoustical alignment
Signal Delay
Because of speaker placement limitations and the seating positions in a car, it is almost always the case that the driver of the vehicle is in an incorrect acoustic alignment. This exists because the sound from the left side arrives at the driver of the vehicle much sooner than the sound from the right side. By delaying the appropriate speakers for just a few milliseconds, the AudioControl DQDX is able to allow the signals from each speaker to arrive at the same time thus putting the driver in perfect acoustical alignment.
Equalization for Maximum Control and Performance
Like all of AudioControl’s high performance signal processors, the DQDX is designed specifically to offer maximum audio performance and control. All 6 output channels are equipped with seven highly accurate graphic equalization filters. This equalization allows for the taming of even the most demanding car acoustical challenges.
24 dB / octave Linkwitz-Riley crossover
The AudioControl DQDX uses a 24 dB / octave Linkwitz-Riley alignment crossover to separate the bass frequencies from the midrange and high frequencies. The crossover in the DQDX gives you a flat response without any peak or dip around the crossover frequency. In addition, the 24dB crossover makes the transition without the phase irregularities you get in most other configurations. Our crossover selector is exact so it completely eliminates the guess work during the installation.
High Voltage Line Driver
Our high voltage, low impedance outputs make a huge difference in how your system’s amplifiers will perform. First, our high voltage pre-out means your amplifier can reach full power without having to turn up the amplifier‘s input gain controls. This means you get more volume with less noise and less distortion. At AudioControl we are all about ‘Making Good Sound Great’ and with the built in Line Driver in the DQDX you will be sending the best possible quality signal into your amplifiers.
System Diagrams
System #1 – Basic DQDX installation using 4 channel input and 6 channel output
System #2 – Typical DQDX installation
System #3 – Using a DQDX and The Epicenter from AudioControl to achieve maximum sound quality and bass
Performance Signal Processor
Why do you need Signal Delay (or an Equalizer for that matter)
Putting the driver in perfect acoustical alignment definitely has its challenges in a vehicle. In home audio it is generally easy to just move a speaker forward or backward or to the left or to the right to help make sure you hear both speakers at the same time. In a vehicle, we are typically stuck with the speaker locations that the vehicle manufacturers has supplied us with. This usually created a whole slew of issues when you add amplifier power, new speakers, and subwoofers. Which is why signal delay and equalization are so critical. Equalization helps match all your new components together so they sound great and signal delay helps all that great sound arrive at you, the driver at the same time.
DQDX BLOCK DIAGRAM
DQDX SPECIFICATIONS
All specifications are measured at 14.4 VDC (standard automotive voltage). As technology advances, AudioControl reserves the right to continuously change our specifications, like our Pacific Northwest weather, although we are working on changing that as well.
- Maximum output level. 7.5Vrms
- Output gain. +/-12 dB
- Frequency response. 10Hz-22kHz
- Total harmonic distortion . 0.01%
- Input Impedance . 20 Kohms
- Equalization Frequencies
- Front/Rear. 125Hz, 175Hz, 250Hz, 500Hz, 1kHz, 2kHz, 8kHz
- Sub Output. 31.Hz, 40Hz, 50Hz, 63Hz, 80Hz, 100Hz, 125Hz
- Signal Delay
- Left/Right Max Delay . 10ms
- Front/Sub Max Delay . 35ms
- Crossover . 50-500 selectable on/off
- Output Impedance. 150 Ohms
- Power supply. High headroom PWM switching
- Power draw. 350mA
- Recommended fuse rating . 2 Amps
- Remote trigger max output current . 1 Amp
- Size. . . . . . . . . . . . . . . . . . . . . . . . . . . . . . . . . . . . . . . . . . . . 9.25”L x 5.75”W x 1.25H”
- Weight . 3 lbs
22410 70th Avenue West
Mountlake Terrace, WA 98043 USA
Phone 425-775-8461
Fax 425-778-3166
www.audiocontrol.com




























