UD 16
UD 30![]()
1


Original operating instructions
Information about the documentation
1.1 About this documentation
- Read this documentation before initial operation or use. This is a prerequisite for safe, trouble-free handling and use of the product.
- Observe the safety instructions and warnings in this documentation and on the product.
- Always keep the operating instructions with the product and make sure that the operating instructions are with the product when it is given to other persons.
1.2 Explanation of symbols used
1.2.1 Warnings
Warnings alert persons to hazards that occur when handling or using the product. The following signal words are used:
DANGER
DANGER!
- Draws attention to imminent danger that will lead to serious personal injury or fatality.
WARNING
WARNING!
- Draws attention to a potential threat of danger that can lead to serious injury or fatality.
CAUTION
CAUTION!
Draws attention to a potentially dangerous situation that could lead to personal injury or damage to the equipment or other property.
1.2.2 Symbols in the operating instructions
The following symbols are used in these operating instructions:
| Comply with the operating instructions | |
| Instructions for use and other useful information | |
| Dealing with recyclable materials | |
| Do not dispose of electric equipment and batteries as household waste |
1.2.3 Symbols in illustrations
The following symbols are used in illustrations:
| 2 | These numbers refer to the illustrations at the beginning of these operating instructions. |
| 3 | The numbering reflects the sequence of operations shown in the illustrations and may deviate from the steps described in the text. |
| 11 | Item reference numbers are used in the overview illustration and refer to the numbers used in the key in the product overview section. |
| These characters are intended to specifically draw your attention to certain points when handling the product. |
1.3 Product-dependent symbols
1.3.1 Symbols on the product
The following symbols are used on the product:
| 1 | Drilling, 1st gear |
| 2 | Drilling, 2nd gear |
| → | Forward/reverse |
| /min | Revolutions per minute |
| Wear eye protection | |
| Wear ear protection |
| Wear protective gloves | |
| Wear light respiratory protection | |
| Protection class II (double-insulated) |
1.4 Product information
products are designed for professional users and only trained, authorized personnel are permitted to operate, service, and maintain the products. This personnel must be specifically informed about the possible hazards. The product and its ancillary equipment can present hazards if used incorrectly by untrained personnel or if used not in accordance with the intended use. The type designation and serial number are printed on the rating plate.
▶ Write down the serial number in the table below. You will be required to state the product details when contacting Hilti Service or your local Hilti organization to inquire about the product.
Product information
| Drill | UD 16 | UD 30 |
| Generation: | 1 |
| Serial number: | |
1.5 Declaration of conformity
The manufacturer declares, on his sole responsibility, that the product described here complies with the applicable legislation and standards. A copy of the declaration of conformity can be found at the end of this documentation.
The technical documentation is filed here:
Hilti Entwicklungsgesellschaft mbH | Tool Certification | Hiltistrasse 6 | D-86916 Kaufering, Germany
Safety
2.1 General power tool safety warnings
WARNING Read all safety warnings, instructions, illustrations, and specifications provided with this power tool. Failure to follow all instructions listed below may result in electric shock, fire, and/or serious injury.
Save all warnings and instructions for future reference.
The term “power tool” in the warnings refers to your mains-operated (corded) power tool or battery-operated (cordless) power tool.
Work area safety
- Keep the work area clean and well-lit. Cluttered or dark areas invite accidents.
- Do not operate power tools in explosive atmospheres, such as in the presence of flammable liquids, gases, or dust. Power tools create sparks that may ignite dust or fumes.
- Keep children and bystanders away while operating a power tool. Distractions can cause you to lose control.
Electrical safety
- Power tool plugs must match the outlet. Never modify the plug in any way. Do not use any adapter plugs with earthed (grounded) power tools. Unmodified plugs and matching outlets will reduce the risk of electric shock.
- Avoid body contact with earthed or grounded surfaces, such as pipes, radiators, ranges, and refrigerators. There is an increased risk of electric shock if your body is earthed or grounded.
- Do not expose power tools to rain or wet conditions. Water entering a power tool will increase the risk of electric shock.
- Do not abuse the cord. Never use the cord for carrying, pulling, or unplugging the power tool. Keep cord away from heat, oil, sharp edges, or moving parts. Damaged or entangled cords increase the risk of electric shock.
- When operating a power tool outdoors, use an extension cord suitable for outdoor use. Use of a cord suitable for outdoor use reduces the risk of electric shock.
- If operating a power tool in a damp location is unavoidable, use a residual current device (RCD) protected supply. Use of an RCD reduces the risk of electric shock.
Personal safety
- Stay alert, watch what you are doing, and use common sense when operating a power tool. Do not use a power tool while you are tired or under the influence of drugs, alcohol, or medication. A moment of inattention while operating power tools may result in serious personal injury.
- Use personal protective equipment. Always wear eye protection. Protective equipment such as a dust mask, non-skid safety shoes, hard hat, or hearing protection used for appropriate conditions will reduce personal injuries.
- Prevent unintentional starting. Ensure the switch is in the off-position before connecting to a power source and/or battery pack, picking up or carrying the tool. Carrying power tools with your finger on the switch or energizing power tools that have the switch on invites accidents.
- Remove any adjusting key or wrench before turning the power tool on. A wrench or a key left attached to a rotating part of the power tool may result in personal injury.
- Do not overreach. Keep proper footing and balance at all times. This enables better control of the power tool in unexpected situations.
- Dress properly. Do not wear loose clothing or jewelry. Keep your hair and clothing away from moving parts. Loose clothes, jewelry, or long hair can be caught in moving parts.
- If devices are provided for the connection of dust extraction and collection facilities, ensure these are connected and properly used. The use of dust collection can reduce dust-related hazards.
- Do not let familiarity gained from frequent use of tools allow you to become complacent and ignore tool safety principles. A careless action can cause severe injury within a fraction of a second.
Power tool use and care
- Do not force the power tool. Use the correct power tool for your application. The correct power tool will do the job better and safer at the rate at which it was designed.
- Do not use the power tool if the switch does not turn it on and off. Any power tool that cannot be controlled with the switch is dangerous and must be repaired.
- Disconnect the plug from the power source and/or remove the battery pack, if detachable, from the power tool before making any adjustments, changing accessories, or storing power tools. Such preventive safety measures reduce the risk of starting the power tool accidentally. Store idle power tools out of the reach of children and do not allow persons unfamiliar with the power tool or these instructions to operate the power tool. Power tools are dangerous in the hands of untrained users.
- Maintain power tools and accessories. Check for misalignment or binding of moving parts, breakage of parts, and any other condition that may affect the power tool’s operation. If damaged, have the power tool repaired before use. Many accidents are caused by poorly maintained power tools.
- Keep cutting tools sharp and clean. Properly maintained cutting tools with sharp cutting edges are less likely to bind and are easier to control.
- Use the power tool, accessories and tool bits, etc. in accordance with these instructions, taking into account the working conditions and the work to be performed. Use of the power tool for operations different from those intended could result in a hazardous situation.
- Keep handles and grasping surfaces dry, clean, and free from oil and grease. Slippery handles and grasping surfaces do not allow for safe handling and control of the tool in unexpected situations.
Service
- Have your power tool serviced by a qualified repair person using only identical replacement parts. This will ensure that the safety of the power tool is maintained.
2.2 Drill safety warnings
Safety instructions for all operations
- Wear ear protectors when impact drilling. Exposure to noise can cause hearing loss.
- Use the auxiliary handle(s). Loss of control can cause personal injury.
- Hold the power tool by insulated gripping surfaces, when performing an operation where the cutting accessory or fasteners may contact hidden wiring or its own cord. Cutting accessories or fasteners contacting a “live” wire may make exposed metal parts of the power tool “live” and could give the operator an electric shock.
Safety instructions when using long drill bits
- Never operate at a higher speed than the maximum speed rating of the drill bit. At higher speeds, the bit is likely to bend if allowed to rotate freely without contacting the workpiece, resulting in personal injury.
- Always start drilling at low speed and with the bit tip in contact with the workpiece. At higher speeds, the bit is likely to bend if allowed to rotate freely without contacting the workpiece, resulting in personal injury.
- Apply pressure only in direct line with the bit and do not apply excessive pressure. Bits can bend causing breakage or loss of control, resulting in personal injury.
Safety instructions for using mixing paddles or stirrers
- Switch the power tool on or off only when the mixing paddle is immersed in the material for mixing. Failure to do so can cause a loss of control with a resultant risk of injury.
2.3 Additional safety instructions
Personal safety
- Use the tool only when it is in technically faultless condition.
- Never tamper with or modify the power tool in any way.
- Always hold the power tool with both hands on the grips provided. Keep the grips dry, clean, and free from oil and grease.
- Always lead the supply cord and extension cord away from the power tool to the rear while working. This helps to avoid tripping over the cord while working.
- Use a dust extractor, respiratory protection, and protective goggles. Dust produced by sanding can damage the lungs and the eyes.
- Improve the blood circulation in your fingers by relaxing your hands and exercising your fingers during breaks between working.
- Dust from materials, such as paint containing lead, some wood species, concrete/masonry/stone containing silica, and minerals as well as metal, may be harmful. Contact with or inhalation of the dust may cause allergic reactions and/or respiratory or other diseases to the operator or bystanders. Certain kinds of dust are classified as carcinogenic such as oak and beech dust, especially in conjunction with additives for wood conditioning (chromate, wood preservative). Material containing asbestos may be
handled only by specialists. Use a dust removal system whenever possible. To achieve a high level of dust collection, use a suitable vacuum cleaner. When indicated, wear a respirator appropriate for the type of dust generated. Ensure that the workplace is well ventilated. Follow national requirements for the materials you want to work with. - The tool is not intended for use by debilitated persons who have received no special training. Keep the tool out of reach of children.
- Children are not permitted to play with the machine and must be instructed accordingly.
Electrical safety
- Check the machine’s supply cord at regular intervals and have it replaced by a qualified specialist if found to be damaged. If the machine’s supply cord is damaged it must be replaced with a specially prepared and approved supply cord available from Hilti Customer Service. Check extension cords at regular intervals and replace them if found to be damaged. Do not touch the supply cord or extension cord if it is damaged while working. Disconnect the supply cord plug from the power outlet. Damaged supply cords or extension cords present a risk of electric shock.
- Switch the electric tool off and unplug the supply cord in the event of an interruption in the electric supply in order to avoid inadvertent restarting when the power returns.
- Have dirtied or dusty power tools that are used frequently for working on conductive materials checked at regular intervals by a Hilti Service Center. Dust, especially dust from conductive materials, or dampness on the surface of the power tool can, under unfavorable conditions, lead to electric shock.
Power tool use and care
Secure the workpiece. A workpiece clamped in a vice or secured by some other clamping devices is more secure than when held only by hand.
Wear protective gloves when changing accessory tools as they get hot during use.
Description
3.1 Product overview 1

- Keyless or keyed chuck
- Side handle
- Sleeve (only UD 16)
- Depth gauge
- Locking screw for depth gauge
- Function selector switch
- Forward/reverse switch
- Control switch with electronic speed control
- Lockbutton for continuous operation
- Supply cord
3.2 Intended use
The product is a hand-held, electrically operated drill. It is suitable for drilling in wood and metal, for screwing and, under certain conditions, for stirring.
3.3 Possible misuse
- This product is not suitable for working on hazardous materials.
- This product is not suitable for working in a damp environment.
3.4 Items supplied
Drill, side handle, depth gauge, chuck key, operating instructions.
Other system products approved for use with this product can be found at your local Hilti Store or at: www.hilti.group
Technical data
For details of the rated voltage, current, frequency and/or input power, please refer to the power tool’s country-specific type identification plate.
When powered by a generator or transformer, the generator or transformer’s power output must be at least twice the rated input power shown on the rating plate of the power tool. The operating voltage of the transformer or generator must always be within +5% and -15% of the rated voltage of the power tool.
| UD 16 | UD 30 | |
| Weight in accordance with EPTA procedure 01 | 2.6 kg | 2.5 kg |
| Speed in 1st gear | 900 /min (15.0 Hz) | 1,200 /min (20.0 Hz) |
| Speed in 2nd gear | 2,500 /min (41.7 Hz) | 3,300 /min (55.0 Hz) |
| Maximum torque, 1st gear | 80 Nm (59 ftlbf) | 51 Nm (38 ftlbf) |
| Maximum torque, 2nd gear | 29 Nm (21 ftlbf) | 18.5 Nm (13.6 ftlb,) |
| Diameter, chuck | 2 mm … 13 mm | 2 mm … 13 mm |
4.1 Noise information and vibration values in accordance with EN 62841
The sound pressure and vibration values given in these instructions were measured in accordance with a standardized test and can be used to compare one power tool with another. They can also be used for a preliminary assessment of exposure.
The data given represent the main applications of the power tool. However, if the power tool is used for different applications, with different accessory tools, or is poorly maintained, the data can vary. This can significantly increase exposure over the total working period.
An accurate estimation of exposure should also take into account the times when the tool is switched off, or when it is running but not actually being used for a job. This can significantly reduce exposure over the total working period.
Identify additional safety measures to protect the operator from the effects of noise and/or vibration, for example: maintaining the power tool and accessory tools, keeping the hands warm, and organization of work patterns.
Noise emission values
| UD 16 | UD 30 | |
| Sound power level (L WA) | 97 dB(A) | 97 dB(A) |
| Uncertainty (KwA) | 3 dB(A) | 3 dB(A) |
| Sound pressure level (L pA) | 86 dB(A) | 86 dB(A) |
| Uncertainty (Ka,) | 3 dB(A) | 3 dB(A) |
Total vibration
| UD 16 | UD 30 | |
| Screwdriving without hammer action (a,) | < 2.5 m/s2 | < 2.5 m/s2 |
| Drilling in Metal (ati. D) | 2.5 m/s2 | 3.5 m/s2 |
| Uncertainty (K) | 1.5 m/s2 | 1.5 m/s2 |
Operation
5.1 Preparations at the workplace
CAUTION
Risk of injury! Inadvertent starting of the product.
▶ Unplug the supply cord before making adjustments to the power tool or before changing accessories.
Observe the safety instructions and warnings in this documentation and on the product.
5.1.1 Fitting and adjusting the side handle 2
- Release the side handle clamping band by turning the handle grip.
With the UD 16, it is essential to ensure that the sleeve is fitted in the grip of the side handle. - Slide the side handle clamping band over the chuck from the front and into the recess provided.
- Set the side handle to the desired position in accordance with the detents.
Make sure that the ribs of the clamping band are snug in the grooves on the gearing section.
If the side handle slips because the drill bit stalls, check the positive lock/ribs on the gearing section. Have damaged parts replaced. Otherwise, the side handle will no longer be able to transfer the torques generated by the tool. - Tighten the side handle clamping band by turning the handle grip.
5.1.2 Fitting and adjusting the depth gauge 3
- Release the locking screw.
- Slip the depth gauge into the opening provided for the purpose.
- Adjust the depth gauge to the desired drilling depth.
- Tighten the locking screw for the depth gauge.
5.1.3 Removing quick-release chuck 4
- Engage the 17 mm open-ended wrench on the flats of the drive spindle.
- Engage a 19 mm open-ended wrench on the hexagon of the quick-release chuck.
- Turn the hexagon counter-clockwise with the 19 mm open-ended wrench.
▶ The quick-release chuck is unscrewed from the drive spindle.
5.1.4 Installing quick-release chuck
- Screw the quick-release chuck onto the drive spindle as far as it will go by hand.
- Engage the 17 mm open-ended wrench on the flats of the drive spindle.
- Engage a 19 mm open-ended wrench on the hexagon of the quick-release chuck.
▶ Tighten it to the specified tightening torque of 120 Nm.
5.1.5 Dismantle sprocket chuck 5
- Insert the hexagonal steel into the sprocket chuck.
- Clamp the hexagonal steel using the drill chuck key.
- Place the fork spanner SW 17 on the intended spanner flat of the unit spindle.
- Place a suitable key on the hexagonal steel.
- Turn counterclockwise with the fork wrench SW 19.
▶ The gear rim drill chuck is unscrewed from the tool spindle.
5.1.6 Installing keyed chuck
- Insert the hexagonal steel rod into the keyed chuck.
- Use the chuck key to secure the hexagonal steel rod in the chuck.
- Screw the keyed chuck onto the drive spindle as far as it will go by hand.
- Engage the 17 mm open-ended wrench on the flats of the drive spindle.
- Engage the hexagonal steel rod with a suitable wrench.
- Tighten it to the specified tightening torque of 120 Nm.
5.1.7 Inserting accessory tool into quick-release chuck 6
- Turn the locking sleeve of the quick-release chuck counter-clockwise.
First, the lock is automatically released. - Continue turning the sleeve until the accessory tool disengages.
5.1.8 Removing accessory tool from quick-release chuck 7
- Open the quick-release chuck until you can insert the shank of the accessory tool.
- Clamp the accessory tool by turning the sleeve clockwise until the quick-release chuck automatically engages.
Engagement is clearly audible as a series of clicks.
5.1.9 Inserting accessory tool into keyed chuck 8
- Open the quick-release chuck until you can insert the shank of the accessory tool.
- Insert the accessory tool.
- Close the keyed chuck by turning the gear ring.
- Insert the chuck key into one of the three holes in the keyed chuck.
- Secure the accessory tool by turning the chuck key clockwise.
- Remove the chuck key.
5.1.10 Removing accessory tool from keyed chuck 9
- Insert the chuck key into one of the three holes in the keyed chuck.
- Turn the chuck key counter-clockwise to open the chuck.
- Remove the accessory tool.
- Remove the chuck key.
5.2 Types of work
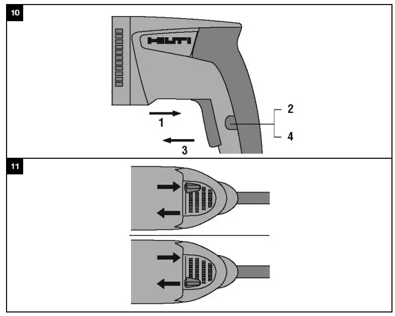
5.2.1 Activating / deactivating continuous operation 10
The drill can be set to continuous operation by pressing the lock button. It is then no longer necessary to keep the control switch pressed down.
- Press the control switch and hold it in this position.
- Press and hold down the lock button.
- Release the control switch.
- Release the lock button.
- To switch off when in sustained operating mode, press the control switch again and then release it.
5.2.2 Setting forward or reverse rotation 11
Do not operate the forward/reverse switch while the motor is running.Risk of damage!
▶ Set the forward/reverse switch to the desired direction of rotation.
5.2.3 Drilling, 1st and 2nd gears
▶ Set the function selector switch to the “Drilling in first gear” or “Drilling in second gear” position.
It might be necessary to turn the spindle slightly.
5.2.4 Mixing
▶ Set the function selector switch to the “Drilling in first gear” position.
It might be necessary to turn the spindle slightly.
5.2.5 Screwdriving
- Set the forward/reverse switch to the desired direction of rotation.
- Set the function selector switch to the “Drilling in first gear” or “Drilling in second gear” position.
It might be necessary to turn the spindle slightly.
Care and maintenance
WARNING
Electric shock hazard! Attempting care and maintenance with the supply cord connected to a power outlet can lead to severe injury and burns.
▶ Always unplug the supply cord before carrying out care and maintenance tasks.
Care
- Carefully remove stubborn dirt from the tool.
- Clean the air vents carefully with a dry brush.
- Use only a slightly damp cloth to clean the casing. Do not use cleaning agents containing silicone as they can attack the plastic parts.
Maintenance
WARNING
Danger of electric shock! Improper repairs to electrical components may lead to serious injuries including burns.
▶ Repairs to the electrical section of the tool or appliance may be carried out only by trained electrical specialists.
- Check all visible parts and controls for signs of damage at regular intervals and make sure that they all function correctly.
- Do not operate the product if signs of damage are found or if parts malfunction. Has it been repaired immediately by Hilti Service?
- After cleaning and maintenance, fit all guards or protective devices and check that they function correctly.
To help ensure safe and reliable operation, use only genuine Hilti spare parts and consumables. Spare parts, consumables, and accessories approved by Hilti for use with the product can be found at your local Hilti Store or online at: www.hilti.group.
Transport and storage
Transport
- Do not transport this product with an accessory tool installed.
- Make sure that the equipment is held securely throughout all transport operations.
- After transporting, always check all visible parts and controls for signs of damage and make sure that they all function correctly.
Storage
- Always store this product with the electric supply cable unplugged from the electricity supply.
- Store this product in a dry place, where it cannot be accessed by children or unauthorized persons.
- After a long period of storage, always check all visible parts and controls for signs of damage and make sure that they all function correctly.
Troubleshooting
If the trouble you are experiencing is not listed in this table or you are unable to remedy the problem by yourself, please contact Hilti Service.
8.1 Troubleshooting
| Trouble or fault | Possible cause | Action to be taken |
| Power tool does not start. | Interruption in the electricity supply | ►Plug in another electric tool or appliance and check whether it works. |
| The supply cord or plug is defective. | ►Have the parts checked by a trained electrical specialist and replaced if necessary. | |
| Electronic fault | ►Have the parts checked by a trained electrical specialist and replaced if necessary. | |
| The power tool does not de- develop full power. | The gauge (cross-section) of the extension cord conductors is inadequate. | ►Use an extension cord with an adequate conductor cross-section. |
| The control switch is not fully pressed. | ►Press the control switch as far as it will go. |
| Trouble or fault | Possible cause | Action to be taken |
| The drill bit makes no progress. | The tool has been set to reverse rotation. | ►Set the tool to forward rotation. |
| Drill bit blunt or damaged. | ►Sharpen the drill bit or replace it. | |
| Drill bit does not rotate. | Chuck is not tightened securely. | ►Tighten the chuck. |
Disposal
Most of the materials from which Hilti tools and appliances are manufactured can be recycled. The materials must be correctly separated before they can be recycled. In many countries, your old tools, machines, or appliances can be returned to Hilti for recycling. Ask Hilti Service or your Hilti representative for further information.
▶ Do not dispose of power tools, electronic equipment or batteries as household waste!
Manufacturer’s warranty
▶ Please contact your local Hilti representative if you have questions about the warranty conditions.
EC Declaration of Conformity I UK Declaration of Conformity
UD 16 (01)1 UD 30 (01)
Manufacturer.
Hilti Corporation
Feldkircherstral3e 100
9494 Schaan I Liechtenstein
UK Importer:
Hilti (Gt. Britain) Limited
1 Trafford Wharf Road, Old Trafford
Manchester, M17 1BY
Serial Numbers: 1-99999999999
2006/42/EC I Supply of Machinery (Safety) Regulations 2008 2014/30/EU I Electromagnetic Compatibility Regulations 2016 2011/65/EU I The Restriction of the Use of Certain Hazardous Substances in Electrical and Electronic Equipment Regulations 2012
EN 62841-1:2015 EN 55014-1:2017 + A11:2020
EN 62841-2-1:2018 + A11:2019 EN 55014-2:2015

Hilti Corporation
LI-9494 Schaan
Tel.:+423 234 21 11
Fax:+423 234 29 65
www.hilti.group
https://hilti.to/ontrackapp
Hilti = registered trademark of Hilti Corp., Schaan
Pos. 8 | 20220329



















