ETTA AVENUE W004388594 Clive 26 Inch Wide Velvet Side Chair Instruction Manual

HARDWARE LIST

Be sure to check all packing material carefully for small parts, which may have come loose inside the carton during shipment.
ASSEMBLY INSTRUCTIONS

STEP 1: Place seat B on clean padded surface. Open the zipper pocket under seat and take legs C and hardware pack out.

STEP 2: Align hole position on seat cushion B and back A, use bolt D, flat washer F, spring washer G, allen wrench H to connect seat and back, make sure bottom edge of back align with rear bottom edge of seat then fasten all bolts to secure.

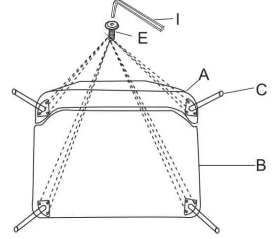
STEP 3 : Use bolt E , allen key I to attach legs C to bottom of the seat, fasten all bolts to secure.

Adjust levelers under legs to set the seat level.
STEP 4 :Assembly completed.

NOTE:
This brochure contains IMPORTANT safety info. Please read and keep for future reference.
MAINTENANCE AND WARNING
- Keep furniture away from heat.
- Do not clean furniture with harsh cleansers or polish. Do not use detergents, Solvents, abrasives, spray packs or leather cleaner. Use non-color mild soap with warm water clean spills(Mix 1:10 soap to water)
- Do not place furniture under direct sunlight, material will possibly fade over time.
- Do not use on site dry Cleaning machine.
- Children should not climb or jump on the furniture.
- Do not write on furniture without a padded barrier to protect the surface.
- Not for commercial use, For residential use only.
PARTS LIST

Weight Limitation
220LBS
Estimated Duration Of Assembly
5-10 MINUTES
Read More About This Manual & Download PDF:



















