PHILIPS SCF358 Avent Fast Fast Bottle Warmer

Important
Read this user manual carefully before you use the appliance and save it for future reference.
Danger
Do not immerse the cord, plug or appliance in water or other liquid.
Warning
- Only use the appliance indoors.
- Do not let the power cord hang over the edge of a table or worktop. Store excess cord in the base of the bottle warmer.
- Keep the power cord away from hot surfaces.
- Only connect the appliance to a grounded wall socket. Always make sure that the plug is inserted into the wall socket properly.
- Before you connect the appliance, check that the voltage indicated on the bottom of the appliance corresponds to the local voltage.
- If you need to use an extension cord, make sure it is a grounded extension cord with a rating of at least 13 amperes.
- Do not use the appliance if the plug, the power cord or the appliance itself is damaged. If the power cord is damaged, you must have it replaced by Philips, a Philips authorized service center or similarly qualified persons in order to avoid a hazard.
- Do not place the appliance on or near a hot gas or electric cooker, or in a heated oven.
- This appliance can be used by persons with reduced physical, sensory or mental capabilities or lack of experience and knowledge if they have been given supervision or instruction concerning use of the appliance in a safe way and understand the hazards involved.
- This appliance can be used by children aged from 8 years and above if they have been given supervision or instruction concerning use of the appliance in a safe way and if they understand the hazards involved. Cleaning and user maintenance shall not be made by children unless they are older than 8 and supervised. Keep the appliance and its cord out of reach of children aged less than 8 years.
- Children must not play with the appliance.
- Do not spill water on the power plug.
- Only use the appliance as described in the user manual to avoid injury due to misuse.
- Do not preheat the appliance.
- Always place a fully assembled bottle with cap in the bottle warmer before you add water.
- Make sure you add water before you switch on the bottle warmer.
- Hot water can cause serious burns. Be careful when the bottle warmer contains hot water.
- The accessible surfaces of the appliance may become hot during use and are subject to residual heat after use.
- Do not move the appliance when it contains hot water.
- When the food or milk has reached the required temperature, remove the bottle or container from the bottle warmer. If you leave food or milk in the bottle warmer, the temperature of the food or milk increases.
Caution - This appliance is intended for use in household and similar applications such as farmhouses, bed and breakfast accommodations, staff kitchen areas in stores, offices and other work environments, and by guests in hotels, motels and other residential type environments.
- The food should not be heated for too long.
- Always check the food temperature before you feed your child. Gently swirl the bottle and check by sprinkling a few drops on the inside of your wrist. (Follow the instructions in section ‘‘Feed your baby the milk’’.)
- Unplug the appliance when it is not in use.
- The surface of the heating element is subject to residual heat after use.
- Let the appliance cool down before you clean it.
- Follow the descaling instructions to avoid irreparable damage.
- Do not try to open or repair the appliance yourself. Contact the Philips Consumer Care Centre in your country (see www.philips.com/support).
- The production date code YYWW is located in the cord storage compartment in the base of the bottle warmer.
Electromagnetic fields (EMF) - This Philips appliance complies with all applicable standards and regulations regarding exposure to electromagnetic fields.
Introduction
Congratulations on your purchase and welcome to Philips Avent! To fully benefit from the support that Philips Avent offers, register your product at www.philips.com/welcome. With this bottle warmer, you can safely warm and defrost milk in Philips Avent and other most common branded feeding bottles and baby food in containers.
This bottle warmer is designed to warm milk in a gentle way. Therefore, the water in the bottle warmer will never reach boiling temperatures. Each of the heating settings is programmed to warm different milk volumes. For better performance, make sure:
- Place bottle in the bottle warmer.
- Fill with fresh room temperature water to the level of the milk
- Select the milk volume and press the on/off button.
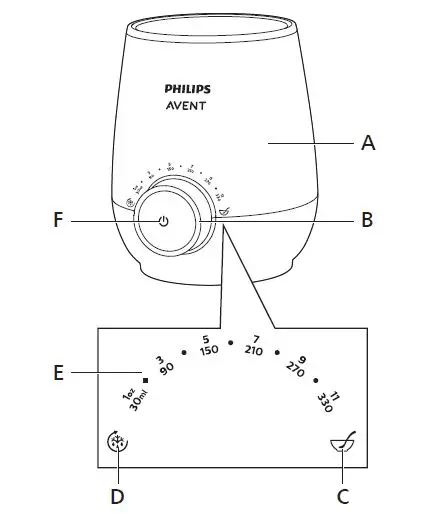
General description
Product overview 
| A | Bottle warmer | D | Keep warm/defrost setting |
| B | Progress indicator | E | Milk volume setting |
| C | Baby food warming setting | F | On/off button |
Explanation of settings
- Select this setting to warm milk of room temperature or fridge temperature.
- Select the milk volume you warm. You can set from 30 ml / 1 oz up to 330 ml / 11 oz.
The bottle warmer warms the milk to the desired temperature. Milk is ready for feeding when the entire progress indicator lights up. If you want the milk warmer, keep the bottle in the appliance until it reaches the desired temperature. Take out the bottle and check the temperature of the milk before you feed your baby. You can also keep the bottle warm in the appliance and it will switch off automatically after about 60 minutes.
- Check the milk temperature by sprinkling a few drops on the inside of your wrist. The milk may feel cool to you, but it will be very pleasant for
a newborn baby. Research suggests that most babies will accept milk that is cooler than body temperature. - Select this setting to warm baby food.
- For optimal results, stir baby food during warming.

- The built-in sensor adjusts the heating pattern for keep warm or defrost.
- If the milk/ baby food is warm, it will be warmed gradually and kept at the right temperature.
- If the milk is frozen, it will be defrosted to a liquid state and then warmed to the right temperature. You can defrost the milk from 30 ml/ 1 oz up to 180 ml/ 6 oz.

- If the baby food is frozen, it will be defrosted. After that, switch off the bottle warmer and turn to baby food setting to warm up the baby food.
- Select this setting to warm milk bag. The material of the milk bag transfers heat very fast.
When the entire progress indicator is on but not flashing, the milk is ready for feeding. Feed your baby when the milk is warmed. Do not rewarm the milk after it has cooled down, as bacteria may start to develop in it.
For baby food, due to variations in baby food consistency, it is not possible for the appliance to detect precisely how long the baby food should be warmed. When the entire progress indicator is on but not flashing, keep the baby food in the appliance for further warming. Stir the baby food while the jar or container is in the bottle warmer. For optimal result, check its temperature while it is warming.
Warm milk
- Place the bottle in the bottle warmer. Fill with drinking water to the level of the milk. If you have a large volume of milk, e.g. 210 ml/ 7 oz, fill with water to approximately 1 cm below the top of the bottle warmer.

- Select the desired setting based on the milk volume and press the on / off button to switch on.

- The progress indicator flashes gradually to show the progress of milk warming.

- When the entire progress indicator lights up continuously, the milk is ready for feeding and the bottle warmer automatically switches to keep warm mode.
- The bottle warmer switches off automatically after about 60 minutes, including warming time. The progress indicator turns off.

Tip
- If you want the milk warmer, keep the bottle in the appliance until it reaches the desired temperature after the entire progress indicator lights up.
- If you are using a silicone bottle, it takes longer time to warm milk. Keep it in the bottle warmer for 3-4 minutes after the entire progress indicator lights up.
Recommended setting for different containers
| Container | Recommended Setting |
| Plastic | Milk volume setting |
| Glass | Milk volume setting |
| Silicone | Milk volume setting + 3-4 minutes |
| Milk bag | Keep warm/ Defrost setting |
Note
- The time to warm milk depends on the volume, initial temperature of milk and water and milk bottle type.
- If you want to change the setting, after turning on the bottle warmer, you should switch off the bottle warmer first. Change the setting and switch it back on. Changing the setting while the bottle warmer is already turned on for 20 seconds or more, it will switch to keep warm mode automatically.
Feed your baby the milk
Press the on/off button to switch off the appliance and take out the milk bottle. 
Note
- If you are using a small milk bottle, such as a 60 ml/ 2 oz milk bottle, be careful of the hot water when you take out the bottle.
- Always check the temperature of the milk before you feed your baby. Gently swirl the bottle and check by sprinkling a few drops on the inside of your wrist.

- After each use, unplug the bottle warmer and let it cool down. Remove the water from the bottle warmer for hygienic reasons.

Reuse the bottle warmer right away for another bottle
If you want to warm another bottle, let the bottle warmer cool down. To speed up, refill the bottle warmer with fresh cold water.
When you switch on the bottle warmer, the progress indicator flashes gradually to indicate that the appliance is warming again.
Note
- If the progress indicator is on but not flashing, the bottle warmer is still too hot to warm another bottle. Switch off the bottle warmer and let it cool down.
Warm milk bag
Check the instructions of your milk bag and make sure it can be warmed in a bottle warmer.
- Place the milk bag in the bottle warmer. Fill with drinking water to the level of the milk. If you have a large volume of milk, fill with water to approximately 1 cm below the top of the bottle warmer.

- Select the keep warm/ defrost setting and press the on/ off button to switch on. The material of the milk bag transfers heat very fast so it is best to use this setting.

- The progress indicator flashes to show it is in the warming process.

- When the entire progress indicator lights up continuously, the milk is ready for feeding and the bottle warmer automatically switches to keep warm mode.
- The bottle warmer switches off automatically after about 60 minutes, including warming time. The progress indicator turns off.

Warm baby food
- Place the baby food container in the bottle warmer. Fill with drinking water to the level of the baby food. If you have a large volume of baby food, e.g. 210 ml/ 7 oz, fill with water to approximately 1 cm below the top of the bottle warmer.

- Select the baby food warming setting and press the on / off button to switch on.

- The progress indicator flashes to show it is in the warming process.
- Due to variations in baby food consistency, it is not possible for the appliance to detect precisely how long the baby food should be warmed. Stir the baby food while the jar or container is in the bottle warmer. For optimal result, check its temperature while it is warming up. Be careful not to burn your fingers when holding the container or jar while stirring.

Note
When the entire progress indicator lights up continuously, keep the baby food in the appliance for further warming. Stir the baby food and check its temperature. - The bottle warmer switches off automatically after about 60 minutes, including warming time. The progress indicator turns off.

Feed your baby the baby food
Press the on / off button to switch off the appliance and take out the food container or jar.
Always check the temperature of the baby food before you feed your baby. Gently stir the baby food in the food container or jar and taste it to make sure it is not too hot.
Reuse the bottle warmer right away for another container of baby food
Follow the same steps as indicated in the section “Warm milk”
Keep warm milk
With this setting, the built-in sensor adjusts the heating pattern for keep warm or defrost. If you put warm milk, it is warmed gradually and kept at the right temperature.
- Place the bottle in the bottle warmer. Fill with drinking water to the level of the milk. If you have a large volume of milk, fill with water to approximately 1 cm below the top of the bottle warmer.

- Select the keep warm / defrost setting and press the on/off button to switch on.

- The progress indicator flashes to show that milk is warming.

- When the entire progress indicator lights up continuously, the milk is ready for feeding and the bottle warmer keeps the milk at this temperature.
- The bottle warmer switches off automatically after about 60 minutes, including warming time. The progress indicator turns off.

Note
The time may vary depends on the milk volume and starting temperature.
Defrost milk
With this setting, the built-in sensor adjusts the heating pattern for keep warm or defrost. If you put frozen milk, the bottle warmer defrosts the milk to liquid state and then warms it to the right temperature. You can defrost the milk from 30 ml/ 1 oz up to 180 ml/ 6 oz.
- Place the bottle in the bottle warmer. Fill with drinking water to the level of the milk. If you have a large volume of milk, fill with water to approximately 1 cm below the top of the bottle warmer.

- Select the keep warm / defrost setting and press the on/off button to switch on.

- The progress indicator flashes to show that milk is defrosting and warming.

- Due to variations in frozen milk consistency, it is not possible for the appliance to detect precisely how long it should be warmed. When the entire progress indicator lights up continuously, keep the milk in the appliance for further warming.
Note
E.g. to defrost and warm a bottle of 60 ml/ 2 oz frozen milk, it will take 45 minutes. The defrosting and warming time may be longer or shorter depending on the milk volumes and container material. - The bottle warmer switches off automatically after about 60 minutes, including defrosting and warming time. The progress indicator turns off.

Defrost baby food
With this setting, the built-in sensor adjusts the heating pattern for keep warm or defrost. If you put frozen baby food, the bottle warmer defrosts the baby food. After that, switch off the bottle warmer and turn to baby food setting to warm it to the right temperature.
- Place the baby food container in the bottle warmer. Fill with drinking water to the level of the baby food. If you have a large volume of baby food, fill with water to approximately 1 cm below the top of the bottle warmer.

- Select the keep warm / defrost setting and press the on/off button to switch on.

- The progress indicator flashes to show that baby food is defrosting.
- Due to variations in frozen baby food consistency, it is not possible for the appliance to detect precisely how long it should be defrosted. Stir the baby food when the baby food is started to defrost.
Be careful not to burn your fingers when holding the container or jar while stirring.
Note E.g. to defrost a jar of 180 ml/ 6 oz frozen baby food, it will take 60 minutes. The defrosting time may be longer or shorter depending on the baby food volumes and container material.
- The bottle warmer switches off automatically after about 60 minutes. The progress indicator turns off.

- After that, select baby food setting and press the on/off button to switch on to warm up baby food.

Note Make sure the bottle warmer is switched off before turning the knob to baby food setting. Otherwise, the baby food setting cannot be on. - The progress indicator flashes to show that baby food is warming.
- Due to variations in baby food consistency, it is not possible for the appliance to detect precisely how long it should be warmed. Stir the baby food while
warming. For optimal result, check its temperature while it is warming up. Be careful not to burn your fingers when holding the container or jar while stirring.
- The bottle warmer switches off automatically after about 60 minutes, including warming time. The progress indicator turns off.

Cleaning and descaling
Cleaning
- Unplug and let it cool down.
- Pour out water sideways rather than forwards or backward to keep water from spilling onto the knob or main plug.

- Wipe with a moist cloth. Do not use abrasive, antibacterial cleaning agents, chemical solvents or sharp tools to clean the bottle warmer.
Note If you used the bottle warmer to warm baby food, make sure that no spilled baby food remains at the bottom of bottle warmer.
Descaling
It is recommended to descale the bottle warmer every four weeks to ensure it works efficiently.
To descale, mix 60 ml / 2 oz of white vinegar with 120 ml / 4 oz of cold water. Switch on and select the milk warming setting for contents under 180 ml / 6 oz and let the appliance operate for 10 minutes. Leave the solution in the bottle warmer until all scale has dissolved. 
Note
- You can also use citric acid-based descalers.
- Do not use other types of descalers.
Empty the bottle warmer and rinse the inside thoroughly. If you still see traces of scale, repeat the descaling procedure.
Recycling
This symbol means that this product shall not be disposed of with normal household waste (2012/19/EU).
Follow your country’s rules for the separate collection of electrical and electronic products. Correct disposal helps prevent negative consequences for the environment and human health.
Guarantee and service
If you need information or if you have problems, please visit the Philips website at www.philips.com/avent or contact the Philips Customer Care Center in your country
(refer to the enclosed worldwide guarantee leaflet for details). If there is no Customer Care Center in your country, go to your local Philips dealer.
Troubleshooting
This chapter summarizes the most common problems you could encounter with the appliance. If you are unable to resolve the problem with the information below, contact the Consumer Care Center in your country.
- Problem
After switching on the bottle warmer, the entire progress indicator blinks fast and switches off. - Cause
- The temperature of water in the bottle warmer is too hot or too cold.
- The boil-dry protection is activated.
- Solution
- Switch off and unplug. Let it cool down for a few minutes. Make sure you fill it with fresh room temperature water.
- The bottle warmer automatically switches off if it is on and there is no water or not enough water in it. Switch off and unplug. Let it cool down first. Make sure you fill it with enough fresh room temperature water.
- Fill the bottle warmer with water to the level of the milk. If you have a large volume of milk to warm, fill to approximately 1 cm below the top of the bottle warmer. The bottle warmer is ready to use again.
- Problem
The milk is too hot. - Cause
- You may have selected an incorrect setting or are using a milk bag.
- You may have filled too much water in the bottle warmer.
- Solution
- Select the milk volume setting based on the milk volume, not the bottle size.
- If you are using a milk bag, select the keep warm / defrost setting.
- Fill the bottle warmer with water to the level of the milk. If you have a large volume of milk to warm, fill to approximately 1 cm below the top of the bottle warmer. The bottle warmer is ready to use again.
- Problem
- The milk is still cold.
- You may have selected an incorrect setting, are using a silicone bottle, or have filled the bottle warmer with warm water.
- You may have not filled enough water in the bottle warmer.
- You may have placed bottle in a bottle warmer after switching on the bottle warmer.
- Solution
Place bottle in the bottle warmer. Fill the bottle warmer with fresh room temperature water. Fill the bottle warmer with water to the level of the milk. If you have a large volume of milk to warm, fill to approximately 1cm below the top of the bottle warmer. Select the milk volume setting based on the milk volume, not the bottle size. Press the button to start warming.- If you are using a silicone bottle, select the milk volume set based on the milk volume. When the entire progress indicator is on, wait for 3- 4 minutes for the milk to warm.
- Do not use warm water.
- Problem
After switching on the bottle warmer, the entire progress indicator is on but not flashing. - Cause
- The bottle warmer is still too hot to warm another bottle. You may have just finished warming a bottle. Switch off and let it cool down.
- Solution
- To speed up, refill the bottle warmer with fresh cold water. When you switch on the bottle warmer, the progress indicator fills up gradually to indicate that the appliance is warming again.
- Problem
- The entire progress indicator flashes when warming baby food.
- Cause
- Due to variations in baby food consistency, it is not possible for the appliance to detect precisely how long the baby food should be warmed.
- Solution
- Stir the baby food while the jar or container is in the bottle warmer. For optimal result, check its temperature while it is warming .
- Problem
- I warm the same amount of milk every time, but the time to warm milk is different.
- Cause
- The time to warm the milk depends on the initial temperature of milk and water.
- If milk has been refrigerated and is initially cold, it will take longer to warm the milk.
- If water inside the bottle warmer is warm or hot, it takes longer to warm the milk. The sensor adjusts the heating pattern to avoid milk overheating.
- Solution
- To ensure a consistent warming time, make sure the bottle warmer is filled with enough fresh room temperature water.



















































