EnerSys DDm Conventional and Anti-Shock Stand Configurations

This manual provides instructions for the installation, commissioning, operation and maintenance of EnerSys® PowerSafe® DDm batteries that comply with EN 60896-21
& 22.
Batteries are often the last lines of defence in providing electrical energy after failure of the mains supply. This manual provides information for optimising performance and service life and should be read in conjunction with EN 50272 together with the appropriate Health & Safety Data Sheet.
This manual should be read immediately upon receipt of the battery. Warranties are only valid if the product has been installed, commissioned, operated and maintained in accordance with these instructions.
Safety Information
Get to know the product you are handling. Lead acid batteries are safe if you follow the precautions contained in this manual.
Take note of the meaning of the following symbols and information.
Handling
PowerSafe® DDm batteries are supplied in a charged condition and must be unpacked carefully to avoid very high short-circuit currents between terminals of opposite polarity. Use suitable lifting devices where appropriate.
Keep flames away
In case of accidental overcharge a flammable gas can leak off the safety vent.
Discharge any possible static electricity from clothes by touching an earth connected part.
Tools
Use tools with insulated handles.
Do not place or drop metal objects on the battery.
Remove rings, wristwatch and articles of clothing with metal parts that may come into contact with the battery terminals.
Particular care must be taken during the handling and installation of lead-acid batteries. Personnel undertaking this work must be provided with appropriate equipment to ensure their safety and in addition to exercising routine care and caution they should be additionally made aware of the following:
- Acid – these batteries contain dilute sulphuric acid which is poisonous and corrosive. It can cause burns on contact with skin and eyes. If acid is spilt on skin or clothing wash with plenty of clean water. If acid gets into eyes wash well with plenty of clean water and get immediate medical attention.
- Protective clothing – Always wear protective clothing. Eye protection
(goggles or visor) should be worn if your job brings you into contact with acid. - Gases – Batteries can give off explosive gasses. Keep sparks, flames and lighted cigarettes away from the battery. Isolate the battery circuit before connecting or disconnecting the battery as otherwise a spark can cause an explosion.
Ensure connections are all tight before switching on and use insulated tools only. Areas where batteries are kept or charged must be adequately ventilated.
- Electricity – Use insulated tools only to make connections to a battery. Check the external circuit to ensure it is safe before making a connection to the battery. Before working on a battery, always remove personal metal effects, such as rings, watches, bracelets, necklaces, etc.
- Guidance documents – It is recommended that copies of the following documents are obtained and read in conjunction with this manual:
- Health & Safety Information
for Lead-Acid Batteries – EnerSys Ltd. - EN 50272-2 and IEC 62485-2 Safety Requirements for Secondary Batteries and Battery Installations
Battery Location and Accommodation
Location
Batteries should be located in a secure area with access restricted to experienced, suitably qualified personnel.
Accommodation
Conventional, non-seismic steel stands are supplied as standard with PowerSafe® DDm batteries. Optionally, anti-shock stands are available. Seismic UBC Zone 4 stands are also available and covered in a separate manual.
Where appropriate, European/National or Local Regulations must take precedence. However, in the absence of any regulations the following precautions are recommended.
PowerSafe DDm batteries should be located in a secure, restricted area. It is normal practice to electrically isolate the stand from the ground. This provides a degree of protection during installation and maintenance. This protection is only valid provided the system connected to the battery is also isolated from the ground. In applications where the equipment connected to the battery is not isolated from the ground,
e.g. un-isolated battery chargers, then either:
- The battery stand is connected to the ground.
- A secondary safety barrier is built around the stand to prevent accidental contact, and facilities should exist for earth connections to be made remotely before routine surveillance and maintenance takes place.
Similar hazardous conditions on the battery stand can be generated by environments of high microwave intensity and the same safety precautions should prevail. Satisfactory ground connection to the steel stands can be made via the bolts retaining the diagonal tie bars to the main stand frames. Seismic stands should be earthed via the base plate bolts or as directed in the stand assembly instructions.
Safety
Warning notices complying with current Health & Safety legislation should indicate the dangers of unauthorised access. Within the secure restricted areas, safety instructions should also be provided to advise qualified personnel of the safe methods to enter the system. The use of earth leakage detection equipment is recommended where the stand is permanently earthed.
PowerSafe® DDm Batteries
EnerSys® PowerSafe DDm range combines the benefits of large capacity, long life cells with a choice of compact racking systems to provide totally reliable, cost-effective solutions for large installations. Detailed information regarding the design and specification of PowerSafe DDm batteries can be found in the appropriate publications (visit www.enersys-emea.com or contact your local office for details).
PowerSafe DDm Valve Regulated Lead Acid (VRLA) batteries use proven gas recombination technology. They are supplied in a filled and charged condition and are electrically live at all times so must be treated with care. Even if the case or lid suffers damage, the product remains capable of supplying high short circuit currents.
PowerSafe DDm batteries are supplied in dedicated steel containers that maintain the uniform compression throughout product life necessary to ensure reliable performance.
They are designed to be installed in the horizontal position that affords simplified, front access installation and maintenance even in the most difficult locations.
www.enersys-emea.com
Receiving, Unpacking and Inspection
All cells should be handled with care; damage to the container or lid can occur if allowed to fall. Under no circumstances should they be lifted by the terminals.
All items should be carefully checked against the accompanying advice notes to determine if any are missing. They should be inspected for damage and the terminal voltage of each cell measured to ensure that none are below the equivalent of 2.10 Volts per cell. If any are below this value, or if any items are missing, damaged or broken the Company should be notified at once.
Transit insulation covers are provided to protect the cell terminals. These are factory fitted to all products of the range and should only be removed when access to the terminals is required.
It is recommended that all cells and accessories are unpacked before commencing installation; only unpack and install ‘cell by cell’ in areas of limited access.
Care of Material
Carefully clean off all dust and packing material deposits from each of the cells and accessories. Wipe down the cells as required with a clean, cotton cloth dampened with clean water. If necessary, a small amount of mild detergent may be added to the water to remove any greasy film.
Note that scouring powders and solvents should not be used for cleaning the lids as scratching or damage to the surface of the plastic could occur.
Storage and Refresh Charge
It is recommended that batteries are unpacked, installed and commissioned as soon as possible after receipt. However, if this is impractical, all the parts should be stored in a clean and dry environment with temperature as moderate as the climate will allow.
PowerSafe DDm batteries are supplied in a filled and charged condition so storage time is typically 6 months at 20°C. Storage at higher temperatures will result in accelerated rates of self-discharge that could possibly result in a permanent deterioration to battery performance and life. Consequently,
it is recommended that cells be given a refresh charge when the open circuit voltage falls below 2.10Vpc.
Providing the battery is to be installed and commissioned before a refresh charge becomes due, no further action is required prior to installation. However, if the battery is to be stored for prolonged periods, it must be given a refresh charge as follows:
- Connect in series (i.e. in continuous sequence positive, negative, positive, negative) the correct number of cells to correspond with the output voltage of the charging source which should be of the constant voltage type. The recommended applied charge voltage is 2.28±0.01Vpc (at 20°C) or temperature compensated equivalent (see section 9.2.1).
- Connect charger positive output to battery positive terminal and charger negative output to battery negative terminal. Switch on and leave connected for a continuous period of 48 hours when the charge can be discontinued.
PowerSafe DDm batteries should only be charged in the horizontal position. Charging in the vertical position could invalidate the warranty.
Installation
Conventional, non-seismic stands (supplied as standard)
A comprehensive range of free-standing, conventional steel stands has been specifically designed to provide a compact and effective arrangement for PowerSafe® DDm battery modules whilst retaining the requirements of electrical and mechanical safety, ease of installation and access.
Each stand assembly (see fig. 12.1), which is individually tailored to the battery type, is built from four basic components:
- Frame, fabricated from square steel tube (2 or more frames)
- Runner, fabricated from square steel tube (total 3 per tier)
- Flat steel tie-bar
- Terminal rail, fabricated from Unistrut framing channel
These component parts are factory finished with a high quality electro-statically deposited epoxy powder coating which, in addition to its high dielectric resistance, is acid and saline resistant, fireproof, scratch and impact resistant.
dimensionally matched to the predrilled holes in frames, runners and tie-bars, to ensure a rigid assembly.
Before commencing to erect the stand, smear all screw threads with petroleum jelly. The adjustable insulating feet should then be screwed fully into the threaded plate at the base of the frame leg.
Loosely fix one runner to the top tier of the end (and intermediate) frames and similarly fix one to the bottom tier. Fix tie(s) in position at the back of the stand. Continue by fixing all other runners and the top mounted terminal rail loosely in position.
Complete assembly of stand by tightening all screws, ensuring that the frames are at right angles to the runners. Unscrew the insulating feet in the base of the frames if necessary, to level the stand. Ensure that the lock-nut is re-tightened after adjustment.
Take the cell modules and wipe down clean and dry.
Ensure that modules are correctly configured, i.e. position of terminals, for the position it occupies in the battery and then slide into position on the stand, starting on the bottom tier and working upwards to the highest level.
NB: Take care to observe the correct unit-mounting centres along the length of the stand and also correct alignment of adjacent units one above the other.
In this respect use inter-row and inter-cell connectors to achieve longitudinal and vertical alignment.
When all modules have been placed on the stand, and in the case of anti-shock stands when the module clamping plates have been fitted, connect them together by means of the connecting straps and fastener set, in sequence, pillar, connecting strap, plain washer, spring washer and setscrew using insulated tools.
Fastening torque is 10Nm (88 in-lbs).
NB: The battery may not completely fill the stand.
Anti-shock stands
These are similar in design to those described in paragraph
With two exceptions
- The frames are fitted with flat base plates instead of adjustable feet. This allows the stand to be securely fixed to the floor using suitable M12 fixings.
- The front runner on each tier is fitted with captive nuts along the front face of the runner to allow clamping plates to be fitted over the flanges and edge of the cell lid of adjacent modules (see fig. 12.2).
NB: The clamping plates must be fitted before cell connection commences.
Seismic UBC Zone 4 stands
These stands are available as an option. Should you have ordered these, please refer to the specific installation manual.
Connector details (see fig. 12.3 & 12.4)
For Telecom applications, please refer to figure 12.3, for all other applications refer to figure 12.4.
Insulated solid copper connectors, one per pole, are used for all inter-cell connections.
Heavy-duty flexible cables, one per pole, are used for inter-stand connections when necessary.
Insulated tools must be used when working on a battery. If pliers, spanners, etc are not insulated, they can cause the danger of a short circuit.
Apply an even coating of lanolised petroleum jelly to the pillars, bolts, washers and connectors before and after assembly.
Note particularly that the positive terminal of one module is connected to the negative terminal of the next, throughout the battery, leaving the positive and negative terminals of the battery free for connection to the optional terminal plates or the customer’s take-off cables.
Once the connectors are fitted and the bolts tightened to their correct torque settings, the exposed ends of the connectors and intermediate pillars on inter-row connections, should be insulated using the clip on shrouds supplied. Connector end caps should be cut back to the trim line with a sharp knife, for use on 10 mm thick inter-row connectors only.
Terminal plates
Large copper terminal plates are available on request to allow the connection of large or multiple cables onto the battery to avoid strain on the cell pillars. These are fitted onto the Unistrut terminal rail at the top of the battery stand (see fig. 12.1) using the stand-off insulators provided. Each terminal plate (positive and negative) is then insulated with the colour coded flexible PVC shrouds supplied. The shroud can easily be trimmed to allow passage of the main cables to the system charger or isolator.
Cell numbering
Self-adhesive number labels are supplied, one for each cell/module. It is important that the surface is clean and dry before fitting the label which is done by removing the backing paper, placing the label in a suitable position on the front face of the cell and applying even pressure to the whole area of the label.
Do not obstruct the vent hole with the cell number label.
Unless a local rule exists, it is usual to number the cells beginning with No.1 at the positive end of the battery.
Continue numbering consecutively by following exactly the electrical connections right through to the negative end of the battery.
Front covers
Please note, PowerSafe® DDm cells accommodated on either conventional or anti-shock stands have connectors that are individually insulated so front covers are only supplied when specifically requested. However, insulating front covers are supplied as standard when PowerSafe DDm cell are accommodated on seismic UBC Zone 4 stands.
Front covers are designed to be fitted on completion of the connecting up sequence of the battery.
Before fitting them, first ensure that:
- The modules are connected in the correct sequence. Charging a cell or battery in the wrong direction will cause permanent damage.
- The terminals, connecting straps and fasteners are adequately coated with lanolised petroleum jelly.
Front covers have slots located in each corner. Use the screws supplied to fasten the covers onto the captive nuts located in the front face of the stand frames.
Commissioning Charge
It is recommended that chargers are of the constant voltage type. The output characteristic should give an applied charge voltage of 2.28±0.01Vpc (at 20°C) or temperature compensated equivalent (see section 9.2.1) with a minimum output current expressed numerically in amperes as 10% of the 10 hour capacity rating of the battery.
The commissioning charge should be carried out, without any other load being connected to the charger, as follows:
- Connect charger positive output to battery positive terminal, charger negative output to battery negative terminal.
- Switch on and charge continuously until the current flow into the battery has fallen to a minimum and stabilised to remain relatively constant over 3 consecutive hourly readings.
If it is not possible to determine the current, the battery may be assumed to be fully charged after a minimum continuous charge period of 6 days.
The battery temperature should be monitored during the commissioning charge. If it exceeds 40°C the charge must be terminated immediately; it should not be continued until the temperature has fallen to 32°C.
NB: If the battery is to be subjected to a site acceptance test
before going into service, this must be carried out in the period between completion of the commissioning charge and the
introduction of operating load on the system.
On completion of the commissioning charge (and, if required, site acceptance test and subsequent recharge) the load circuit can be introduced on to the system and the battery maintained in the normal float charge mode.
Operation
Chargers
Constant voltage chargers only are recommended for normal continuous operation.
Charging
Applied voltage level for normal float charge
For all normal operating conditions, and particularly where the battery is maintained fully charged continuously in parallel with the charger and load circuit, it is recommended that a voltage level equivalent to 2.28±0.01Vpc (at 20°C) is applied to the battery terminals.
Where the mean operating temperature is not 20°C, the applied voltage level should be adjusted as follows:
- 2.28Vpc + 0.003V per cell per °C below 20°C
- 2.28Vpc – 0.003V per cell per °C above 20°C
To prevent the possibility of undercharge, it is important that the applied charge voltage does not drop below the minimum recommended value for the operating temperature.
Similarly, to prevent the possibility of overcharge, any excursion of ‘battery voltage’ above the maximum recommended value for more than one minute should either be alarmed or cause immediate termination of the charge (except under controlled elevated voltage conditions described in section 9.2.2).
www.enersys-emea.com
This level of applied voltage is recommended for both the Refresher Charge (section 6) and Commissioning Charge (section 8) procedures or to recharge the battery following a discharge.
Under these conditions, it will typically require a period of continuous charge in excess of 72 hours to fully recharge a battery which has previously been discharged to the extent of its 10 hour capacity. The battery will be fully recharged when the charge current has reduced to a very low value and has remained reasonably constant for 3 consecutive hourly readings.
At 2.28±0.01Vpc (at 20°C), this value of end of charge current will typically be in the region of 0.5mA per Ah of the rated 10 hour capacity.
Applied voltage level for faster recharge
Recharge time can be reduced by increasing the level of applied charge voltage.
If the time available for recharge is constrained, then the battery may be recharged by applying a maximum constant voltage level of 2.35 Volts per cell. However, using this charging regime:
- Will result in a reduced service life if used more than once per month.
- Requires the charge current to be limited to a value expressed numerically in Amperes to 10% of the 10 hour capacity rating of the battery (e.g. 85 Amps for battery of DDm 85-21).
- Requires the charge to be terminated when the charge current stabilizes; typically this will be in the region of 3mA per Ah of the rated 10 hour capacity rating of the battery.
If necessary, the Refresher Charge procedure (section 6) may be carried out using this elevated voltage level; however, the charge must be terminated after a maximum continuous charge period of 8 hours. Similarly, the Commissioning Charge procedure (section 8) may be carried out using 2.35 Volts per cell for a maximum continuous charge period of 12 hours.
However, neither of these 2 alternative procedures should be attempted without first referring to EnerSys® for precise instructions.
Equalising charge
Under normal conditions an equalizing charge is not required. However, in some circumstances, a maximum continuous charge period of 12 hours using 2.35 Volts per cell or an extended period of carefully controlled low value constant current charge may prove beneficial.
EnerSys must be contacted for advice if an equalizing charge is to be undertaken.
Charge current
For optimum charge efficiency, the recommended charge current to the battery should be a value expressed numerically in Amperes equivalent to 10% of the 10 hour capacity rating of the battery.
However, PowerSafe® DDm batteries will accept higher values of charge current without damage providing that the applied charge voltage does not exceed the normal float charge voltage level of 2.28±0.01Vpc (at 20°C) or temperature compensated equivalent
(see section 9.2.1).
It is important that the 10% C10 Amperes current becomes a maximum value when applying any value of elevated voltage between 2.29 Volts per cell and 2.35 Volts per cell.
Recharge interval
In order to prevent permanent damage to the battery, it is recommended that recharge should be commenced immediately after any discharge.
General
Discharge voltage
The minimum average voltage per cell should not fall below 1.60Vpc for a period of greater than 2 minutes on batteries designed to give up to one hour standby period and for greater than 5 minutes for standby periods in excess of one hour.
It is recommended that a low voltage disconnect feature be included in the system to ensure compliance with the above recommendation.
NB: A momentary dip in voltage below 1.60Vpc such as would occur in switchgear closing operation or engine starting
applications is not considered detrimental.
Short circuit faults
Any short circuit fault should be cleared from the battery within 10 seconds.
Number of cells connected in series
The number of cells in series (N) will not affect the selected float voltage per cell. Therefore, battery charging float voltage = N x Cell Float Voltage. No special circuit arrangements are required.
Number of cells or cell strings connected in parallel
Under constant voltage charge conditions no special arrangements have to be made for batteries in parallel.
However, where the parallel connection is made at the charger or distribution board, the resistance between the battery terminal and the common charge supply point must be within ±5% of the mean value to avoid out of step conditions developing.
Maintenance
Routine maintenance of a battery is essential for ensuring satisfactory performance. Good records will identify when corrective action may be necessary to ensure the integrity of emergency supply.
In practice, the content and frequency of a battery maintenance schedule is specified by the user. It should consider site criticality, location and available resource, together with the prevailing operating conditions.
A maintenance schedule typically includes:
Initial readings
Upon completion of the commissioning charge and immediately after reverting to normal operation ensure that the battery charging voltage is correct. Measure and record the ambient temperature in the vicinity of the battery and all cell voltages.
Following a commissioning charge and after 6 months continuous charge at the recommended float voltage, individual cell voltages will stabilize within ±5% of the mean applied voltage.
However, immediately following commissioning and for the initial 6 months of continuous float charge, individual cell voltage values outside the above tolerance may be observed without adverse effect. There is no relationship between float voltage and discharge capacity; cells are perfectly capable of giving their discharge capacity even when outside the ±5%
www.enersys-emea.com range. After 6 months service, should any individual cell show a continuing reduction or increase in voltage outside the above limits over 3 successive monthly periods, EnerSys® should be contacted for advice.
- Monthly readings
Ensure that the battery charging voltage is correct. Measure and record the ambient temperature in the vicinity of the battery. Visually inspect the battery; ensure it is kept clean and free from corrosion. If necessary, clean with a damp cotton cloth and mild detergent, do not use solvents or scouring powders. - Three monthly readings
In addition to the monthly readings, measure and record the voltage of all cells. - Six monthly readings
In addition to the three monthly readings, measure and record the internal ohmic value of all cells. Results should be compared against previous readings such that a trend is generated throughout a battery life cycle. EnerSys should be contacted for advice when values change by 35% of the initial value. - Annual readings
In addition to the six monthly readings, check all connections for correct torque tightness and carry out a capacity discharge or duty specification test. - General
Record the details of any emergency or accidental discharge and all corrective action that is undertaken.
It is recommended that records are kept in a manner such that comparison with previous reports can be readily made.
Preservation
Keep the battery and surroundings clean and dry and ensure bolted connections are tight. Keep connectors, pillars and bolted connection covered with lanolised petroleum jelly.
Annexes
Stand assembly

- Frame
- Runner
- Terminal rail
- Insulating nut cap – short M8 x 80 HX HD bolt
- M8 plain washer
- M8 spring washer
- M8 nut
- Insulating nut cap – long M8 x 70 socket HD bolt M8 x 30 HX HD screw Tie-bar
- Spacer washer
- Foot assembly
- M16 lock nut
- M16 plain washer
Anti-shock stand runner

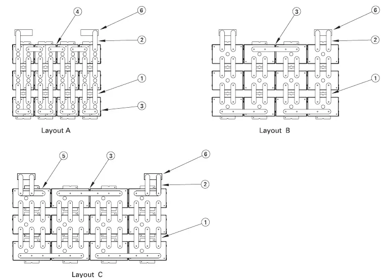
Connection diagrams – Telecom applications
CONNECTOR DETAILS
| Battery | Layout | Inter-cell | Terminal | Inter-row | Inter-module | Equalizing | Terminal Plate* |
| Type | 1 | 2 | 3 | 4 | 5 | 6 | |
| 2DDM50-09 | A | SUB5872 | SUB5876 | SUB5875 | SUB5876 | – | SUB5751 |
| 2DDM50-13 | A | SUB5872 | SUB5876 | SUB5877 | SUB5878 | – | SUB5751 |
| DDM50-17 | B | SUB5872 | SUB5876 | SUB5888 | – | – | SUB5751 |
| 2DDM85-13 | A | SUB5872 | SUB5876 | SUB5877 | SUB5878 | – | SUB5751 |
| 2DDM85-15 | A | SUB5872 | SUB5876 | SUB5879 | SUB5880 | – | SUB5751 |
| DDM85-21 | B | SUB5872 | SUB5876 | SUB5889 | – | – | SUB5751 |
| DDM85-25 | B | SUB5872 | SUB5876 | SUB5890 | – | – | SUB5751 |
| DDM85-27 | B | SUB5872 | SUB5876 | SUB5891 | – | – | SUB5751 |
| DDM85-33 | C | SUB5872 | SUB5876 | SUB5887 | – | SUB5886 | SUB5751 |
| DDM100-21 | B | SUB5872 | SUB5876 | SUB5889 | – | – | SUB5751 |
| DDM100-25 | B | SUB5872 | SUB5876 | SUB5890 | – | – | SUB5751 |
| DDM100-27 | B | SUB5872 | SUB5876 | SUB5891 | – | – | SUB5751 |
| DDM100-33 | C | SUB5872 | SUB5876 | SUB5887 | – | SUB5886 | SUB5751 |
| DDM125-25 | B | SUB5873 | SUB5874 | SUB5892 | – | – | SUB5751 |
| DDM125-27 | B | SUB5873 | SUB5874 | SUB5893 | – | – | SUB5751 |
| DDM125-33 | C | SUB5873 | SUB5874 | SUB5887 | – | SUB5886 | SUB5751 |
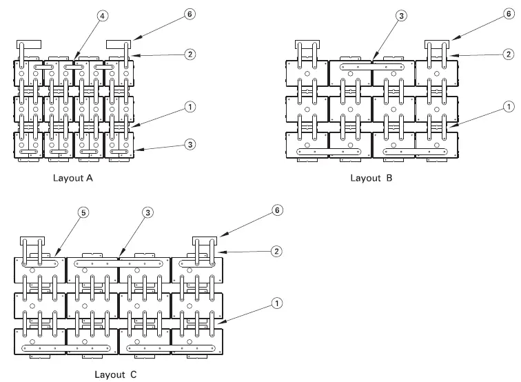
Connection diagrams – All applications except Telecom
CONNECTOR DETAILS
| Battery | Layout | Inter-cell | Terminal | Inter-row | Inter-module | Equalizing | Terminal Plate* |
| Type | 1 | 2 | 3 | 4 | 5 | 6 | |
| 2DDM50-09 | A | SUB5732 | SUB5738 | SUB5737 | SUB5738 | – | SUB5751 |
| 2DDM50-13 | A | SUB5732 | SUB5738 | SUB5739 | SUB5740 | – | SUB5751 |
| DDM50-17 | B | SUB5732 | SUB5738 | SUB5745 | – | – | SUB5751 |
| 2DDM85-13 | A | SUB5732 | SUB5738 | SUB5739 | SUB5740 | – | SUB5751 |
| 2DDM85-15 | A | SUB5732 | SUB5738 | SUB5741 | SUB5742 | – | SUB5751 |
| DDM85-21 | B | SUB5732 | SUB5738 | SUB5746 | – | – | SUB5751 |
| DDM85-25 | B | SUB5732 | SUB5738 | SUB5747 | – | – | SUB5751 |
| DDM85-27 | B | SUB5732 | SUB5738 | SUB5748 | – | – | SUB5751 |
| DDM85-33 | C | SUB5732 | SUB5738 | SUB5744 | – | SUB5743 | SUB5751 |
| DDM100-21 | B | SUB5732 | SUB5738 | SUB5746 | – | – | SUB5751 |
| DDM100-25 | B | SUB5732 | SUB5738 | SUB5747 | – | – | SUB5751 |
| DDM100-27 | B | SUB5732 | SUB5738 | SUB5748 | – | – | SUB5751 |
| DDM100-33 | C | SUB5732 | SUB5738 | SUB5744 | – | SUB5743 | SUB5751 |
| DDM125-25 | B | SUB5733 | SUB5901 | SUB5749 | – | – | SUB5751 |
| DDM125-27 | B | SUB5733 | SUB5901 | SUB5750 | – | – | SUB5751 |
| DDM125-33 | C | SUB5733 | SUB5901 | SUB5744 | SUB5743 | SUB5751 |
Battery Record Sheet
| Works Order Number : | Customer Reference : |
| Battery Type : | Number of Cells : |
| Installed At : | Date Installed : |
| Battery Float Voltage (V) : | Ambient Temperature (°C) : |
| Battery Charging Current (A) : | Average Vpc : |
| Serial No. | Volts per cell | Serial No. | Volts per cell | Serial No. | Volts per cell | Serial No. | Volts per cell | Serial No. | Volts per cell | Serial No. | Volts per cell | ||||||
| 1 | 41 | 81 | 121 | 161 | 201 | ||||||||||||
| 2 | 42 | 82 | 122 | 162 | 202 | ||||||||||||
| 3 | 43 | 83 | 123 | 163 | 203 | ||||||||||||
| 4 | 44 | 84 | 124 | 164 | 204 | ||||||||||||
| 5 | 45 | 85 | 125 | 165 | 205 | ||||||||||||
| 6 | 46 | 86 | 126 | 166 | 206 | ||||||||||||
| 7 | 47 | 87 | 127 | 167 | 207 | ||||||||||||
| 8 | 48 | 88 | 128 | 168 | 208 | ||||||||||||
| 9 | 49 | 89 | 129 | 169 | 209 | ||||||||||||
| 10 | 50 | 90 | 130 | 170 | 210 | ||||||||||||
| 11 | 51 | 91 | 131 | 171 | 211 | ||||||||||||
| 12 | 52 | 92 | 132 | 172 | 212 | ||||||||||||
| 13 | 53 | 93 | 133 | 173 | 213 | ||||||||||||
| 14 | 54 | 94 | 134 | 174 | 214 | ||||||||||||
| 15 | 55 | 95 | 135 | 175 | 215 | ||||||||||||
| 16 | 56 | 96 | 136 | 176 | 216 | ||||||||||||
| 17 | 57 | 97 | 137 | 177 | 217 | ||||||||||||
| 18 | 58 | 98 | 138 | 178 | 218 | ||||||||||||
| 19 | 59 | 99 | 139 | 179 | 219 | ||||||||||||
| 20 | 60 | 100 | 140 | 180 | 220 | ||||||||||||
| 21 | 61 | 101 | 141 | 181 | 221 | ||||||||||||
| 22 | 62 | 102 | 142 | 182 | 222 | ||||||||||||
| 23 | 63 | 103 | 143 | 183 | 223 | ||||||||||||
| 24 | 64 | 104 | 144 | 184 | 224 | ||||||||||||
| 25 | 65 | 105 | 145 | 185 | 225 | ||||||||||||
| 26 | 66 | 106 | 146 | 186 | 226 | ||||||||||||
| 27 | 67 | 107 | 147 | 187 | 227 | ||||||||||||
| 28 | 68 | 108 | 148 | 188 | 228 | ||||||||||||
| 29 | 69 | 109 | 149 | 189 | 229 | ||||||||||||
| 30 | 70 | 110 | 150 | 190 | 230 | ||||||||||||
| 31 | 71 | 111 | 151 | 191 | 231 | ||||||||||||
| 32 | 72 | 112 | 152 | 192 | 232 | ||||||||||||
| 33 | 73 | 113 | 153 | 193 | 233 | ||||||||||||
| 34 | 74 | 114 | 154 | 194 | 234 | ||||||||||||
| 35 | 75 | 115 | 155 | 195 | 235 | ||||||||||||
| 36 | 76 | 116 | 156 | 196 | 236 | ||||||||||||
| 37 | 77 | 117 | 157 | 197 | 237 | ||||||||||||
| 38 | 78 | 118 | 158 | 198 | 238 | ||||||||||||
| 39 | 79 | 119 | 159 | 199 | 239 | ||||||||||||
| 40 | 80 | 120 | 160 | 200 | 240 |
EnerSys
World Headquarters 2366 Bernville Road Reading, PA 19605 USA
Tel: +1 610 208 1991
+1 800 538 3627
Fax: +1 610 372 8613
EnerSys EMEA
EH Europe GmbH
Löwenstrasse 32
8001 Zürich
Switzerland
EnerSys Asia
152 Beach Road Gateway East Building Level 11
189721 Singapore Tel: +65 6508 1780
© 2014 EnerSys®. All rights reserved.
Trademarks and logos are the property of EnerSys® and its affiliates unless otherwise noted.




















