kaWe C10 LED High Power Otoscope

Dear customer, thank you for choosing a KaWe product. Our otoscopes comply with the provisions of Directive (EU) 2017/745 (European Medical Devices Directive) and, according to this Directive, are classifi ed as Class I medical products.
Please read this User’s Manual and follow it. Keep this User’s Manual in case you need to read it again.
- Before using the device, please thoroughly read and understand the service procedure and follow the care instructions.
- If you feel any uncertainty regarding the device connection or service, please do not hesitate to contact our customer support service (see the manufacturer’s address on the back of the page).
- KaWe otoscopes are divided into three groups
- EUROLIGHT With metal handle and head
- COMBILIGHT With metal handle and plastic head
- PICCOLIGHT With plastic handle and head
You can fi nd the relevant images on the front page of this User’s Manual. This User’s Manual takes into account the differences between models. Each model may be equipped with Standard (S) of Fiber optic (F.O.) illumination type. Other options (battery/ rechargeable battery power, illumination power, etc.) are not specifically covered herein, because there are no notable differences in their servicing.
Symbols used in this User’s Manual and on the product package

Purpose and intended use
- The otoscope with an attached ear funnel is designed for medical examination of the external auditory canal up to the ear drum.
- Following all instructions detailed herein, as well as all important guidelines and requirements also qualifi es as proper use. Any other use of the device is not its intended use, and the manufacturer disclaims any liability that may arise as a result of such unintended use.
- Otoscopes are used to diagnose and monitor diff erent diseases and functional disorders in the areas of the outer ear, auditory canal, ear drum and inner ear.
- This device is recommended for use in adult patients, children and infants.
- Only authorized and trained professionals may use the device!
Safety guidelines / contraindications
- Check the device for proper functioning before each use. Do not use the device if the device is damaged.
- Do not use the device without an ear funnel!
- Using the device on damaged tissue is not recommended!
- In case of malformations of outer or inner ear which may cause the examination to end in an injury, using the device is not allowed.
- Choose the ear funnel size for each patient individually to avoid damaging the ear or the auditory canal.
- Keep the device out of strong magnetic fields (MRI).
- Do not shine the light from the device directly into eyes!
- Like all electrical diagnostic devices, KaWe otoscopes are subject to special electromagnetic compatibility precautions.
- Mobile high frequency telecommunications equipment may interfere with KaWe otoscopes’ function.
- Reusable ear funnels shall be sterilized before use!
- Use only original KaWe spare parts and components.
- In the event of an error, increased heat build-up can occur, which can lead to the risk of burns. In case of intense heating, turn the handle off immediately.
- Disposable ear funnels are single-use only and to be disposed of immediately after use.
Assembly and service
EUROLIGHT / COMBILIGHT
- Insert the battery or the rechargeable battery into the handle. Check for correct polarity and for correct lamps (2.5 V or 3.5 V)! Also follow the instructions of Section 8: Maintenance and Service.

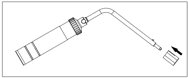
- C10 options: Push the head all the way down, hold it in place and tighten the screw. Check the screw groove on the head.
C30 / F.O.30 options: Push the head all the way down, hold it in place and tighten the screw. Check the grooves!
- Turning the lamp on: Press on the latching switch and turn the illumination regulator to the left. To turn the lamp off, turn the regulator back to its starting position (0). The illumination intensity changes gradually.

- Battery/rechargeable battery change: see Section 8: Maintenance and Service.
- Note: You can charge rechargeable batteries (NiMH, Li-Ion) inside the handle using MedCharge 4000 charger.
Please follow a separate User’s Manual for MedCharge 4000 Сharger.
PICCOLIGHT
- Insert batteries (2x Mignon or AA 1.5 V batteries) into the handle. Check the polarity! Also follow instructions in Section 8: Maintenance and Service.
- Screw the head onto the handle.

- Use the sliding switch to turn the lamp on or off.

- You can change batteries/rechargeable batteries by unscrewing the head from the handle. Also follow instructions in Section 8: Maintenance and Service.
Duration of operation
The devices are not intended for continuous operation, the ma-ximum duration of one use is 1 minute with a 10 minutes pause between uses.
Preparation for use
- Check the assembled otoscope for damage, impurities and compatibility. Check that the moving parts (i.e. magnifying glass frame, plug junctions) move smoothly.
- Check that the lamp is well secured and functions properly.
- Check the battery charge.
If all those checks have been successful, you can now use the otoscope to examine a patient after sanitizing it and attaching a new ear funnel.
Sanitary preparation
Disposable ear funnels are single-use only and therefore are not to be cleaned or re-used!
Clean reusable ear funnels immediately after use to prevent impurities from drying up.
Manual / automated cleaning
Protect the device from moisture!
Never allow the otoscope to come into contact with fluids and ensure that liquids do not penetrate the housing.
The exterior surface of the device can be cleaned with a damp, soft and lint-free cloth. Simple cleaning and or disinfection with an alcohol-based surface disinfecting agent is sufficient.
- Do not sterilize the device!
- Do not use abrasive cleaning agents!
- The magnifying glass is only to be cleaned with glass cleaner!
No automated cleaning possible/required!
Disinfection
- The otoscope can be disinfected by wiping it with a cloth dampened with alcohol (e.g. isopropyl). Avoid moisture from getting on the device!
- Disinfect reusable ear funnels with a suitable disinfectant (i.e. Helipur®). Follow the concentrations and reaction times indicated by disinfectant manufacturer.
Sterilization
Only reusable ear funnels are to be sterilized!
Proper steam sterilization can only be done after sufficient pre-cleaning!
- Maximum hot steam sterilization temperature: 134 °C
- Minimum hot steam sterilization time: 3 Min.
Storage and transport
Store and transport the device in clean conditions free of dust and moisture.
Ambient temperature:
- Storage: -10 °C to +45 °C
- Transport: -20 °C to +50 °C
- Operation: +5 °C to +35°C
Relative air humidity: 30 % – 75 %
Maintenance and service
- Any damaged parts (i.e. reusable ear funnels) must be discarded and replaced!
- In case the illumination intensity is low, check for the following causes:
- Check the battery/chargeable battery charge. If necessary, replace or recharge the battery.
- Clean or replace the lamp.
If reasons 1 and 2 above are ruled out, it is possible that the device has to be repaired or replaced. Contact your supplier.
Battery change
Check the battery charge regularly. Reduced battery voltage (caused by wear) leads to diminishing illumination and in some cases to blinking LED lamps. In both cases replacing the batteries is recommended. Use high quality alkaline batteries or fully charged rechargeable batteries to replace the old ones.
Please follow the User’s Manual for the rechargeable batteries or charger devices!
EUROLIGHT / COMBILIGHT
- battery (2x Baby / C type batteries)

- rechargeable battery

PICCOLIGHT

Lamp change
Satisfactory operation of the device with the best illumination power can only be guaranteed with the use of original KaWe replacement lamps.
- EUROLIGHT F.O. / COMBILIGHT F.O. / PICCOLIGHT F.O
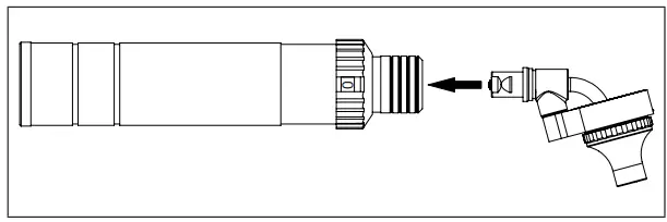
- Remove the head from the handle. To do that, press the corrugated bushing down.

- Pull the lamp from the bottom of the head.
- Clean the bulb of the replacement lamp with alcohol. The glass bulb should be clean and free of fingerprints (grease spots).
- Push the lamp all the way into the head.
- Remove the head from the handle. To do that, press the corrugated bushing down.
- PICCOLIGHT C
- Swing the magnifying glass up and grasping the adapter, pull out the lamp.

- Detach the lamp by unscrewing it from the adapter.
- Clean the bulb of the replacement lamp with alcohol. The glass bulb should be clean and free of fingerprints (grease spots).
- Screw the new lamp onto the adapter.
- Push the lamp together with the adapter fully back into the slot.
- Swing the magnifying glass up and grasping the adapter, pull out the lamp.
- EUROLIGHT C / COMBILIGHT C
- Unscrew the lamp from the otoscope head.

- Remove the black plastic bushing from the lamp carefully.
- Clean the bulb of the replacement lamp with alcohol. The glass bulb should be clean and free of fingerprints (grease spots).
- Screw a replacement lamp into the head and cover it with plastic bushing.
- Unscrew the lamp from the otoscope head.
Accessories and spare parts
- Disposable ear funnels:
anthracite, Ø 2.5 mm / 4.0 mm black, Ø 2.5 mm / 4.0 mm - Reusable ear funnels:
black, Ø 2.0 mm / 2.5 mm / 3.0 mm / 3.5 mm / 4.0 mm / 4.5 mm / 5.0 mm / 9.0 mm*
* Only for EUROLIGHT C - Lamp support 2.5 V
Replace the lamp the same way it is done with EURO-/ COMBILIGHT C.
- Set of laryngeal mirrors

- Tongue depressor holder

- Nose spreader speculum

Turn the regulator screw to open or close. - Ball with adapter for pneumatic tests

Adapter is required only for EURO-/COMBILIGHT F.O. and PICCOLIGHT models. - Nose light
Replace the lamp the same way it is done with EURO-/COMBILIGHT F.O.
- Finoff transilluminator, XL
Replace the lamp the same way it is done with EURO-/COMBILIGHT F.O.
- Laryngeal mirror, straight

Replace the lamp by removing the mirror head and unscrewing the lamp.
You can find other accessories and spare parts in our product catalogue at https://www.kawemed.com or ask your supplier.
Disposal
Dispose of the device according to local regulations. Icons on the device and the package contain information on disposal requi-rements.
- Defective and/or recyclable electrical / electronic devices and rechargeable batteries must be trans-ferred to a designated waste collection point for recycling.
- User and patient instructions
Please inform the manufacturer and the competent authorities of the relevant member state where the user and/or patient is located immediately about any serious product-related incidents.
Annex
Warranty
- The warranty for LED lamps is fi ve years after the sale, provided that the device was operated as intended, according to this User’s Manual and using original KaWe spare parts.
- In other cases, the warranty is two years as provided for by law (except for illumination sources, batteries and rechargeable batteries).
- If you have any questions, or your device requires repair, please contact your supplier.
Contact details
Please contact your supplier or the manufacturer (the address is provided on the back of the page).
Basic UDI-DI
4030155KaWe0101XR
ABOUT COMPANY
- KIRCHNER & WILHELM GmbH + Co. KG
- Eberhardstraße 56
- 71679 Asperg, Germany
- Phone: +49 7141 68188-0
- Fax: +49 7141 68188-11
- e-mail: [email protected]
- www.kawemed.com

































