DAYTONA 58341-UPC 12 Ton Heavy Duty Ratcheting Jack Stands Black

Save This Manual Keep this manual for the safety warnings and precautions, assembly, operating, inspection, maintenance and cleaning procedures. Write the product’s serial number in the back of the manual (or month and year of purchase if product has no number). Keep this manual and the receipt in a safe and dry place for future reference.
Visit our website at: http://www.harborfreight.com
Email our technical support at: [email protected]
When unpacking, make sure that the product is intact and undamaged. If any parts are missing or broken, please call 1-888-866-5797 as soon as possible.
Copyright© 2020 by Harbor Freight Tools®. All rights reserved. No portion of this manual or any artwork contained herein may be reproduced in any shape or form without the express written consent of Harbor Freight Tools. Diagrams within this manual may not be drawn proportionally. Due to continuing improvements, actual product may differ slightly from the product described herein. Tools required for assembly and service may not be included.
Specifications
| Model | DJS3TBK DJS3TOR DJS3TY DJS3TGR DJS3TBL | DJS6TBK DJS6TOR DJS6TY DJS6TGR DJS6TBL | DJS12TBK |
| Capacity | 3 Tons (6,000 lb.)* | 6 Tons (12,000 lb.)* | 12 Tons (24,000 lb.)* |
| Height Range (Approximate) | 11-3/8″ – 16-7/8″ | 15-1/4″ – 24″ | 19-5/8″ – 30-1/20″ |
IMPORTANT SAFETY INFORMATION
WARNING
Failure to heed these markings may result in personal injury and/or property damage.
- Study, understand, and follow all instructions before operating this device.
- Do not exceed rated capacity.
- Use only on hard, level surfaces.
- Center load on saddle.
- Use as matched pair to support one end of a vehicle only.
- Wear ANSI-approved safety goggles and heavy-duty work gloves during use.
- Do not use for aircraft purposes.
- Support vehicle only at manufacturer recommended locations.
- Inspect before every use; do not use if parts loose or damaged.
- Examine Jack Stands for cracks or damage before each use. Do not use if even a minor crack, bend or other damage/deformation appears. Discard Jack Stand if damaged or deformed.
- Keep work area clean. Cluttered areas invite injuries.
- Observe work area conditions. Keep work area well lighted.
- Keep children away. Children must never be allowed in the work area.
- Store idle equipment. When not in use, tools must be stored in a dry location to inhibit rust. Always lock up tools and keep out of reach of children.
- There are certain applications for which this tool was designed. Do not modify this tool and do not use this tool for a purpose for which it was not intended.
- Dress properly. Do not wear loose clothing or jewelry as they can be caught in moving parts. Protective, electrically non-conductive clothes and non-skid footwear are recommended when working. Wear restrictive hair covering to contain long hair.
- Maintain tools with care. Keep tools clean for better and safer performance. Follow instructions for lubricating and changing accessories.
- Stay alert. Watch what you are doing, use common sense. Do not operate any tool when you are tired.
- Do not operate tool if under the influence of alcohol or drugs. Read warning labels on prescriptions to determine if your judgment or reflexes are impaired while taking drugs. If there is any doubt, do not operate the tool.
- Only use on proper surface. Only use the Jack Stands on a dry, level, flat surface, which is free of grease or debris. The surface to be used must be capable of supporting the combined weight of the vehicle and the Jack Stands.
- The warnings, precautions, and instructions discussed in this manual cannot cover all possible conditions and situations that may occur. The operator must understand that common sense and caution are factors, which cannot be built into this product, but must be supplied by the operator.
Assembly
Read the ENTIRE IMPORTANT SAFETY INFORMATION section at the beginning of this manual including all text under subheadings therein before set up or use of this product.
Note: For additional information regarding the parts listed in the following pages, refer to the Assembly Diagram near the end of this manual.
- Secure the chain to the jack stand by attaching the split ring to the Hole near the Pawl. See Figure A.
- Turn Post so that the teeth on its side face the Pawl. Insert Post into the Base.
- Bend Stop Tab in to secure the Post into the Base. See Figure A.
CAUTION! Be alert to pinching hazard when lowering the Post.
CAUTION! TO PREVENT INJURY: Before using the Jack Stands, make sure the Post cannot be pulled up and out of the Base. - Repeat Steps 1 through 4 with the other Jack Stand.

Operating Instructions
Read the ENTIRE IMPORTANT SAFETY INFORMATION section at the beginning of this manual including all text under subheadings therein before set up or use of this product.
WARNING! TO PREVENT SERIOUS INJURY: Use as matched pair to support one end of a vehicle only.
Supporting a Vehicle
- Make sure the vehicle does not exceed the capacity of the Jack Stands. Note: Check that the weight is evenly distributed between the Jack Stands. You must evenly distribute the weight or the Jack Stands may fail, causing severe injury or death. Only apply the load vertically.
- WARNING! TO PREVENT SERIOUS INJURY: If a vehicle drops on the Jack Stands (even if it is under the weight capacity limit), the principle of “dynamic loading” takes affect. The force of the weight falling may cause the Jack Stands to fail. A vehicle weighing much less than the Jack capacity may cause the Jack Stands to fail if dropped on them.
- Note: Do not move the Handle when the Jack Stands are supporting a vehicle. The shear pin is designed to shear in the event the user attempts to move the Handle while supporting weight. If the pin shears, do not use the Jack Stands again until the shear pin is replaced by a qualified technician.
- Examine Jack Stands for cracks or damage before each use. Do not use if even a minor crack, bend, or other damage/deformation appears. Discard Jack Stand if damaged or deformed.
- Raise the Handle on each Jack Stand to completely lower the Post.
- If your are raising only one end of the vehicle, block the tires that remain on the ground.
- Following the instructions in your floor jack manual, raise your vehicle to just above the minimum height of your Jack Stands.
- Slide your Jack Stands to the proper position points referred to in the vehicle owner’s manual. Make sure the Jack Stands are on the same point on each side of the vehicle. Move the Handle up, and raise the Jack Stands until they are just below the jack contact point on the vehicle. Center the load on the Saddle of the Post. Release the Handle so that ratchet catches on the Pawl.
- Insert Locking Pin into the opening located next to the Stop Tab. Secure the Locking Pin in place by inserting the Safety Pin into the small hole on the end of the Locking Pin. See Figure B.

- Gently lower the vehicle with the floor jack. It may drop down a very small amount until the ratchet catches on the Pawl. Repeat on other side.
WARNING! TO PREVENT SERIOUS INJURY: Set both the Jack Stands to the same height. - Determine if the vehicle is stable. If not, raise the vehicle and reposition the Jack Stands.
Removing the Jack Stands
- Raise the vehicle with a floor jack to take the load off of the Jack Stands.
- Remove Safety Pin from the Locking Pin. Remove the Locking Pin from the Base.
- Raise the Handle on the Jack Stands and lower the Posts.
- Remove the Jack Stands. Use the floor jack to safely lower the vehicle to the ground.
WARNING! TO PREVENT SERIOUS INJURY: Do not use Jack Stands as a permanent stand for the vehicle. Use them only while making repairs, then immediately lower vehicle to the ground
Maintenance and Servicing
Procedures not specifically explained in this manual must be performed only by a qualified technician.
WARNING
TO PREVENT SERIOUS INJURY FROM TOOL FAILURE:
Do not use damaged equipment.
If abnormal noise or vibration occurs, have the problem corrected before further use.
- Periodically clean the bottom of the Bases and top of Posts of any dirt, grease, or debris.
- Before each use, inspect the general condition of the Jack. Check for broken, cracked, or bent parts, loose or missing parts, and any condition that may affect the proper operation of the product. Do not use damaged equipment. Discard Jack Stand if damaged or deformed.
- Periodically lubricate release handle pivot points.
Note: If product has no serial number, record month and year of purchase instead.
Note: Some parts are listed and shown for illustration purposes only, and are not available individually as replacement parts. Parts may not be interchangeable.
Specify UPC number when ordering:
- 3-Ton Black: 193175439260
- 3-Ton Orange: 193175438584
- 3-Ton Yellow: 193175438591
- 3-Ton Green: 193175438492
- 3-Ton Blue: 193175438607
- 6-Ton Black: 193175439383
- 6-Ton Orange: 193175438546
- 6-Ton Yellow: 193175438539
- 6-Ton Green: 193175438515
- 6-Ton Blue: 193175438577
- 12-Ton Black: 193175439246
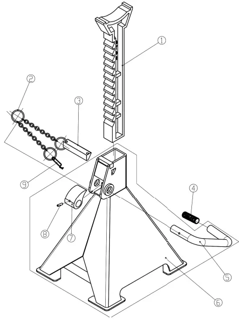
Parts List and Assembly Diagram

| Part | Description | Qty |
| 1 | Post | 1 |
| 2 | Split Ring | 1 |
| 3 | Locking Pin | 1 |
| 4 | Handle Grip | 1 |
| 5 | Handle | 1 |
| 6 | Base | 1 |
| 7 | Pawl | 1 |
| 8 | Pin | 1 |
| 9 | Safety Pin | 1 |
PLEASE READ THE FOLLOWING CAREFULLY
THE MANUFACTURER AND/OR DISTRIBUTOR HAS PROVIDED THE PARTS DIAGRAM IN THIS MANUAL AS A REFERENCE TOOL ONLY. NEITHER THE MANUFACTURER NOR DISTRIBUTOR MAKES ANY REPRESENTATION OR WARRANTY OF ANY KIND TO THE BUYER THAT HE OR SHE IS QUALIFIED TO MAKE ANY REPAIRS TO THE PRODUCT OR THAT HE OR SHE IS QUALIFIED TO REPLACE ANY PARTS OF THE PRODUCT. IN FACT, THE MANUFACTURER AND/OR DISTRIBUTOR EXPRESSLY STATES THAT ALL REPAIRS AND PARTS REPLACEMENTS SHOULD BE UNDERTAKEN BY CERTIFIED AND LICENSED TECHNICIANS AND NOT BY THE BUYER. THE BUYER ASSUMES ALL RISK AND LIABILITY ARISING OUT OF HIS OR HER REPAIRS TO THE ORIGINAL PRODUCT OR REPLACEMENT PARTS THERETO, OR ARISING OUT OF HIS OR HER INSTALLATION OF REPLACEMENT PARTS THERETO.
Limited 90 Day Warranty
- Harbor Freight Tools Co. makes every effort to assure that its products meet high quality and durability standards, and warrants to the original purchaser that this product is free from defects in materials and workmanship for the period of 90 days from the date of purchase. This warranty does not apply to damage due directly or indirectly, to misuse, abuse, negligence or accidents, repairs or alterations outside our facilities, criminal activity, improper installation, normal wear and tear, or to lack of maintenance. We shall in no event be liable for death, injuries to persons or property, or for incidental, contingent, special or consequential damages arising from the use of our product. Some states do not allow the exclusion or limitation of incidental or consequential damages, so the above limitation of exclusion may not apply to you. This warranty is expressly in lieu of all other warranties, express or implied, including the warranties of merchantability and fitness.
- To take advantage of this warranty, the product or part must be returned to us with transportation charges prepaid. Proof of purchase date and an explanation of the complaint must accompany the merchandise. If our inspection verifies the defect, we will either repair or replace the product at our election or we may elect to refund the purchase price if we cannot readily and quickly provide you with a replacement. We will return repaired products at our expense, but if we determine there is no defect, or that the defect resulted from causes not within the scope of our warranty, then you must bear the cost of returning the product.
- This warranty gives you specific legal rights and you may also have other rights which vary from state to state.
ABOUT COMPANY
- 26677 Agoura Road
- Calabasas, CA 91302
- 1-888-866-5797





















