NEREBY Rail Birch 40cm


English
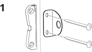
Assembly should be carried out by a qualified person, because wrong assembly may lead to that the furniture will topple over and cause injury or damage. As wall materials vary, screws for fixing to wall are not included. For advice on suitable screw systems, contact your local specialized dealer.




















