L – Power input for live
N – Power input for neutral
IN – Input for load power supply type (ie. if 120VAC is connected to IN, then OUT will output 120VAC to the load)
OUT – Output for load (This is directly connected to your Loads input to receive power).
S1 – External switch control for load
S2 – External switch control for load
Important safety information.
Please read this and other device guides carefully.The failure to follow the recommendations set forth by Aeotec Limited may be dangerous or cause a violation of the law. The manufacturer, importer, distributor, and / or reseller will not be held responsible for any loss or damage resulting from not following any instructions in this guide or in other materials.
Keep product away from open flames and extreme heat. Avoid direct sun light or heat exposure.
110/120 volt editions of Nano Switch cannot exceed 15 amps. 220/230/240 volt editions should not exceed 10 amps.
Install the Nano Switch.
Nano Switch installs behind a lighting switch or a momentary push button. It works with only 3-wire (with neutral) lighting setups, though each installation of Nano Switch is accordingly slightly different:
1. Shut off the main circuit breaker of your home for safety during the installation and ensure the wires are not short circuited during the installation which will cause damage to the Nano Switch.
Note: Your home’s main circuit breaker must support the overload protection for safety.

2. Preparing connection wires
14 AWG power wires for Input / Output.
18 AWG copper wires for external manual switch.
Use the wire stripper cut the metallic part of the connection wire and make sure the length of the metallic part is about 5mm.

Note: All connection wires needs to be flexible cable.
Wiring diagram of 120/230VAC power input.

In some cases, you may have some loads just only can be used on the voltage of 24VDC and hope that it still can be controlled by the Nano Switch, so please refer to the following diagram to achieve this:
Wiring diagram of 120/230VAC power input connection to 24VDC power output.

Note: The “IN” terminal should be connected to the “-” of 24VDC input.
Warning: Nano Switch ZW116 is not compatible with this configuration, you must use Nano Switch ZW139 without energy reading.
Wiring diagram of 24VDC power input.
Since the Nano Switch also supports the 24VDC power input, so you can use it to control the loads that powered by 24VDC.

If the output loads should be only powered by AC120V or AC230V, you can change the wire connection as below:
Wiring diagram of 24VDC power input to 120/230VAC power output.

Note: The “IN” terminal should be connected to the “Live” of AC 120V/230V power wire.
Warning: Nano Switch ZW116 is not compatible with this configuration, you must use Nano Switch ZW139 without energy reading.
Wiring diagram of 3-Way connection for the external manual switch.

3. Auto-Detect external switches connected.
Toggle your external switch once to have your Nano Switch detect the correct connected switch. If your external switch still isn’t working, you’ll need to set the detection mode again.
Re-detect S1 external Switch
- Tap the Nano button 4x times within 1-2 seconds which will force Nano to enter External Switch detection mode. (LED will flash blue)
- Flip your external switch once, then wait at a minimum 10 seconds before you flip the switch again.
- Now test your external switch.
Re-detect S2 external switch
- Tap the Nano button 6x times within 1-2 seconds which will force Nano to enter External Switch detection mode. (LED will flash green)
- Flip your external switch once, then wait at a minimum 10 seconds before you flip the switch again.
- Now test your external switch.
a. Live/Hot wire connection: Connect the Live/Hot wire to the “L” terminal on the Nano Switch.
b. Neutral wire connection: Connect the Neutral wire to the “N” terminal on the Nano Switch.
c. Load wire connection: Connect the Load wire to the “OUT” on the Nano Switch.
d. External/manual Switch connection: Connect 2 18AWG wires to the “S1” and “S2” on the Nano Switch.
e. External/manual Switch connection: Connect 2 18AWG wires form the 2 terminals on the External/manual Switch to the Live wire.

Note: This is the physical connection diagram for 120/230VAC power input.
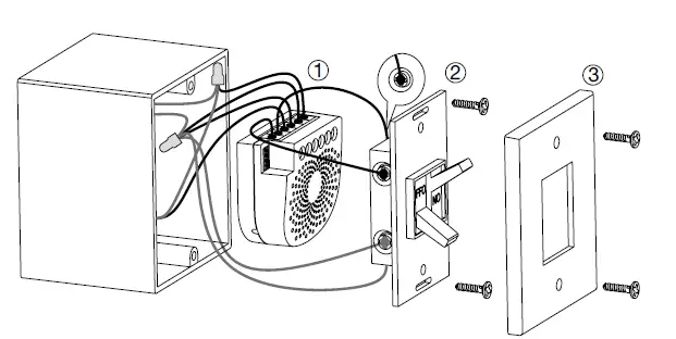
5. Mounting the gang box.
1. Position all wires to provide room for the device. Place the Nano Switch inside the gang box towards the back of the box.
2. Position the antenna towards the back of the box, away from all other wiring.
3. Reinstall the Nano Switch to the gang box.
4. Reinstall the cover onto the gang box.

Note: 1. The gang box should be sized 3×2×2.75 inch / 75×50×70 mm or larger, minimum volume 14 in / 230cm .
2. Use flexible copper conductors only.
6. Restore Power.
Restore power at the circuit breaker or fuse.

Quick Start.
Adding your Nano Switch to a Z-Wave network.
After your Nano Switch is installed and powered on, you are now able to manually control the Nano Switch to turn it On/Off directly via pressing your Nano Switch’s Action Button, it is now time to add your Nano Switch to the Z-Wave network. To set your Z-Wave gateway/controller into pairing mode, please refer to the respective section within your controller instruction manual.
1. Set your Z-Wave controller into pairing mode.
2. Press the Action Button on the Nano Switch once or toggle the external manual switch once, the green LED (non-secure indication) will blink to indicate the Nano Switch is entering into pairing mode.
3. If the Nano Switch has been successfully added to your Z-Wave network, its RGB LED will be solid. If the pairing was unsuccessful, the red LED will be on for 2 seconds and then remain a colorful gradient. Repeat the instructions above
from step 1.
With your Nano Switch now working as a part of your smart home, you’ll be able to configure it from your home control software/phone application. Please refer to your software or gateway user guide for further instructions on configuring Nano Switch to your needs.
The colour of RGB LED will change according to the output load power level:
| Version | LED indication | Output (A) |
| US | Green | [0A, 7.5A) |
| Yellow | [7.5A, 13.5A) | |
| Red | [13.5A, 15.5A) | |
| AU | Green | [0A, 5A) |
| Yellow | [5A, 9A) | |
| Red | [9A, 10.5A) | |
| EU | Green | [0A, 5A) |
| Yellow | [5A, 9A) | |
| Red | [9A, 10.5A) |
Removing Nano Switch from a Z-Wave network.
Your Nano Switch can be removed from your Z-Wave network at any time. You’ll need to use your Z-Wave network’s main controller. To set your Z-Wave controller/gateway into removal mode, please refer to the respective section within your controller instruction manual.
1. Set your Z-Wave controller into removal mode.
2. Press the Action Button on the Nano Switch once or toggle the external manual switch 3 times in fast succession.
3. if the Nano Switch has been successfully removed from your Z-Wave network, its RGB LED will remain colourful gradient. If the removal was unsuccessful, the RGB LED will still be solid (following the state of the output load), repeat the instructions above from step 1.
Advanced functions.
Changing mode on the External Switch/Button Control.
The Nano Switch can be controlled via 2-state (flip/flop) external/manual switch, momentary push button or the 3-way switch. To automatically detect and set the mode to the appropriate type of manual switch wired into Nano Switch, toggle the button on the manual switch once and wait 2 seconds for the Nano Switch to detect the type of manual switch.
You can also set the external switch mode through Configuration Command Class.
Parameter 120 [1 byte] (for S1) and Parameter 121 [1 byte] (for S2) is the parameter that will set one of the 3 different modes. You can set this configuration to:
(0) Unknown Mode
(1) 2-state switch mode
(2) 3-way switch mode
(3) Momentary push button Mode
(4) Enter auto switch detection mode

Compatible external switches and their use case.
Our Nano Switch currently only supports 3 different external Wall Switches:
- Standard Toggle Switch (2-way / 3-way / 4-way)
– Toggle UP (high voltage) – toggles On.
– Toggle DOWN (low voltage) – toggles Off. - Momentary Push Button
– Tap once – toggle On / Off.
– Press and Hold for 20 seconds or more – factory reset Nano Switch. - WallSwipe for Nano
– Tap area – depending on the area you tap, you can toggle ON/OFF.
– Swipe up gesture – turn on lights.
– Swipe down gesture – turn off lights.
Touch panel control.
As you can see that the Nano Switch’s surface has a pin port, this port is used to connect the Touch panel. When you have already connected it to the Nano Switch, you will be possible to control the Nano Switch through the Touch panel directly.

Monitoring Energy Consumption.
The Aeotec Nano Switch can report wattage energy usage or kWh energy usage to a Z-Wave control point when requested. If this function is supported by the control points, the energy consumption will be displayed in the user interface of the control points. (The specific Z-Wave commands supporting energy monitoring are the Meter Command Class. Automatic reports are sent to association group 1, which is setup via the Association Command Class.) Please consult the operation manual for these control points for specific instructions on monitoring the Nano Switch.
Note: The model ZW139 Nano Switch does not have the ability to monitor energy consumption. The model ZW116 Nano Switch supports the energy metering feature and you can see the words “with Energy Metering” on its packaging box.
Security or Non-security feature of your Nano Switch in Z-Wave network.
Including Nano Switch as a non-secure device:
If you want your Nano Switch as a non-secure device in your Z-Wave network, press the Action Button once on Nano Switch when you pair it to your gateway.
If inclusion is successful, the green LED will be on for 2 seconds, and then return to a solid indication. If inclusion is unsuccessful, the red LED will be on for 2 seconds and then return to a colorful gradient.
Including Nano Switch as a secure device:
In order to take full advantage of the Nano Switch, you will want your Nano Switch as a security device that uses encrypted messages to communicate in your Z-wave network. A security enabled controller/gateway (or Z-Wave Plus controller) is required.
1. Set your Z-Wave Plus controller into pairing mode.
2. Press the Action Button 2 times within 1 second on the Nano Switch, the blue LED (secure indication) will blink to indicate the Nano Switch is entering into secure pairing mode.
3. If the Nano Switch has been successfully added to your Z-Wave network, its RGB LED will be solid. If the pairing was unsuccessful, the red LED will be on for 2 seconds and then remain a colorful gradient, repeat the instructions above
from step 1.
Reset your Nano Switch.
If at some stage, your primary controller is missing or inoperable, you may wish to reset all of your Nano Switch’s settings to their factory defaults.
To do this, press and hold the Action Button for 20 seconds and then release it. Your Nano Switch will now be reset to its original settings, and the green LED will be solid for 2 seconds and then remain the colorful gradient status as a confirmation.



















