SNOWJOE SBJ6-GA-RM Gutter Cleaning Instruction Manual
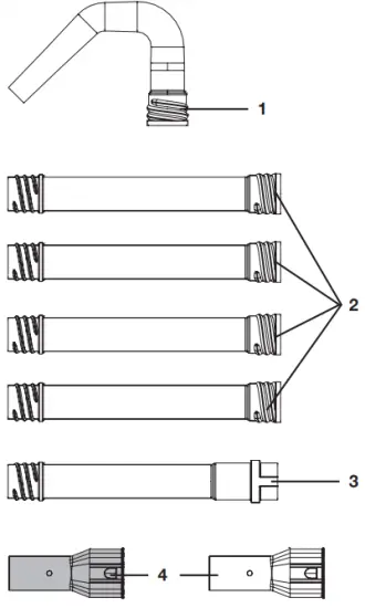
Know Your Gutter Cleaning Attachement
Check to make sure that all of the below items in the carton contents list are supplied. Inspect the parts carefully to make sure no breakage or damage occurred during shipping. If you find damaged or missing parts, DO NOT return the unit to the store. Please call the Snow Joe® + Sun Joe® customer service center at 1-866-SNOWJOE (1-866-766-9563).

- Gutter tube nozzle (1)
- Gutter tube extension (4)
- Gutter tube adapter (1)
- Gutter tube connector (2)
BLACK
Gutter tube connector
(for use with models SBJ601E +
SBJ603E + SBJ605E)
GREEN
Gutter tube connector
(for use with model iONBV)
Assembly + Operation
WARNING! Before using this attachment, all operators must read the original product manual accompanying their blower vac so that they fully understand how to use the equipment properly. Follow ALL safety instructions as outlined in this manual. Failure to follow these safety instructions can result in serious personal injury.
CAUTION! All operators must wear close-fitting clothing, safety goggles, and a dust mask when using this attachment on their electric blower. Keep all bystanders and pets a safe distance away from the work area. Beware of foreign objects that could be thrown by the blower.
- DO NOT operate the blower with this attached gutter cleaner when fatigued.
- DO NOT overreach or stand on an unstable support. Keep proper footing and balance at all times.
- Never direct airflow towards bystanders. Always be aware of the direction in which the debris will be thrown.
- Use a face filter mask to avoid breathing dust and debris.
- Attach the gutter kit as shown in Fig. 1. Connect the A, B, and C components by screwing them together. Then snap the A, B and C assembly into D, and then snap the completed gutter atttachment into the electric blower.

NOTE: Use only enough gutter tube extensions to comfortably reach the inside of the rain gutter you wish to clear. - The gutter tube nozzle (A) can be adjusted to any desired direction by rotating the gutter tube connecter (D) as shown in Fig. 2. Gutter cleaning applications will vary. We recommend you try various nozzle positions until you find the one that works most effectively with your home’s gutter design.

NOTE: If you have any questions, please call the Snow Joe® + Sun Joe® customer service department at 1-866-SNOWJOE (1-866-766-9563) for assistance.
SNOW JOE® + SUN JOE® REFURBISHED GOODS WARRANTY
GENERAL CONDITIONS:
Snow Joe® + Sun Joe® operating under Snow Joe®, LLC warrants this refurbished product to the original purchaser for 90 days against defects in
material or workmanship when used for normal residential purposes. If a replacement part or product is needed, it will be sent free of charge to the original purchaser except as noted below.
The duration of this warranty applies only if the product is put to personal use around the household. It is the owner’s responsibility to correctly perform all maintenance and minor adjustments explained in the owner’s manual.
HOW TO OBTAIN YOUR REPLACEMENT PART OR PRODUCT:
To obtain a replacement part or product, please visit snowjoe.com/help or email us at help@snowjoe. com for instructions. Please be sure to register
your unit beforehand to speed up this process. Certain products may require a serial number, typically found on the decal affixed to the housing or guard of your product. All products require a valid proof of purchase.
EXCLUSIONS:
- Wearing parts like belts, augers, chains and tines are not covered under this warranty. Wearing parts can be purchased at snowjoe. com or by calling 1-866-SNOWJOE (1-866- 766-9563).
- Batteries are covered in full for 90-days from the date of purchase.
Snow Joe® + Sun Joe® may from time to time change the design of its products. Nothing contained in this warranty shall be construed as obligating Snow Joe® + Sun Joe® to incorporate such design changes into previously manufactured products, nor shall such changes be construed as an admission that previous designs were defective.
This warranty is intended to cover product defects only. Snow Joe®, LLC is not liable for indirect, incidental or consequential damages in connection with the use or misuse of the Snow Joe® + Sun Joe® products covered by this warranty. This warranty does not cover any cost or expense incurred by the purchaser in providing substitute equipment or service during reasonable periods of malfunction or non-use of this product while waiting for a replacement part or unit under this warranty. Some states do not allow exclusions of incidental or consequential damages so the above exclusions may not apply in all states. This warranty may give you specific legal rights in your state.
HOW TO REACH US:
We’re here to help Monday through Friday from 9AM to 7PM EST and Saturday and Sunday 9AM to 4PM. You can reach us at 1-866-SNOWJOE (1
866-766-9563), online at snowjoe/com, via email at [email protected] or tweet us @snowjoe.
EXPORTS:
Customers who have purchased Snow Joe® + Sun Joe® products exported from the United States and Canada should contact their Snow Joe® + Sun Joe® distributor (dealer) to obtain information applicable to your country, province or state. If for any reason, you are not satisfied with the distributor’s service, or if you have difficulty obtaining warranty information, contact your Snow Joe® + Sun Joe® seller. If in the event your efforts are unsatisfactory, please reach out to us directly.




















