Seagate Exos 4U Enclosure Rackmount
Complete installation prerequisites
The rackmount rails are designed to bear the maximum weight of the storage enclosure when it is properly mounted in a standard rack cabinet. You can install multiple storage enclosures in a single rack cabinet.
CAUTION: You must use only the supplied rail kit and related mounting hardware.
To complete installation prerequisites:
- Prepare the host system for installation by obtaining access to the following items:
- A functioning host bus adapter
- Known good cables for host connection that meet storage enclosure requirements
- The provided right-angle power cords that meet power supply unit specifications
- Familiarize yourself with system configuration requirements and the layout of storage enclosure modules.
- Obtain the following:
- An anti-static wrist or ankle strap for handling static-sensitive components
- A static-protected environment for temporary storage of the storage enclosure and the drive modules
- A T10 screwdriver, 6-in length, and #2 Phillips-head magnetic screwdrivers, 6- and 12-in length
- A retractable tape measure
- A mechanical lift with sufficient clearance and capable of safely lifting the storage enclosure without drive modules
- Ensure the rack cabinet is suitable for use with the storage enclosure.
- A rack cabinet capable of holding 4U form factors, leveled in all planes with respect to each other
- A maximum depth of 43.35 inches (1101mm) from back of front post to maximum extremity, excluding cabling and door closure considerations
- A rack cabinet that causes a maximum back air pressure of 5 pascals (0.5mm water gauge)
- Weight capacity for the total number of storage enclosures installed, using a maximum of 310 lb (140kg) per storage enclosure
NOTE Allocate and maintain a 1.7m or 5.58 ft safe distance to mount or remove a storage enclosure into a rack.
- Secure sufficient staff to assist with the installation. Minimum staff:
- One qualified service technician for the complete installation procedure
- One spotter to assist with the lift and to observe the installation from the rear of the rack cabinet
- A total of two to four people to unpack the storage enclosure and move it onto the mechanical lift
Install the rackmount rail kit
The storage enclosure requires rackmount hardware for installation into a standard 1.2m rack and occupies four EIA units of rack space (17.78 cm or 7 inches) per unit. The rail kit contains a left and right rail. Product function and user safety hinge on their proper installation.
NOTE Allocate and maintain a 1.7m or 5.58 ft safe distance to mount or remove a storage enclosure into a rack.
Separate the inner rails from the outer and mid rails
The rails ship with an inner rail inside each of the outer and mid rail sub-assemblies. You must separate them before attaching outer and mid rail sub-assemblies to the rack cabinet and inner rails to the storage enclosure. 
Description
| Item | Description | Item | Description |
| 1 | Front mount bracket | 6 | End cap |
| 2 | Outer rail | 7 | Slotted screw holes |
| 3 | Ball bearing retainer | 8 | T-pin keyholes |
| 4 | Rear mount bracket | 9 | Safety lock |
| 5 | Mid rail, slides within outer rail | 10 | Inner rail |
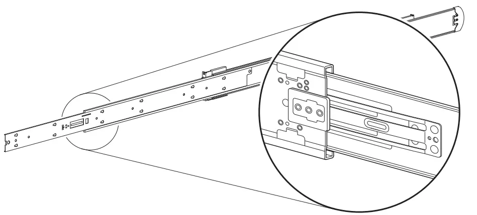
Figure 1 Separated left rail assembly, inner sides facing
To separate the inner rails from the outer and mid rail sub-assemblies:
- After removing each rail assembly from its packaging, orient the one with the L embossed on it to your left, the rail assembly with the R embossed on it to your right, and embossed arrows for both pointing up.
- Examine the rails to distinguish each component, particularly the ball bearing retainer and mid rail.
WARNING! Carefully inspect the rails. Do not use damaged or warped rails. Return them. Rail failure can allow the storage enclosure to fall and result in serious injury since the load on them can exceed 300 lb (136 kg). - (Optional) Clip an end cap into the slots at the rear outer side of each rail, locking it in place.
- Extend the mid and inner rail on the outer rail of the left rail assembly until the safety lock engages with a click.

Figure 2 Extension of left inner rail beyond mid rail - Turn the left rail assembly over, then press the safety lock to disengage the inner rail.

Figure 3 Location of inner rail safety lock - Slide out the left inner rail until it separates from the outer rail subassembly, setting it aside.
- Turn the left outer rail subassembly back over, then locate the mid rail release switch.

Figure 4 Location of mid rail release switch lever - Rotate the mid rail release switch lever to release it, then slide the left mid rail back until fully retracted onto the outer rail.
- Set aside the left outer rail subassembly near the left inner rail.
- Separate the right rail using the same process, keeping the separated right rails in an alternate location as the mirror image of the separated left rails.
- Inspect the rails once again for any damage or warping. If you locate either, return them in their shipping carton.
Adjust the outer rails to the rack cabinet
You must correctly attach the outer rails to the rack cabinet. After successful installation, the storage enclosure must slide smoothly on the rails from fully inserted, out to the service position, and back again. 
To adjust the outer rails to the rack cabinet:
- Facing the left side of the rack cabinet, measure the distance of the post-to-post depth between the inner side of the rear and front rack posts.

Figure 5 Distance measurement of rack inside post-to-post depth - Select the left outer rail assembly, rotating it so you face the mid rail and the outer rail is facing away from you.
- Rotate the mid rail release switch lever, then extend the mid rail until it locks.
- If the distance you measured is not between the default 34 and 35 inches, use a #2 Phillips-head screwdriver to remove and set aside all four rear mount bracket setscrews.

Figure 6 Default location of outer rail adjustment setscrews - Measure the rail distance from the inside of the front mount bracket to inside of the back mount bracket to determine if it matches the distance between rack posts.

Figure 7 Measurement of rail from rear to front mount bracket - If the distance does not match, relocate the rear mount bracket to within an inch of the post-to-post depth distance you recorded and align the rear mount bracket holes to the demarked holes on the outer rail. For example, if you recorded 27.5 inches, you would use the 27- and 28-inch holes marked on the rails.

Figure 8 Sample adjusted distance for outer rail setscrews - Insert and tighten each setscrew with a #2 Phillips-head screwdriver to a torque of 12 lbf-in (1.36 N-m), then perform a fit check to validate the correct rail length.
- Repeat the process for the right outer rail, using the proper orientation for the rack cabinet and rail.
- Turn over the right outer rail assembly to access the inner side of the rear outer rail, then locate the CMA B bracket attachment holes.
IMPORTANT Orient the rail with the bracket front to your right, the rounded rear of the bracket to your left, and the outer rail away from you. - Select the CMA B bracket from the CMA box.
- Attach the CMA B bracket with the proper orientation to the right outer rail using four (4) M4 Panhead screws, tightening with a #2 Phillips-head screwdriver to a torque of 18 lbf-in (2.0 N-m).

Figure 9 Alignment of CMA B bracket to rear outer rail bracket holes alignment and attachment
Install the outer rails in the rack cabinet
WARNING! If you do not properly install and securely fasten the rack rails according to this procedure, you risk serious personal injury and could damage the storage enclosure.
Attach the outer rack rails in 4U increments. Select the location for the outer rails based on the following factors:
- Rack system safety precautions
- Position in the rack
- Population of the storage enclosure, full or partial
Once you determine the appropriate position in the rack cabinet, reread the rack system safety precautions, then proceed to install the outer rails. The following task assumes your rack posts have square mounting holes. 
To install the outer rails in the rack cabinet:
- Verify that you assembled the rack rails according to prior tasks, orienting it with embossed arrows pointing upward.
- Complete the following actions to insert the right outer rail assembly as shown to attach it to the rear post on the right side of the rack cabinet:
- Insert the right outer rail assembly, adjusting the rear mount bracket to the bottom of the allotted 4U space.
- Clip the rear mount bracket spring onto the rear rack post, then confirm that the rear mount bracket seats fully in the rear rack post mounting holes.
- Secure the rear rack rail flange to the rack column with two (2) Truss head screws, then tighten each screw with a #2 Phillips-head screwdriver to a torque of 35 lbf-in (3.95 N-m).

Figure 10 Attach the rear of the outer right rail assembly - (Optional) To release the rear mount bracket, press the release lever with the PUSH label and realign the rail.
- Complete the following actions to attach the front of the right outer rail assembly to the right front post of the rack cabinet:
- Slide the front mount bracket into the front rack post so that it occupies the bottom of the allotted 4U space and it aligns with the rear mount bracket.
- Clip the front mount bracket spring onto the front rack post so that the outer sleeve, which mates to either a round or square mounting hole, snaps fully into place.
- Confirm that the mounting bracket fully seats in the mounting holes by verifying that the outer sleeve fully extends and is flush with the fixed inner pin.
- Confirm that the keyed latch on the front mount bracket snaps onto the front rack post.
- (Optional) To release the front mount bracket, press the keyed latch outward and realign the rail.
- Insert a Truss head screw in the hole just below the bottom rail pin seated in the rack post.

Figure 11 Right front post detail of the inserted outer right rail assembly - Secure the front mount bracket by tightening the screw with a #2 Phillips-head screwdriver to a torque of 35 lbf-in (3.95 N-m).
- Complete the following actions to insert cage nuts in the right front rack post:
- Insert a cage nut in each front rack post at the second-from-the-top hole in the allocated 4U space, then make sure the nut spring is fully engaged in the post hole.
- (Optional) Insert a cage nut in the front rack post just below it in the allocated 4U space, then make sure the nut spring is fully engaged in the post hole. Reserve this cage nut for use during non-operating transport of the storage enclosure.

Figure 12 Location for cage nut near top of allocated 4U space
- Repeat the entire procedure for the left outer rail assembly and the perform a fit check to validate each rail’s correct length and location within the rack cabinet.
Attach the inner rails to the storage enclosure
You must correctly attach the inner rails to the storage enclosure to bear the weight of its contents.

To attach the inner rails to the storage enclosure:
- Examine the inner rails, locating the smooth inner edge of the rail, the flanged outer edge, and the rear top notch.

Figure 13 Left and right inner rail edge details - Orient the left inner rail so that the flat face at the front of the rail is to your right, the top notch is to your left, and the smooth inner edge is away from you.
- Face the left storage enclosure sidewall, then align the left inner rail’s key holes to the six (6) pairs of sidewall T-pins.

Figure 14 Left inner rail alignment to storage enclosure chassis - Slide the inner rail toward the rear until it locks against the T-pins and the screw holes align.

Figure 15 Lock of rail against T-pins, alignment of screw holes to chassis sidewall - Secure the rail by inserting and tightening five (5) M3 screws with the T10 Torx to a torque of 12 lbf-in (1.36 N-m).
- Repeat the process for the right inner rail, using the proper orientation.
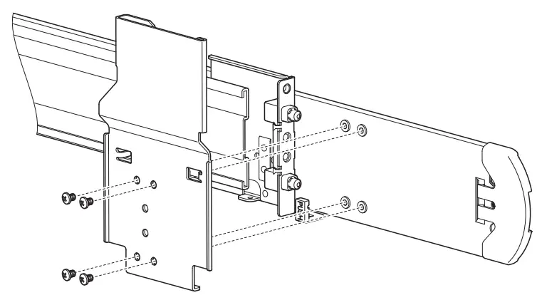
- Locate the CMA A bracket in the CMA shipping box, then orient it so you can see the part number etched on it.
- Facing the rear of the storage enclosure, locate the two holes on the right side of the chassis, above the CMA shelf.
- Attach the CMA A bracket so that the face of the bracket is flush against the mounting flange of the chassis.
- Insert and tighten two (2) M4 Panhead screws with a #2 Phillips-head screwdriver to a torque of 12 lbf-in (1.36 N-m).

Figure 16 Attachment of the CMA A bracket
Install the storage enclosure
After you successfully complete the installation of the rackmount rail kit, you can mount the storage enclosure into the rack cabinet.
WARNING! Do not attempt to install the storage enclosure into the rack cabinet with drive modules preloaded in the slots. Serious injury and damage could result. Unload any drive modules in storage enclosure slots to an static-protected area. Do not further lighten the storage enclosure by removing other components.
Mount the storage enclosure into the rack cabinet
WARNING! Serious injury and mechanical failure can result if you do not adhere to rack cabinet safety precautions.
- To avoid risk of death or injury from tipping the rack, follow all rack installation guidelines, securing the rack cabinet to the floor with a concrete anchor kit.
- To avoid catastrophic failure of the rack assembly, never exceed rack cabinet weight limits.
- Entirely support the storage enclosure with the mechanical lift until the storage enclosure is in the storage position.
- Follow local occupational health and safety guidelines and meet all requirements for manual material handling.
Mounting the storage enclosure into the rack cabinet is the most critical of the installation procedures and requires your full attention. Safety and hardware longevity depend on the smooth function of the rails and correct implementation of this task.
- Make sure there is sufficient clearance for the storage enclosure when fully extended in the service position and for a technician or system administrator.
- Observe rack cabinet weight limits.
- Fill the rack cabinet from the bottom to the top, with the heaviest equipment at the bottom.
- Make your approach with the mechanical lift level, straight, and parallel to the rack cabinet. Any skew, warp, or tilt prevents the inner rails attached to the storage enclosure from properly engaging the outer rails in the rack cabinet.
| Required equipment | Qty |
| Retractable tape measure | 1 |
| Mechanical lift | 1 |
| Storage enclosure with attached inner rails | 1 |
| Rack cabinet with installed outer and mid rails | 1 |
To mount the storage enclosure into the rack cabinet:
- Confirm that the rack rails are properly assembled and securely installed correctly in the rack cabinet.
- Confirm that the storage enclosure does not contain any drive modules.
- Complete the following actions to position the lift and the storage enclosure:
- Using proper safety precautions, position the storage enclosure on the lift perpendicular to the lift wheels.
- Move the lift into position perpendicular to the rack cabinet so that the storage enclosure is parallel to the opening and is a minimum of 5 to 7 inches (12.7cm to 17.78cm) away from the rack cabinet.
- Adjust the lift height to be as close as possible to the allocated 4U location.
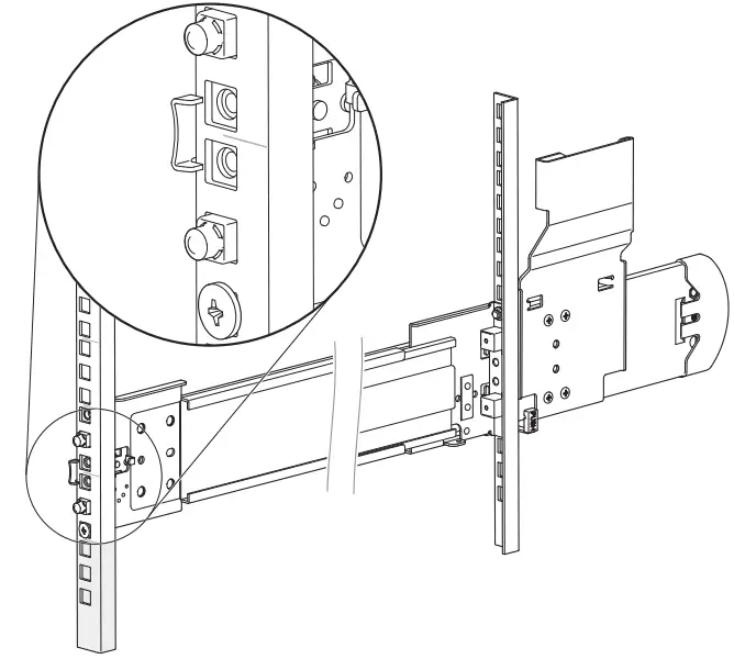
- Moving only the storage enclosure, position it so the attached inner rails align with the mid rails in the rack.

Figure 17 Align inner rails with mid and outer rails, detail
- Complete the following actions to prepare the rails to receive the storage enclosure:
WARNING! Failure to properly seat the inner rail on the ball bearing retainers can cause integration failure and immediate or gradual mechanical failure. Serious injury could result.- Facing the cabinet, verify that both the top and bottom ball bearing retainers are fully seated.
- Slide both mid rail slides smoothly on the ball bearing retainers until they are fully forward and engage the inner leaf spring on the mid rail nearest the front mount bracket.
IMPORTANT Retention against the inner leaf spring is essential for proper rail sequencing and full engagement of the mid rail on the inner rail.
Figure 18 Leaf spring latch engaged, extension of mid rail to fully forward and locked position - After releasing the safety lock on the outer rails, extend both left and right mid rails roughly 3 to 5 inches (7.62cm to 12.7cm) beyond the rack cabinet opening.
- Verify that both mid rails are the same distance from the rack cabinet face.
WARNING! To fine-tune any alignment adjustments, move only the storage enclosure or the mechanical lift. Do not move the mid rails or the rack cabinet. - Fine-tune the alignment between the storage enclosure and the rails, only moving the storage enclosure.
- Complete the following actions to properly secure the storage enclosure on the rails:
- Keep the storage enclosure stationary on the lift.
- Verify that both rails are as far forward as possible and that each engages the leaf spring at the front of the rail.
- Grasp the right ball bearing retainer, then continuously press it against the right mid rail to make sure it continues to engage the leaf spring at the very front of the mid rail.
- Continuously maintain pressure on the ball bearing retainer as you slide the mid rail onto the inner rail, beginning with the top of the inner rail, then the bottom of the inner rail for the right side.
- Continue maintaining pressure on ball bearing retainer while feeding the remainder of the mid rail onto the storage enclosure inner rail until it reaches the maximum extension of the right rail.
- Repeat for the left side.
- Verify full engagement, top and bottom, of the inner rails with the top and bottom ball bearing retainers.
- Verify the mid rails slide freely and smoothly on the inner rails. If they do not, this indicates misalignment and requires correction.
- Slide both mid-rails until they are fully extended in the service position and engage the safety lock.
- Complete the following actions to begin insertion of the storage enclosure into the rack cabinet:
- Facing the front of the enclosure, carefully exert even pressure on both sides of the storage enclosure front, inserting the storage enclosure until it locks into the service position with an audible click.
- Carefully lower the mechanical lift just enough so that the weight of the storage enclosure fully rests on the rails.
- Thoroughly examine the rack rails for issues such as bowing, scraping, resistance, or indicators of misalignment.
- Locate and depress both safety lock latches to release the rails.

Figure 19 Release both safety lock latches - Continue depressing the safety lock latch springs while inserting the storage enclosure into the rack just far enough to bypass the service position locks.
- Carefully exert even pressure on both sides of the storage enclosure front.
- Continue insertion all the way into the rack until the rack mounting flange is flush with the rack ears, locking the storage enclosure into the storage position. Do not force insertion, because this action could damage the rails.
- Complete the following actions to confirm the proper installation of the storage enclosure into the rack cabinet:
- Gently pull the storage enclosure outward to make sure the storage enclosure slides smoothly on its rails out to service position and returns smoothly to the storage position.
- Feel for the smooth, even function of the ball bearings in the ball bearing retainer. Any grinding indicates misalignment and requires correction, up to obtaining a new rail kit if you identify damaged bearings.
- Secure the storage enclosure flanges to the rack, fastening the top captive thumbscrew on each side until tight.
Install the CMA and crossbar
The cable management arm (CMA) is essential to the storage enclosure and allows for full extension to the service position. It also ensures efficient and effective storage enclosure connectivity. The crossbar stabilizes the rear rails, keeps them parallel to each other, and protects them from inadvertent sideways forces that could damage their function. 
To install the CMA and crossbar:
- Facing the rear of the rack cabinet, grasp the CMA bracket assembly so that arrows by embossed letters point upward and are visible to you, then fully extend the CMA bracket with the front end in your right hand.
- Route the front end of the CMA bracket assembly in your right hand along the chassis guide bracket until it clips to the CMA A bracket you previously attached to the storage enclosure chassis.

Figure 20 Attachment of the CMA bracket assembly to the CMA A bracket on the chassis - Using your right hand, push the storage enclosure slightly forward to gain better access to the CMA B bracket.
- Route the portion of the CMA bracket assembly in your left hand inward until it clips to the CMA B bracket that you previously installed on the outer rail.

Figure 21 Insertion of CMA bracket assembly into CMA B bracket on the outer rail - omplete the following actions to verify the CMA bracket installation:

Figure 22 Proper installation of the CMA bracket assembly- Verify the outer blue spring of the CMA bracket assembly securely clips to the CMA B bracket on the outer rail and that the inner blue spring securely clips to the CMA A bracket.
- Verify that all cable holders open upward and that you can read the embossed name King Slide when examining the top of each cable retainer.
- After fully retracting the chassis, tug on the CMA bracket to make sure you properly and securely installed it.
- Install the crossbar by snapping each captive thumbscrew into the lower of the two available holes, twisting to the right to tighten them and stabilize the rails.

Figure 23 Direction to tighten crossbar thumbscrews - (Optional) For non-operating transport of the rack cabinet, complete the following steps:
- Return to the front of the rack cabinet.
- Lower the pull handle, and then insert and tighten two (2) Truss-head screws per side in the available screwholes on the rack ear to a torque of 35 lbf-in (3.95 N-m). The screws secure the storage enclosure against shock and vibration.

Figure 24 Location for insertion of rack ear transport screws - Facing the rear of the rack cabinet, secure the rails by inserting and tightening an M5 screw just above each crossbar thumbscrew to a torque of 12 lbf-in (1.36N-m) to stabilize the rails against shock and vibration.

Figure 25 Location for insertion of crossbar transport screws
- Continue your initial installation by following instructions in the related Hardware Installation and Maintenence Guide.
TIP Use the QR code on the included Getting Started sheet to access related storage enclosure documentation online. © 2021 Seagate Technology LLC or its affiliates. All rights reserved. Seagate, Seagate Technology, and the Spiral logo are registered trademarks of Seagate Technology LLC in the United States and/or other countries. CORVAULT and Exos are either trademarks or registered trademarks of Seagate Technology LLC or one of its affiliated companies in the United States and/or other countries. All other trademarks or registered trademarks are the property of their respective owners. All coded instruction and program statements contained herein remain copyrighted works and confidential proprietary and trade secret information of Seagate Technology LLC or its affiliates. Any use, derivation, disassembly, reverse engineering, dissemination, reproduction, or any attempt to modify, prepare derivative works, reproduce, distribute, disclose copyrighted material of Seagate Technology LLC, for any reason, in any manner, medium, or form, in whole or in part, if not expressly authorized, is strictly prohibited. Seagate reserves the right to change, without notice, product offerings or specifications.




















