EXIT Kickback HL Rebounder User Manual

Warning! CHOKING HAZARD! – Small parts. Not for Children under 3 years old. Adult assembly required.
This product should, at all times, be used by the child under direct supervision of an adult.
OUTDOOR USE ONLY. Only for domestic use.

Introduction
Congratulations on choosing the EXIT Kickback Rebounder!
Have fun, be active and play outdoors……
That’s what keeps driving us to develop innovative, quality toys for cool kids.
We do everything possible to develop safe products for children. As our products are classed as toys, we comply with the toughest consumer safety regulations. Before launching our products onto the market, we have independent tests carried out for certification. We also continuously test our production runs and periodically have independent tests performed again as a further check. Only products which live up to the highest EXIT Toys standard are marked with and recognized by the EXIT-brand.
“We want to thank you for your custom and your confidence in this product. We’re
sure your kids will have as much fun as we did during development. Being openminded, we really appreciate all comments and ideas which will help us improve our products or develop new ones. You are invited to send your ideas to us at [email protected]”
Please visit www.exittoys.com and discover more cool new products.
The EXIT Toys team
Warnings for safe use:
- Adult supervision is required at all times when the rebounder is used by children.
- To reduce risk of entanglement, keep small children away from net area at all times.
- When properly assembled and used as intended, this rebounder is designed to provide many hours of training and playing enjoyment.
- Never let children climb on the rebounder as this can result in rebounder falling over causing serious injury or death.
- The metal frame of the rebounder will conduct electricity. Lights, extension cords, and all such electrical equipment must never be allowed to come in contact with the rebounder.
- Inspect the rebounder before each use. Make sure all parts are correctly and securely positioned and attached. Tighten any loose hardware. Replace any worn, defective, or missing parts.
- Read all instructions and complete all assembly before using.
Assembly and Installation Instructions
- Adequate overhead clearance is essential. Provide clearance for wires, tree limbs, and other possible hazards.
- Lateral clearance is essential. Place the rebounder away from walls, structures, fences, and other play areas. Maintain a clear space on all sides of the rebounder. A minimum of 3m from frame edge is recommended.
- Never set-up the rebounder in heavy rain, wind or storm conditions, especially storms.
- When moving the assembled rebounder, have at least two people evenly the frame to lift the reboundert off the ground.
- Place the rebounder on a level surface before use.
- Secure the rebounder against unauthorized and unsupervised use.
Care and Maintenance Instructions
Inspect the rebounder before each use and replace any worn, defective, or missing parts.
The following conditions could present potential hazards:
- Missing, improperly positioned, or insecurely attached frame or frame padding.
- Punctures, frays, tears, or holes worn in the rebounder mesh.
- A bent or broken frame or support system.
- Sharp protrusions on the frame or suspension.
- Loosened or missing hardware, system.
Guarantee Conditions & Service
The owner of this product has the following guarantees on the product:
- 2 years from date of purchase on the frame (regular use).
- A 3-month guarantee is given on the other parts (regular use).
- The guarantee only applies for material/construction errors of the product and/or parts thereof.
The guarantee is not applicable and/or is invalidated in the following cases:
- The rebounder has been handled without due care, has been involved in an accident, or has been fitted with non-approved parts.
- The rebounder has not been assembled as per instructions or has not been correctly maintained.
- Parts fitted afterwards do not match the rebounder’s technical specifications or original parts have not been used or have not been fitted correctly.
- The rebounder is used for professional purposes (rental, schools, clubs, etc.).
- Technical repairs to the rebounder were not carried out professionally.
- Replacement of parts were not carried out on time.
The owner of the rebounder can only claim a guarantee by presenting the original bill for the purchase to Dutch Toys Group or the dealer from whom the product was bought.
If the claim under the guarantee is refused, then all costs incurred must be paid by the owner.
Guarantee is not transferable to third parties.
Components

Assembly steps
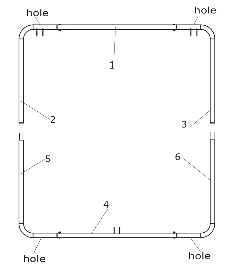
- First find the Upper Left L Pipe (2) and Upper Right L Pipe (3). Attach the Up per Left L Pipe (2) and Upper Right L Pipe (3) to the Upper Middle pipe (1) with two M8X50mm Bolts (23 ) and two M8 Locknuts (21).

- First find the Lower Left L Pipe (5) and Lower Right L Pipe (6). Attach the Lower Left L Pipe (5) and Lower Right L Pipe (6) to the Lower Middle pipe (4) with two M8X50mm Bolts (23) and two M8 Locknuts (21).
- Slide the Upper Right L Pipe (3) into the Lower Right L Pipe (6), and slide the Upper Left L Pipe (2) into the Lower Left L Pipe (5) to assemble the frame. The position of the holes in the Upper Left L Pipe (2) and Upper Right L Pipe (3) and the position of the holes in the Lower Left L Pipe (5) and Lower Right L Pipe (6) is on the same side and towards the inside.

- Use two elastics with ball (15) through the first mesh of the net (16) at each 4 corners of the frame as shown and put the elastics around the frame.
Note: First attach an elastic at the horizontal direction, then attach another elastic at the vertical direction.
- Attach all remaining elastics (15) to the frame as indicated by the arrows.

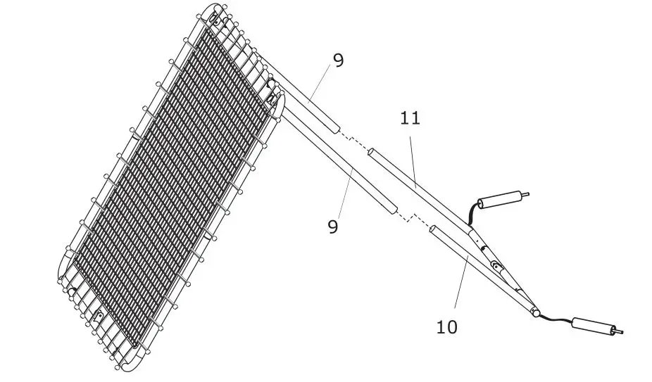
- Attach the Rear Straight Pipe (9) to the Upper Left L Pipe (2) with a M8X65mm Bolt (20) and the two Plastic Washers (22) and M8 Locknut (21). Attach another Rear Straight Pipe (9) to the Upper Right L Pipe (3) in the same way. Note: the hole of the Rear Straight Pipe (9) towards the inside.

- First find the Rear Right Pipe (11), the Rear Left Pipe (10) and the Rear middle pipe (12). Attach the Rear Right Pipe (11) and the Rear Left Pipe (10) to the Rear middle U-pipe (12) with two M8X50mm Bolts (23) and two M8 Locknuts (21).

- Slip the Rear Right Pipe (11) and the Rear Left Pipe (10) to the Rear Straight Pipe (9) until the bottom snaps into place.

- Attach the second hole of Inner Stretch Pipe (7) to the second hole of Outer Stretch Pipe (8) with the D-Plug (24). There are multi-adjustment positions, so select one according to the desired position. Note: Inserting the D-Plug (24) needs to be done from top to down. Then D-Ring round the pipe and then fixed it onto the Plug.

- Attach the Outer Stretch Pipe (8) to Rear middle U-pipe (12) with L-Pipe (25). Then attach the Inner Stretch Pipe (7) to the Lower Middle pipe (4) with a M8X60mm Bolt (26) and two M8 Plastic Washers (22) and M8 Locknut (21) the pad (1).

- Attach the Wheel (29) and Bushing (28) to the Axle (27) with M8 Washers (13) and M8 Locknut (21) as shown. Tighten the two M8 Locknuts (21) with the tool.
Then slip the Axle (27) into the Rear Right Pipe (11) and the Rear Left Pipe (10) until the bottom snaps into place.
- Attach the PAD (14) to the Frame.

- attach all the straps of the pad (14) to the Net (16).
Attach the 4 Plastic pads (17) to the Pad (14) with M4.2X19mm Self-tapping screws (18) and M4 Washers (19). Note: The self tapping bolts need to go through the Pad (14), then tighten on the hole of the U-pipe.
- This Rebounder has three adjustment angels when using the button snap adjustments and ten angles when using the D-plug (24).

- This rebounder can be reversed using the top of the frame as support on the ground. It has multi angle adjustment.

Congratulations! The EXIT Kickback Rebounder is ready to use!

Notes


Contact:
Dutch Toys Group
Edisonstraat 83, 7006RB Doetinchem
P.O. Box 369, 7000 AJ Doetinchem
[email protected]
www.exittoys.com
EXIT is a registered trade mark of Dutch Toys Group






























