Technaxx® * User Manual
FMT1200BT Transmitter with wireless
charging function
Wireless charging max. 10W wired charging max. 2.4A and FM transmission to your car radio
The manufacturer Technaxx Deutschland GmbH & Co.KG hereby declares that this device, to which this user manual belongs, complies with the essential requirements of the standards referred to the Directive RED 2014/53/EU. The Declaration of Conformity you find here: www.technaxx.de/ (in bar at the bottom “Konformitätserklärung”). Before using the device the first time, read the user manual carefully.
Service phone No. for technical support: 01805 012643 (14 cent/minute from German fixed-line and 42 cent/minute from mobile networks). Free Email: [email protected]
Keep this user manual for future reference or product sharing carefully. Do the same with the original accessories for this product. In case of warranty, please contact the dealer or the store where you bought this product. Warranty 2 years
Features
- FM Transmitter for Audio Streaming with BT technology V4.2
- Handsfree function
- Flexible goose-neck & suction cup
- Advanced 10W induction charging technology with optimized charging speed, compared to conventional 10W induction chargers
- Supports iPhone X/8/8 Plus, Samsung Galaxy S9/S8/S8 Plus/Note 8/S7/S7 Edge/ Note 7/S6/S6 Edge/Note 5 (07-2018)
- Patented clamp construction for variously Smartphone fitment
- Eliminate safety concerns with over-voltage protection & temperature control
- One-hand operation to attach or extract your phone
Technical specification
| Bluetooth | V4.2 / ~10m distance |
| BT transmitting frequency | 2.4GHz (2.402GHz–2.480GHz) |
| BT radiated output power max. | 1mW |
| FM frequency range | 87.6–107.9MHz |
| FM radiated output power max. | 50mW |
| Indicator | 2 LED lights for charging indication |
| Input power adapter | DC 12–24V (cigarette lighter socket) |
| Output power adapter | DC 5V (USB & MicroUSB) |
| Output power | Max. 10W (induction charging) 2.4A (USB port) |
| Smartphone | (W) 8.8cm maximum |
| Power adaptor cable | Length 70cm |
| Material | PC + ABS |
| Weight | 209g (without power adapter) |
| Dimensions | (L) 17.0 x (W) 10.5 x (H) 9.0cm |
| Package contents | FMT1200BT Transmitter with wireless charging function, Cigarette power adapter to Micro USB with 2.4A USB power adapter, Spare fuse, User Manual |
Introduction
This device provides you a wireless charging solution for any Smartphone that supports wireless charging. It lets you stream music and calls directly from your Bluetooth devices to the FM stereo system of your vehicle. With advanced wireless charging technology, this device delivers up to 10W standard charging capability. The chucking type structure with a maximum of 8.8cm width enables a one-hand operation to attach or extract your phone. Note: Attachment or extraction should only be done before or after driving the car. Do not attach or extract the phone while driving!
Compatible Smartphone (July 2018)
This 10W induction charger is only compatible with Samsung Galaxy S9/S8/S8 Plus/Note 8/S7/S7 Edge/ Note 7/S6/S6 Edge/Note 5 and other 10W induction charge enabled devices. iPhone X/8/8 Plus are Qi-5W induction charging and charging at its normal standard charging rate. 10W induction charging is 10% faster than 5W induction charging. For Bluetooth pairing compatibility, it supports devices up to Bluetooth version 4.2.
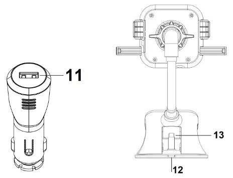
Product overview

| 1 | Induction charging area |
| 2 | First Arm |
| 3 | Second Arm |
| 4 | LED Indicator |
| 5 | LED Display & Microphone |
| 6 | Up |
| 7 | Down |
| 8 | Answer/Hang off/Play/Pause |
| 9 | Ball joint angle adjustment |
| 10 | Micro USB charging port |
| 11 | USB Output: DC 5V/2.4A (power adapter) |
| 12 | Suction cup |
| 13 | Suction cup trigger |

Installation Instruction
A: Remove the film from the bottom of the suction cup. Use a clean cloth to clean your dashboard where you want do place the holder.
Do not use soap or chemicals.
Open the suction cup trigger (13), place the holder with a little pressure on your dashboard and close the suction cup trigger (13).
Note: If the suction cup is dirty or dusty clean it with a little bit of water by applying it with your finger. When the surface is try and sticky again try again to attach the holder to your dashboard. Do not use soap or chemicals.
I want it is also possible to attach the holder to the windshield, then notice that the buttons and the display will be upside down.

B1: Connect the FM transmitter with the Micro USB cable.
B2: Plug the power adapter into the car cigarette lighter.

C: Push the second arms (3) towards

D: Place your Smartphone into the bracket with a slight push

Operating Instruction
Wireless Charging
- The two indicator LEDs will flash in RED ~3 seconds once the device is powered on.
- Before placing your Smartphone into the bracket, make the first arms (2) are separated and the second arms (3) are closed.
- If a Smartphone is being placed which does not support wireless charging, the two indicator LEDs are flashing in BLUE.
- Charging starts as soon as an effective induction field has been generated. The two indicator LEDs will blink slowly in RED and the current charging status appears on your Smartphone.
- If no connection can be established through induction, you may have to change the position of your Smartphone.
- Charging stops automatically once the battery of your device is fully charged. The two indicator LEDs will stay in BLUE.
Car charger function
- The FMT1200BT comes with an extra USB port on the power adaptor for charging. The output is DC 5V/2.4A. Connect the FMT1200BT to your Smartphone for wired charging (use your Smartphone’s USB cable).
FM transmitter function
- Tune your car radio to an unused FM frequency, then match the same frequency with the FM transmitter.
- Press the “CH” button to enter FM frequency mode, press
(up) to increase and press
(down) to decrease. - Long press
(up) to increase volume and long press
(down) to decrease volume.
Bluetooth function
- Using Bluetooth for the first time, you need to pair your Smartphone with the FM transmitter. Activate the Bluetooth function on your Smartphone and then search for a new device. When the Smartphone detects this FM transmitter named “FMT1200BT” click on it to pair. If needed use the original password “0000” to pair the device.
- In the music playing mode, when there is an incoming call, this FM transmitter will automatically switch to the telephone mode.
Handsfree function
- Press the phone button
to answer the incoming call. - Press the phone button
to hang off a current call. - Double press the phone button
to call the last caller in your call history.
Button Control
Operation | FM transmitter |
| Answer a call/ Hang up a call | Press Press |
| Play / Pause music | Press Press |
| Adjust Volume (min = 0; max = 30) | Long press press |
| Set frequency | Press CH button first, then Press Press |
| Choose music | Press Press |
Warnings:
- Improper use of this product may result in damage to this or attached products.
- Never use this product in the following conditions: Moist, underwater, near a heater or high-temperature service, indirect strong sunshine, conditions with apt falling
- Never dismantle the product.
- For charging a Smartphone with the inductive charger make sure that your Smartphone is compatible with the induction charging technology. Read the operating instructions of your Smartphone first!
- Note that mobile phone sleeves, covers, etc., and other materials between the inductive charger and the backside of your Smartphone may disturb or prevent actually the charging process.

Hints for Environment Protection: Packages materials are raw materials and can be recycled. Do not disposal of old devices or batteries into domestic
waste. Cleaning: Protect the device from contamination and pollution (use a clean drapery). Avoid using rough, coarse-grained materials or solvents or aggressive cleaner. Wipe the cleaned device accurately. Distributor: Technaxx Deutschland GmbH & Co.KG, Kruppstr. 105, 60388 Frankfurt a.M., Germany
FCC Statement
This device complies with part 15 of the FCC Rules. Operation is subject to the following two conditions:
(1) This device may not cause harmful interference, and
(2) this device must accept any interference received, including interference that may cause undesired operation.
Any changes or modifications not expressly approved by the party responsible for compliance
could void the user’s authority to operate the equipment.
NOTE: This equipment has been tested and found to comply with the limits for a Class B digital device, pursuant to Part 15 of the FCC Rules. These limits are designed to provide reasonable protection against harmful interference in a residential installation. This equipment generates, uses and can radiate radio frequency energy and, if not installed and used in accordance with the instructions may cause harmful interference to radio communications.
However, there is no guarantee that interference will not occur in a particular installation.
If this equipment does cause harmful interference to radio or television reception,
which can be determined by turning the equipment off and on, the user is encouraged to try to correct the interference by one or more of the following measures:
— Reorient or relocate the receiving antenna.
— Increase the separation between the equipment and receiver.
— Connect the equipment into an outlet on a circuit different from that to which the receiver is connected.
— Consult the dealer or an experienced radio/TV technician for help.
The device has been evaluated to meet general RF exposure requirements.
The device can be used in portable exposure conditions without restriction.
FCC ID: 2ARZ3FMT1200BT
US Warranty
Thank you for your interest in the products and services of Technaxx Deutschland GmbH & Co.KG. This Limited Warranty applies to physical goods, and only for physical goods, purchased from Technaxx Deutschland GmbH & Co.KG.
This Limited Warranty covers any defects in material or workmanship under normal use during the Warranty Period. During the Warranty Period, Technaxx Deutschland GmbH & Co.KG will repair or replace, products or parts of a product that proves defective because of improper material or workmanship, under normal use and maintenance.
The Warranty Period for Physical Goods purchased from Technaxx Deutschland GmbH & Co.KG is 1 year from the date of purchase. A replacement Physical Good or part assumes the remaining warranty of the original Physical Good or 1 year from the date of replacement or repair, whichever is longer.
This Limited Warranty does not cover any problem that is caused by:
● conditions, malfunctions or damage not resulting from defects in material or workmanship
To obtain warranty service, you must first contact us to determine the problem and the most appropriate solution for you.
Technaxx Deutschland GmbH & Co.KG
Kruppstrasse 105
60388 Frankfurt am Main, Germany
www.technaxx.de
[email protected]


















