Goldair GTD Series Electric Blanket
General Care and Safety Guide
YOUR SAFETY IS IMPORTANT TO US. PLEASE ENSURE YOU TAKE NOTE OF THE INSTRUCTIONS AND WARNINGS OUTLINED IN THIS MANUAL.
CAUTION: In order to avoid a hazard due to inadvertent resetting of the thermal cut-out, this appliance must not be supplied through an external switching device, such as a timer, or connected to a circuit that is regularly switched on and off by the utility.
- This appliance is not intended for use by persons (including children) with reduced physical, sensory or mental capabilities or lack of experience and knowledge, unless they are supervised or have been given instruction concerning the use of the appliance by a person responsible for their safety.
- Children should be supervised to ensure that they do not play with the appliance.
- If the supply cord is damaged, it must be replaced by the manufacturer, its service agent or similarly qualified persons in order to avoid a hazard.
- Use only the voltage specified on the rating label of the appliance.
- The heater must not be located immediately below a socket outlet.
- This appliance is intended for household use only and not for commercial or industrial use.
- Indoor use only.
- Use this appliance only as described in this manual. Any other use is not recommended by the manufacturer and may cause fire, electric shock or injury.
- Always unplug appliance when not in use.
- When the appliance has been unpacked, check it for transport damage and ensure all parts have been delivered. If parts are missing or the appliance has been damaged, contact the Customer Services Team.
- Do not use if there are visible signs of damage to the blanket.
- It is recommended that this Electric Blanket is plugged directly into the wall socket.
- A correctly specified, undamaged extension cord may be used with this Electric Blanket provided it is used in a safe manner.
- Do not operate with cord set coiled up as a heat build up is likely, which could be sufficient to become a hazard.
- Do not use heavy or dense over blankets as they may lead to overheating of the Electric Blanket.
- The power cord must be routed to the head of the bed to prevent being sat on or rolled on when getting in and out of the bed.
- Do not trap, wrap or fold cords between bed slats, mattress, or springs, or against walls, headboards or bed frame as this may cause damage to the cord.
- Carry out regular checks of the supply cord to ensure no damage is evident.
- Do not pinch, flex, or expose the heating wire. Damaged heating wire may cause a fire hazard or personal injury.
- Do not place power cord under carpet or cover with rugs or furniture. Arrange the cord so it cannot be tripped over.
- Do not use the Electric Blanket on a bed used by an infant, incapacitated person, paraplegic, quadriplegic, diabetic, or by any person insensitive to heat or other vulnerable persons who are unable to react to overheating.
- This product is not intended for medical use in hospitals.
- Do not use this product on a damp mattress or on a water bed.
- Do not use on an adjustable bed.
- If you find any damage to your Electric Blanket, if your Electric Blanket does not work, or is not working properly, contact the place of purchase or the Goldair Customer Services Team.
- Repair work on the Electric Blanket by unqualified persons can cause serious risk to the user. Only use a qualified electrician.
- There are no user serviceable parts installed in the Electric Blanket.
- Ensure hands are dry before handling the plug or controls.
- Do not dry clean the Electric Blanket. Do not use bleach or harsh cleaning fluids as the cleaning liquid may damage the insulation of the heating element.
- Do not use any pins, needles, safety pins or other sharp items on your Electric Blanket as they will damage the electric wiring.
- Keep all dogs, cats, and other pets away from the Electric Blanket.
- Never use the Electric Blanket to dry clothes.
- Do not tuck in the Electric Blanket as this may cause over heating and/or fire.
- The Electric Blanket can be used only with the Electric Blanket control provided by the manufacturer. Any other Electric Blanket control may cause overheating and/or fire.
- Do not unplug the product by the power cord while in use. Always turn the power off at the power outlet before you remove the plug. Remove by grasping the plug; do not pull on the cord.
- Never sleep with the blanket on in a heat setting.
- The blanket must not be powered on when folded. Always ensure the blanket is laid flat without kinks or overlaps.
- If your appliance does not work, or is not working properly, contact the place of purchase or the Customer Services Team.
Fitting your Goldair Electric Blanket
FITTING YOUR GOLDAIR TIE DOWN ELECTRIC BLANKET
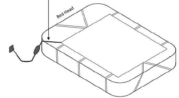
Place the Electric Blanket onto the mattress with the controller/s at the HEAD END. Ensure the heating wires do not extend under pillows or hang over the sides.
The controller connection should be under the corner of the Electric Blanket at the head end.
Ensure controller cable comes out from the blanket at a 45 degree angle towards the head of the bed. The power cord must be positioned to prevent it being sat on or rolled on when getting in or out of the bed. If the power controller cord is sat on or trapped between the bed edge and the user on a regular basis it will be damaged over time resulting in premature failure or fire.

- Unroll the tie tapes and pass the tapes under the mattress as shown in the diagram above.
- Pass the middle tie cord under the mattress and through the middle loop on the opposite side.
- Pass bottom end of tie tape under the corresponding bottom corner of the mattress then up through the centre loop of blanket and down under opposite corner of mattress and then through side loop on opposite side of the blanket.
- Repeat this process at the bed head end.
Fitting your Goldair Electric Blanket
FITTING YOUR GOLDAIR FITTED ELECTRIC BLANKET
Place the Electric Blanket on the mattress with the skirt on top of the Electric Blanket.
Ensure the end of the Electric Blanket with controls is at the top end of the bed.
The power cord must be positioned to prevent it being sat on or rolled on when getting in or out of the bed. If the controller cord is sat on or trapped between the bed edge and the user on a regular basis it will be damaged over time resulting in premature failure or fire. Cord must not be bent over the edge of the bed.

Once the Electric Blanket is in the correct position fit the skirt over the mattress.

Connect the Electric Blanket controls into the sockets on the Electric Blanket and plug into a power point and turn on. The controller must be kept outside the bed and away from external heating sources, such as heaters or bedside lamps..
TECHNICAL SPECIFICATION
Supply: 230-240VAC 50Hz
Wattage:55-60W
Wattage:60-70W
Wattage:70-80W
GTD-SS
GTD-LS, GTD-Q (x2), GTD-K (x2), GFL-K (x2)
GFTFS-S, GFTFS-DQ (x2) , GFTFS-K (x2), GFL-S, GFL-KS, GFL-Q (x2), GFL-SK (x2)
Your Goldair Electric Blanket is equipped with a 3 heat settings.
Two controllers are supplied with the Double/Queen, King and Super King Size Blankets.
Important instructions: Retain for future use.
BEFORE FIRST USE:
NOTE: This Electric Blanket is to only be used as an under blanket.
Before using your Electric Blanket for the first time, the Electric Blanket needs to be unfolded and laid flat and then fitted to the bed as described earlier in this instruction manual.
CAUTION: Ensure the power cord is not tight because if pulled it may partially pull the plug from the socket.
A partially inserted plug will overheat the plug and socket and could result in fire.
EVERY DAY USE
With normal use your Electric Blanket will require 15 minutes of preheating before bedtime.
IMPORTANT: Your Electric Blanket is designed to pre-heat your bed.
Never sleep with Electric Blanket turned on. You must switch OFF prior to sleeping. NOTE: Children under the age of 3 are not to use this appliance due to their inability to react to heat.
Not to be used by very young children (0-3 years)
NOTE: This appliance is not to be used by children over the age of 3 unless the controls have been pre-set by a parent or guardian, or unless the child has been adequately instructed on how to operate the controls safely.
3 HEAT CONTROL
The control features a rotary switch to adjust the heat setting. 1 Low, Gentle Heat
2 Medium Heat
3 High Heat

Operating Your Electric Blanket
NOTE: When lying on the blanket some people may experience a tingling sensation whether alone or when touching someone else lying on the Blanket.
This tingling sensation is known as an electric field effect and caused by the current flowing through the elements creating an Electromagnetic Field (EMF). Some people may be more sensitive to feeling the EMF tingling sensation than others. It is known to occur across all makes and models.
This is no cause for concern and is in not an electric shock.
STORING YOUR ELECTRIC BLANKET
Always allow the Electric Blanket to cool before folding and storing.
Your Electric Blanket can remain on the bed all year round as a comfortable under-blanket. Simply remove the controls and store until Winter.
If you wish to remove the Electric Blanket from your bed when not in use, roll or fold it loosely and store in a blanket bag or the bag it was supplied in.
Avoid creating sharp creases in the Electric Blanket; for example do not store it under other items that may result in bending the wires of the Electric Blanket.
Care and Cleaning of your Goldair Electric Blanket
CARE & CLEANING OF YOUR ELECTRIC BLANKET
Taking care of your Electric Blanket is easy and safe as long as you follow the steps outlined below:
- DO NOT DRY CLEAN
- DO NOT IRON
- DO NOT BLEACH
DO NOT use a wringer.
DO NOT turn on the Electric Blanket until it is completely dry.
DO NOT use mothballs or sprays of any kind.
SPOT CLEANING
Unplug and remove the controls to the Electric Blanket.
Wet sponge the affected area using a mild soap and lukewarm water solution. Ensure the water temperature is less than 30°C.
Gently sponge the affected area with clean water.
Use a neutral coloured towel to absorb excess water.
Care and Cleaning of your Goldair Electric Blanket
HAND WASHING
For blankets with fixed controllers, the controller or switch must not be allowed to get wet during washing.
Fold and presoak the Electric Blanket for 15 minutes in a mild soap and lukewarm water solution.
Ensure the water temperature is less than 30°C.
Gently squeeze the soap suds through for a few minutes.
Rinse in fresh lukewarm water.
AIR DRYING
Gently stretch the Electric Blanket to its original size.
Air dry over a clothes line or shower rod.
DO NOT use clothes pegs or clips of any kind.
For blankets with fixed controllers, ensure the cord is positioned so that water cannot flow into the controller or switch.
DO NOT use the Electric Blanket until it is completely dry.
MACHINE WASHING (BLANKETS WITH DETACHABLE CONTROLLERS ONLY)
Unplug and remove the Electric Blanket controls.
Fold and presoak the Electric Blanket for 15 minutes in a mild soap and lukewarm water solution. Ensure the water temperature is less than 30°C.
Wash in mild soap and lukewarm water on the delicate or gentle cycle for 2 minutes. Rinse in fresh lukewarm water.
MACHINE DRY (BLANKETS WITH DETACHABLE CONTROLLERS ONLY)
Place the blanket into the dryer and tumble dry on low setting until damp. Approx 30 minutes.
Remove the blanket while it is still damp and gently stretch to its original size. Continue to air dry over a clothes line or shower rod. (DO NOT use clothes pegs or clips of any kind).
DO NOT USE IF MOIST OR WET
PROOF OF PURCHASE
To receive warranty retain receipt as proof of purchase.
SUPPORT AND TECHNICAL ADVICE
- Goldair – New Zealand
- Monday – Friday 8am-5pm
- Phone +64 (0)9 917 4000
- Phone 0800 232 633 info@cdb.co.nz
- Goldair – Australia
- Monday – Friday 8am-5pm
- Phone +61 (0)3 9365 5100
- Phone 1300 465 324 info@cdbgoldair.com.au
Two Year Warranty
Thank you for purchasing this Goldair product. Your product is warranted against faults and manufacture when used in normal domestic use for a period of two years. In non-domestic use Goldair limits the voluntary warranty to three months.
Goldair undertake to repair or replace this product at no charge if found to be defective due to a manufacturing fault during the warranty period.
This warranty excludes damage caused by misuse, neglect, shipping accident, incorrect installation, or work carried out by anyone other than a qualified electrical service technician.
PLEASE KEEP YOUR RECEIPT AS THIS WILL HELP VERIFY YOUR WARRANTY.
The benefits given to you by this warranty are in addition to other rights and remedies available to you under law in relation to the goods or services to which this warranty relates.
In Australia, our goods come with guarantees that cannot be excluded under the Australian Consumer Law. You are entitled to a replacement or refund for a major failure and compensation for any other reasonably foreseeable loss or damage. You are also entitled to have the goods repaired or replaced if the goods fail to be of acceptable quality and the failure does not amount to a major failure.
In New Zealand this warranty is additional to the conditions and guarantees of the Consumers Guarantee Act (1993).
Goldair – New Zealand CDB Goldair
PO Box 100-707
N.S.M.C
Auckland
Phone +64 (0)9 917 4000 Phone 0800 232 633 www.goldair.co.nz
Goldair – Australia CDB Goldair Australia Pty PO Box 574
South Morang
Victoria, 3752
Phone +61 (0)3 9365 5100
Phone 1300 GOLDAIR (1300 465 324) www.goldair.com.au
Goldair Two Year Warranty (IMPORTANT: Please complete and retain this warranty card) Name




















