County Freestanding Stove Range
User Manual

Lighting & User Instructions
IMPORTANT
THE OUTER CASING, FRONT AND GLASS PANEL BECOME EXTREMELY HOT DURING OPERATION AND WILL RESULT IN SERIOUS INJURY AND BURNS IF TOUCHED. IT IS THEREFORE RECOMMENDED THAT A FIREGUARD COMPLYING WITH BS 8423 (LATEST EDITION) IS USED IN THE PRESENCE OF YOUNG CHILDREN, THE ELDERLY OR INFIRM.
FUMES RESULTING FROM BLOCKED CHIMNEYS ARE DANGEROUS. KEEP THE CHIMNEY AND FLUE-PIPE CLEAR. SWEEP AND CLEAN ACCORDING TO MANUFACTURER’S INSTRUCTIONS.
All local regulations, including those referring to national and European Standards, need to be complied with when operating the appliance.
Do not attempt to burn rubbish in this appliance.
Please read these Instructions carefully before installation or use. Keep them in a safe place for future reference and when servicing the fire.
GENERAL POINTS
Before installation and/or use of this appliance please read these instructions fully and carefully to ensure that you have fully understood their requirements.
The appliance must be fitted by a registered installer, or approved by your local building control officer.
All local regulations, including those referring to national and
European Standards need to be complied with when installing the appliance.
Only use for domestic heating in accordance with these operating instructions.
You must burn only approved fuels. Do not use with liquid fuels or as an incinerator.
Appliance surfaces become very hot when in use. Use a suitable fireguard if young children, elderly or infirm persons are present.
Stovax offer firescreens, sparkguards and hearthgate systems for protection. Your Stovax dealer can advise you about these products.
Do not place photographs, TV’s, paintings, porcelain or other combustible items on the wall or near the appliance. Exposure to hot temperatures will cause damage. Do not place furniture or other items such as drying clothing closer than 1m from the front of this appliance.
WARNING: Extra fuel should not be stored on or next to the appliance. Only keep enough fuel for immediate use nearby and never leave the appliance unattended for long periods with any combustible material in close proximity.
Extractor fans, cooker hoods and other heating devices placed in the same room or space as the appliance, may cause problems. Extra ventilation must be installed as per each appliance requirements.
The appliance shall not be installed with ventilating systems which have pressure below -15Pa.
Do not obstruct inside or outside ventilation required for the safe use of this appliance.
Do not make unauthorised changes to the appliance.
The chimney must be swept at least once a year.
Do not connect, or share, the same flue or chimney system with another appliance.
IMPORTANT: Stovax provide gauntlet style gloves for the users protection from heat and any sharp edges when using the appliance.
For your safety ensure that gloves are always worn when opening, operating, refuelling or handling internal metalwork.
WARNING
Properly installed, operated and maintained this appliance will not emit fumes into the room but occasional fumes from de-ashing and refuelling may occur.
Persistent fume emission is potentially dangerous and must not be tolerated.
If fume emission persists:
- Open doors and windows to ventilate the room.
- Leave the room.
- Allow fire to burn out or safely dispose of fuel from the appliance.
- Check for chimney blockage and clean if required.
- Do not attempt to relight until the cause of the emission has been identified and corrected.
- If necessary seek expert advice.
- All open flued appliances can be affected by temporary atmospheric conditions which may allow fumes to enter the house. Because of this an electronic carbon monoxide detector conforming to the latest edition of BSEN50291 must be fitted in the same room as the appliance. The existence of an alarm must not be considered a substitute for ensuring regular servicing and maintenance of the appliance and chimney system.
IF THE ALARM SOUNDS FOLLOW THE INSTRUCTIONS GIVEN ABOVE.
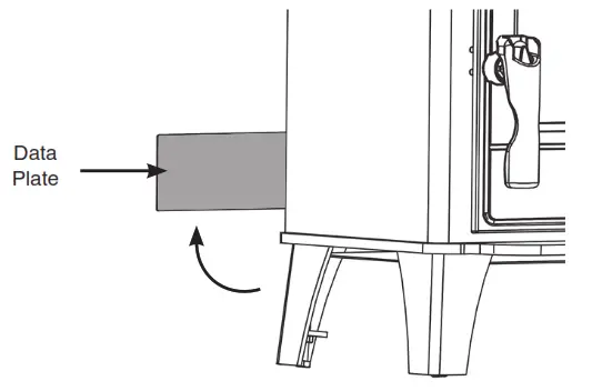
SERIAL NUMBER
This number is required when ordering spare parts or making warranty claims.
The data plate is found at the rear of the appliance:

OPENING THE DOOR
DO NOT OPEN THE DOOR WITH BARE HANDS DO NOT OPEN THE DOORS WHEN THE FIREBOX IS FULL OF FLAMES – WAIT FOR THEM TO DIE DOWN.

NOTE: The Multi Function Tool supplied with the Multi-Fuel models can be used to open the door.

CLEAN BURNING & YOUR STOVE
Stovax products are designed to produce secondary heating for your home and are designed to minimise atmospheric emissions which come from the burning of wood.
However, this does require the following lighting technique and good quality fuel to optimise the start-up of the stove and get the flue up to operating temperature.
Stovax recommend you familiarise yourself with the operation of the fire, the correct type of seasoned fuel and stacking methods in order to get the best performance from your appliance.
Effective and clean burning is achieved by the right flue draft conditions and the quality of the fuel used. Experience will help establish the preferred settings for use and ensure the optimum fuel consumption.
![]()
USING THE APPLIANCE FOR THE FIRST TIME
To allow the appliance to settle, and fixing glues and paint to fully cure, operate the appliance at a low temperature for first few days.
Do not touch the paint during the first period of use.
During this time the appliance may give off some unpleasant odours. Keep the room well ventilated to avoid a build-up of fumes.
Please be aware that, during use, rope seals may discolour. This is normal.
AIR CONTROLS
- Set the air controls to 50% to keep the appliance ventilated and stop the build-up of any moisture inside when the appliance is not in use for long periods of time.
- If there is still burning fuel in the firebox, do not shut down the air controls completely unless there is a chimney fire in progress
- Closing the controls during the burning process will cause poor combustion and could lead to a build up of gasses that could ignite dangerously.
- Always have enough air entering the stove to maintain some flame within the firebox.
- If it is necessary to shut down the appliance then run on a high setting until all of the fuel has been burnt before closing the air controls.
- Close air controls when not in use after the burning process is completely finished.

ADJUSTING THE AIRWASH SLIDER
COUNTY 8 AND 5 WIDE ONLY
It may be the case that the airwash control stops moving freely. Should this occur, loosen the hex bolts and locknuts from the airwash using a 4mm Allen key and a 10mm spanner as shown.

Loosen the hex bolt until the slider moves with no resistance. Once happy with the sliding action tighten the 2 locknuts.
LIGHTING
To create an open stack for top down lighting:
- Place two medium sized logs parallel on the base of the firebox.
- Place two smaller logs on top running parallel across the bottom logs.
- Continue to build the stack using smaller logs and place firelighters in the centre.
- Finish the stack by adding two further logs and placing firelighters on top. Add extra smaller kindling.
NOTE: Kindling is essential to allow the firebox to reach the correct operating temperature quickly. Incorrect start up can lead to excessive smoke and the fire going out when the door is shut. A successful fire initially requires plenty of kindling to establish a hot firebox and warm the chimney to aid flue performance.

The door must always be closed when operating and must only be opened for adding fuel, ignition and deashing.

Kindling:
Finely chopped wood
Length 250mm
Diameter: 20mm
Weight per lighting: 2.0 kg (approx 8-12 finely chopped pieces)

IMPORTANT NOTES – GENERAL
Before lighting the stove check with the installer that the installation work and commissioning checks have been carried out correctly and that the chimney has been swept clean, is sound and free from any obstructions.
As part of the stoves’ commissioning and handover the installer should have shown you how to operate the stove correctly.
Never use gasoline, gasoline-type lantern fuel, kerosene, charcoal lighter fluid, ethyl alcohol or similar liquids to start or “reignite” a fire in the heater. Keep all such liquids well away from the heater while it is in use.
RUNNING THE APPLIANCE
Prior lighting the appliance ensure the door seals are in good condition. DO NOT USE the appliance if any damage is observed.
WOOD BURNING
Close the Primary air control and use the Airwash to control the burn rate when appliance is at operating temperature.
Adjust the Secondary Air Control to approximately 15% Open.
(All the way to rear)

Wood burns best on a bed of ash (approx. 25mm (1″) deep).
Rake the embers evenly over the firebed and open the Airwash Control fully for a few minutes before re-fuelling.
Add new logs and stack in an open arrangement to enable the wood to burn effectively.

Close the door immediately after refuelling.
BURNING SOLID FUEL
Only for use with recommended fuels.
Allow the fire to become established before adding the solid fuel.
Set air controls

To burn solid fuel efficiently it is best to control the burn rate using the Primary air control only.
De-ash the grate before re-fuelling).
Open the Primary Air Control fully to establish a glowing bed before adding new fuel.
Add the correct amount of fuel
Close the doors immediately after refuelling.
Burn new fuel at a high temperature for a few minutes before adjusting the Primary Air Control to the desired setting.
Use the Door Tool to operate the Riddling Grate.

REFUELLING
FEEDING FUEL
| APPLIANCE | WOOD LENGTH | DIAMETER | FUEL CONSUMPTION | |
| KG/HOUR WOOD | KG/HOUR BRIQUETTE SMOKELESS FUEL | |||
| County 3 | 200mm | 75mm | 1.5 | 0.7 |
| County 5 | 330mm | 75mm | 1.6 | 0.7 |
| County 5W | 330mm | 75mm | 1.6 | 0.8 |
| County 8 | 400mm | 75mm | 2.4 | 1.2 |
Do not burn large amounts of fuel with the Air Controls closed (Off position) for long periods of time. This reduces the glass cleaning effect, causes tars and creosotes to build-up in the appliance and flue system and will produce excessive amounts of smoke.
When in use, running the appliance at a high temperature for a short period also reduces tars and creosote.
This appliance has been designed for intermittent operation only. For best performance, when running the appliance refuel little and often for efficient burning.
A bright and clean firebox indicates the appliance is burning well.
Do not load fuel above the log guard and the Secondary Combustion Inlets at the back of the firebox.
The maximum amount of fuel specified in this manual should not be exceeded, overloading can cause excess smoke.
After refuelling:
Burn at a high temperature for a few minutes before adjusting the Air Controls.
WARNING: DO NOT OPERATE THE APPLIANCE WITH THE AIR CONTROL ON START UP FOR LONG PERIODS OF TIME AS THIS COULD CAUSE OVER-FIRING AND MAY CAUSE PERMANENT DAMAGE.
WOOD
Do not burn construction timber, painted, impregnated / treated wood, manufactured board products or pallet wood.
Burn only wood logs with a moisture content of less than 20%.
MULTI-FUEL
Burn only anthracite or smokeless fuels suitable for use in closed appliances.
Do not burn bituminous coal, ‘petro-coke’ or other petroleum based fuels as this invalidates the product guarantee.
RECOMMENDED FUELS
Wood Logs:
Burn only seasoned timber with a moisture content of less than 20%. To ensure this allow cut wood to dry for 12 to 18 months.
DO NOT BURN construction timber, painted, impregnated / treated wood, manufactured board products or pallet wood.
DO NOT USE any form of candle as fuel. Melted wax will damage the appliances moving parts.

Choosing fuel:
All types of wood can be used as fuel in the appliance. Different types of wood have different densities: the greater the density of the wood the greater the energy value.
Oak, beech and birch have the highest value.
The correct moisture content for firewood that is ready to burn is below 20% moisture content.
If wood is too wet, it will be difficult to light, struggle to burn, give very little heat output and tar up the flue.
This could lead to a chimney fire, so it is important to burn sufficiently dried firewood.
Dry wood gives more heat output, avoids blackening the appliance glass and there is minimal soot build up in the chimney or flue.
More heat output equals less fuel.
Wood Storage:
To ensure thoroughly dry wood, cut in winter and store under a
roof with plenty off room for air circulation.
Do not cover completely, leave a gap for air to pass over the wood and do not seal.
Bring wood intended for use inside and store for a few days prior to burning to ensure that the moisture has been sufficiently decreased.
SOLID FUEL:
Burn only anthracite or manufactured briquette smokeless fuels listed as suitable for use with closed heating appliances.
Do not burn bituminous coal, ‘petro-coke’ or other petroleum based fuels as this will invalidate the product guarantee.
ASH REMOVAL
Wood burns best on a bed of ash.
Do not allow ash to build up in the appliance as it will not burn properly and may cause damage.
Remove ash with a small shovel (available from Stovax). Take care not to damage the ceramic lining of the appliance.
Do not use sharp pointed pokers.
Remove ash carefully – heat can remain long after use.
Carefully place the ash into a Stovax Ash Caddy.
Do not place hot ash in a container made from plastic or any other combustible material.
OVER-FIRING
Do not over-fill with fuel or run at high temperatures for long periods or over-firing can occur.
DO NOT OPERATE THE APPLIANCE WITH THE PRIMARY AIR CONTROL OPEN FOR LONG PERIODS OF TIME AS THIS COULD CAUSE OVER-FIRING AND MAY CAUSE PERMANENT DAMAGE.
Over-firing can cause permanent damage to the appliance and invalid the product warranty.
CHIMNEY FIRE
If a chimney fire occurs:
- Shut all air controls immediately.
- Evacuate the building.
- Call the fire brigade.
- Do not re-enter the building until it is confirmed safe.
Do not use the appliance after a chimney fire until:
a) It has been inspected by a registered installer, confirming the appliance is safe to use.
b) The chimney system has been inspected and swept by a chimney sweep, confirming the system is structurally sound and free from obstruction.
c) It is repaired as required before re-use. Use only genuine Stovax replacement parts to keep your appliance in safe, efficient working order.
GENERAL CLEANING
Clean and inspect the appliance regularly, especially in periods of heavy use. Regular cleaning and maintenance will help give many years of safe use.
Allow appliance to cool thoroughly to avoid risk of burns.
Clean regularly, according to level of use.
Remove the ash completely.
Check internal components for damage – grates, bricks, baffles – and for obvious build up of soot, ash or debris above the flue baffle(s) (these can be found in the upper part of the firebox). Use a torch if necessary.
If there are any signs of a build up of debris above the flue baffle(s) either:
- Arrange for the chimney to be swept.
- Remove the baffles and clear the debris .
To refresh painted finishes a touch up spray is available.
Contact your Stovax retailer quoting the serial number found on the appliance data badge.
Do not use aerosol sprays near an operating appliance.
CLEANING GLASS
Keep the glass clean with correct use of the Airwash system and good quality fuel.
Sometimes additional cleaning may be required.
Before undertaking this operation allow appliance to cool fully. Do not clean hot glass.
On appliances with printed glass do not use cleaning agents that have a high alkaline or acidic content, for example Stovax Gel Cleaner, these are aggressive cleaning agents designed to be used with heavily stained clear glass. On printed glass surfaces, use Stovax Glass Cleaner (Stovax No.4103) which is better formulated for this application.
Before applying a cleaning agent remove any dust and loose soot with a damp cloth.
Use an appropriate glass cleaner. Apply the cleaning fluid to a cloth before rubbing onto the glass.
Apply carefully and do not apply excessively. Try to prevent any run off which could soak into the rope seals around the edge of the glass. Soot can also contain acidic particles that can cause corrosive damage to printed glass.
Remove dirt with a moist cloth and buff dry.
Some types of wood can cause a white residue to form on the glass.
If this occurs it should be cleaned off at least once a week during periods of heavy usage.
If the liquid cleaning agents recommended do not remove this residue Stovax offer a dry cleaning pad which will help remove heavy stains.
Before relighting the appliance ensure the glass is fully dried.
If the rope seal has absorbed excess cleaning agent it is advisable to replace the rope as soon as possible to preserve the printed finish of the glass.
CHIMNEY SWEEPING
To maintain safe and efficient use of the appliance, the chimney/flue must be inspected and swept at least once a year by a qualified chimney sweep.
If the appliance is used continuously throughout the year, or it is used to burn wood, more frequent sweeping is recommended.
The best time to have the chimney swept is at the start of the heating season.
The chimney, any connecting flue pipe and the appliance flue ways, if incorporated, must be regularly cleaned.
Ensure adequate access for cleaning where it is not possible to sweep through the chimney.
If the chimney is believed to have previously served an open fire it must be swept a second time within a month of regular use after installation.
CO ALARMS
Building regulations require that a carbon monoxide alarm, complying with BS EN50291, must be fitted in the same room as the appliance.
Provision of an alarm must not be considered a substitute for either installing the appliance correctly or ensuring regular servicing and maintenance of the appliance and chimney system.
TROUBLESHOOTING
Operation – Difficulty starting and maintaining a fire
- Ensure the wood used is less than 20% moisture.
- Warm the flue through the stove using a blowtorch or some newspaper.
- Ensure all air controls are being operated correctly.
- Open a nearby window to test the airflow in the room.
- Make sure the airways and flue are swept and in good condition. Any full or partial blockage will effect the performance of the appliance.
- Re-read the lighting instructions and ensure the correct procedure is followed including fuel amounts.
Glass Blackening
When burning wood and solid fuel there will always be some discolouration of the glass. However excessive build can be caused by:
- Wood will a moisture content of greater than 20% will have poor combustion and smoke, giving off tar and creosote.
- Low combustion temperature. This will not create sufficient flue draft leading to poor combustion and a fire that produces more smoke.
- Incorrect fuelling/refuelling leading to a poor fire or one that touches the glass.
Excessive smell of Smoke
- Weather conditions can result in wind blowing down the chimney when coming fro certain directions.
- Door opened when lots of flames remained in the firebox.
Parts have become discoloured
- To allow the appliance to settle, and fixing glues and paint to fully cure, operate the appliance at a low temperature for first few days.
- Do not touch the paint during the first period of use.
- During this time the appliance may give off some unpleasant odours. Keep the room well ventilated to avoid a build-up of fumes.
- Please be aware that, during use, paint and rope seals may discolour. This is normal.
Warranty Issues – for full warranty terms and conditions see the booklet supplied with your appliance.
Should you experience problems with your Stove or Fireplace, any claim must be submitted first to the Expert Retailer from whom the product was purchased. Your Expert Retailer will either be able to offer immediate assistance or having visited you make contact with Stovax on your behalf. For a Service call to be arranged Stovax will require proof of registration, commissioning documents and service history if applicable (Service history required for all product over 12-months old). Any Warranty claim without the required information will be referred back to your Expert Retailer from whom you purchased it.
Due to continual technical improvements please check online or with your Stovax retailer for the most up to date parts lists.
Only use Genuine Stovax spares when servicing your appliance.
All of our essential spare parts and consumable items are available to purchase from our webshop at www.stovaxspares.com.
THE CLEAN AIR ACT 1993 AND SMOKE CONTROL AREAS
The Clean Air Act 1993 and Smoke Control Areas
Under the Clean Air Act local authorities may declare the whole or part of the district of the authority to be a smoke control area. It is an offence to emit smoke from a chimney of a building, from a furnace or from any fixed boiler if located in a designated smoke control area. It is also an offence to acquire an “unauthorised fuel” for use within a smoke control area unless it is used in an “exempt” appliance (“exempted” from the controls which generally apply in the smoke control area).
In England appliances are exempted by publication on a list by the Secretary of State in accordance with changes made to sections 20 and 21 of the Clean Air Act 1993 by section 15 of the Deregulation Act 2015. Similarly in Scotland appliances are exempted by publication on a list by Scottish Ministers under section 50 of the Regulatory Reform (Scotland) Act 2014.
In Wales and Northern Ireland these are authorised by regulations made by Welsh Ministers and by the Department of the Environment respectively.
Further information on the requirements of the Clean Air Act can be found here at: https://www.gov.uk/smoke-control-area-rules
Refuelling to a low fire bed
If there is insufficient burning material in the firebed to light a new fuel charge, excessive smoke emission can occur. Refuelling must be carried out onto a sufficient quantity of glowing embers and ash that the new fuel charge will ignite in a reasonable period. If there are too few embers in the fire bed, add suitable kindling to prevent excessive smoke.
Fuel Overloading
The maximum amount of fuel specified in this manual should not be exceeded, overloading can cause excess smoke.
Operation with the door left open
Operation with the door open can cause excess smoke. The appliance must not be operated with the appliance door left open except as directed in the instructions.
Air Controls left open
Warning: Do not operate the appliance with the Primary Air Control open for long periods of time as this could cause over-firing, increased smoke emissions and may cause permanent damage.
CO Alarms
Building regulations require that whenever a new or replacement fixed solid fuel or wood/biomass appliance is installed in a dwelling a carbon monoxide alarm, complying with BS EN50291, must be fitted in the same room as the appliance. Further guidance on the installation of the carbon monoxide alarm is available in the latest edition of BS EN50292 and from the alarm manufacturer’s instructions.
Provision of an alarm must not be considered a substitute for either installing the appliance correctly or ensuring regular servicing and maintenance of the appliance and chimney system.
The following County appliances (Model No:735-437/735-039/735-479/ 735-521/735-145) have been recommended as suitable for use in smoke control areas when burning wood logs. These appliances (Model No:735-437/735-039/735-479/ 735-521/735-145) are fitted with the appropriate permanent stop for the model (supplied by Stovax) to prevent full closure of the secondary air inlet slots.
LEGAL REQUIREMENTS
Before installation and/or use of this appliance please read these instructions carefully to ensure that all requirements are fully understood.
The appliance must be fitted by a registered installer, or approved by your local building control officer.
It is very important to understand the requirements of the national Building Regulations and standards, along with any local regulations and working practices that may apply. Should any conflict occur between these instructions and these regulations then the regulations must apply.
Your local Building Control Office can advise regarding the requirements of the regulations.
HEALTH AND SAFETY PRECAUTIONS
Works must be carried out with care to meet the requirements of Health and Safety and comply with the Health and Safety rules, and any new regulations introduced during the lifetime of these instructions. Particular attention should be drawn to:
- Handling: The appliance is heavy. Adequate facilities must be available for loading, unloading and on site handling.
- Fire Cement: Some fire cement is caustic and must not come into contact with the skin. Protective gloves must be worn. Wash hands thoroughly with plenty of water after contact with skin.
- Asbestos: This appliance contains no asbestos. If there is the possibility of disturbing any asbestos in the course of installation seek specialist guidance and use appropriate equipment.
- Metal Parts: Take care when installing or servicing the stove to avoid personal injury.
A faulty installation can cause danger to the inhabitants and structure of the building.
For users of this appliance:
Your building insurance company may require you to inform them that a new heating appliance has been installed on your property. Check that your cover is still valid after installing the appliance.
Combustion Air Supply:
This appliance requires a constant supply of air to maintain proper combustion and effective flue performance. An inadequate air supply can result in poor combustion and smoke entering the room which is potentially dangerous.
This supply of air can come from either:
- Purpose provided ventilation.
- Some Stovax appliances can also be fitted with an optional outdoor air kit which allows air to be drawn in from the outside.
The amount of air required must comply with local building regulations and the rules in force.
COMMISSIONING AND HANDOVER
Ensure all parts are fitted in accordance with the instructions.
On completion of the installation allow a suitable period of time for any fire cement and mortar to dry out, before lighting the stove. Once the appliance is operating check all seals for soundness and check that the flue is functioning
correctly and that all products of combustion are vented safely to atmosphere via the chimney terminal.
On completion of the installation and commissioning ensure that the operating instructions for the appliance are left with the customer. Ensure to advise the customer on the correct usage and warn them to use only the recommended fuel for the appliance.
Advise the user what to do should smoke or fumes be emitted from the appliance.
The customer should be warned to use a fireguard to BS 8423:latest edition in the presence of children, aged and/or infirm persons.
FLUE AND CHIMNEY
The flue or chimney system must be in good condition.
It must be inspected by a competent person and passed for use with the appliance before installation.
Products of combustion entering the room can cause serious health risks.
The following must be checked:
- Prior to re-lighting after a prolonged shut down period check for blockage within the fire and the flue.
- The construction of the masonry chimneys, flue block chimneys and connecting flue pipe system must meet the requirements of the Building Regulations.
- A flexible flue liner system can be used if certified for use with solid fuel systems and installation complies with manufacturer’s instructions and Building Regulations. The flue liner must be replaced when an appliance is replaced, unless proven to be recently installed and in good condition.
- If it is necessary to fit a register plate it must conform to the Building Regulations.
- The minimum height of the flue or chimney must be 4.5m from the hearth to the top of the flue, with no horizontal sections and a maximum of 4 bends. Bends must have angles of less than 45 degrees from the vertical.
- There should be at least 600mm of vertical flue pipe above the appliance before any bends are introduced.
- Ensure the connecting flue pipe is kept a suitable distance from any combustible material and does not form part of the supporting structure of the building.
- The installer must ensure the flue pipe diameter is not less than the diameter of the outlet of the appliance and does not narrow to less than the size of the outlet at any point in the system.
- Make provision to remove the appliance without the need to dismantle the chimney.
- Any existing flue must be confirmed as suitable for the new intended use as defined in the Building Regulations.
- The flue or chimney systems must be inspected and swept to confirm the system is structurally sound and free from obstructions.
- If the chimney is believed to have previously served an open fire it must be swept a second time within a month of regular use after installation to clear any soot falls that may have occurred due to difference in combustion levels.
- The flue exit from the building must comply with local building control rules.
- Chimney heights and/or separations may need to be increased in particular cases where wind exposure, surrounding tall buildings, high trees or high ground could have adverse effects on flue draught.
- Do not connect or share the flue or chimney system with another heating appliance.
Do not connect to systems containing large voids or spaces over 230mm square.
Suitable access must be provided to enable the collection and removal of debris.
The flue must be swept and inspected when the appliance is installed.
FLUE DRAUGHT
The flue draught must be checked with all windows and doors closed and any extraction fans in this, or adjoining rooms, running at maximum speed.
AEROSOL SPRAYS
Do not use an aerosol spray on or near the appliance when it is alight.
COMBUSTIBLE MATERIALS IN THE HOME
Do not place photographs, TV’s, paintings, porcelain or other combustible items on the wall or near the appliance. Exposure to hot temperatures will cause damage. Do not place furniture or other items such as drying clothing closer than 1m from the front of this appliance.
WARNING: Extra fuel should not be stored on or next to the appliance. Only keep enough fuel for immediate use nearby and never leave the appliance unattended for long periods with any combustible material in close proximity.
PRODUCT MATERIAL INFORMATION
The following substances, preparations or components should be disposed of or recovered separately from other WEEE in compliance with Article 4 of EU Council Directive 75/442/EEC.
| Metal | Steel | Can be taken to a local recycling centre for reuse to reduce waste going to landfill. |
| Cast iron | ||
| Glass | Can be taken to a local recycling centre for reuse to reduce waste going to landfill. | |
| Vermiculite linings | Non hazardous material. Vermiculite can be crushed up and used for plant bedding and ash used for composting or disposed of at a local recycling centre for reuse to reduce waste going to landfill. | |
| Rope seals | Rope seals are made from Refractory Ceramic Fibre (RCF), a material which is commonly used for this application. Protective clothing is not required when handling these articles, but it is recommended to follow normal hygiene rules of not smoking, eating or drinking in the work area and always wash hands before eating or drinking. When servicing the appliance it is recommended that the replaced items are not broken up, but are sealed within heavy duty polythene bags and labelled as RCF waste. RCF waste is classed as stable, non-reactive hazardous waste and may be disposed of at a licensed landfill site. | |
| Electrical components | (Fan kits etc if applicable) | Dispose of at a local recycling centre in accordance with the WEEE directive. |
FOR ENQUIRIES IN THE U.K (EXCLUDING NI):
Stovax Limited, Spitfire Avenue, Skypark, Clyst Honiton, Exeter, Devon, England EX5 2FR
Tel: (01392) 474011
Fax: (01392) 219932
E-mail: [email protected]
www.stovax.com
FOR ENQUIRIES IN EUROPE (INCLUDING NI):
Stovax Heating Group Ltd, 40 Linenhall Street, Belfast, BT2 8BA l DX 400 NR Belfast
Tel: +44 (0)1392 261990
Fax: +44 (0)1392 444148
E-mail: [email protected] 



















