
Sunny 200 12V Battery Mains Adapter
Instruction Manual

VOSS. farming Sunny 200
Art. 42082
ABOUT THIS MANUAL
In this manual you will find all the important information about your new product.
Read this manual carefully before using the product for the first time to avoid misunderstandings and prevent damage. This manual contains important instructions for the safe use of your new product. Keep this manual in a safe place. If the product is passed on to a third party, the instruction manual must also be handed over.
Observe and follow the safety instructions contained in this manual.
1.1 USED SYMBOLS
The following symbols may appear in this manual:
DANGER
This symbol stands for potentially dangerous situations, which, if not avoided, will result in serious injury or death!
WARNING AGAINST ELECTRICAL VOLTAGES
This symbol stands for possible dangerous situations caused by electrical voltages, which, if not avoided, can lead to serious injury or death!
WARNING
This symbol stands for possible dangerous situations, which, if not avoided, can lead to serious injury or death!
CAUTION
This symbol stands for possible harmful situations, which, if not avoided, may lead to slight or minor injuries.
NOTICE
This symbol stands for possible dangerous situations, which may cause damage to property in the event of non-compliance.
Info
This symbol provides further useful information.
Product and instructions are subject to change. Technical data is subject to change without notice.
GENERAL SAFETY INSTRUCTIONS
Observe and follow the safety instructions in this chapter and the following subchapters to prevent any safety hazard when using this device. In addition, please observe the respective regulations of your country and/or region.
2.1 PERSONAL SAFETY
Electric fences, especially those for the protection of farm animals, are generally safe if installed and connected properly. However, electric fences can cause shocks that can lead to dangerous consequences, especially for people with pre-existing health conditions. Knowledge of the dangers posed by electric fences can help you take the necessary precautions.
WARNING AGAINST ELECTRICAL VOLTAGES
- If you have any doubts about the installation of the electric animal fence, we recommend that you seek help from qualified personnel.
- Persons (including children) with physical, sensory or mental disabilities must not use this device.
- Persons who do not have sufficient experience and knowledge are not allowed to use this device unless they are under supervision or are instructed to use the device by a person responsible for their safety.
- Ensure that the electric animal fence, as well as its ancillary equipment, is correctly installed, operated and maintained at regular intervals to minimise the dangers to people, animals and their surroundings.
- Keep children away from the fence if possible. Children must be supervised in the vicinity of the fence.
- Getting entangled in electrified fence netting can lead to electric shock. Do
not erect electric fence nets in areas where children may be present. - In places where children could be left unattended use electric animal fences with alternating polarity (positive‑negative fences) with weaker energisers or weaker outputs with an output energy not exceeding 1 joule.
- Avoid constructions of electric animal fences that can lead to people becoming entangled.
- In most cases, contact with electric fences triggers a harmless shock, which initially occurs on first contact. Properly installed fences generate shocks in pulses that allow the person or animal to release the fence immediately upon the first shock; however, fences that do not have a pulse can send a continuous electric shock to the body over a long period of time, which can have fatal consequences. In some cases, trapped victims become unconscious when they come into contact with the electric fence. A fatal outcome cannot be completely ruled out in electric accidents.
- Avoid touching electric animal fences, especially with the head, neck or upper body. Do not climb over, through or under the fence. Use a gate or other crossing point to pass through the fence.
- Attempting to get under an electric fence can cause a shock to the head when coming into contact with the fence. A person with a heart condition, especially someone who wears a pacemaker, has a higher risk of losing consciousness than a healthy person. The risk increases if the head or neck touches the electrified wire.
- There is a small chance that a person who comes into contact with an
electric fence will suffer cardiac arrest or ventricular fibrillation. However,
the synchronization of the electric fence energizer and the pulse can prevent
cardiac arrest and ventricular fibrillation. - Incorrectly installed electric fences with stronger current can cause electric shocks that lead to loss of muscle control. An electric shock can cause painful muscle spasms that can break bones and dislocate joints.
Info
Please note that the following specifications regarding the marking of electric animal fences are country-specific. Please follow the regulations of your respective country.
- In order to warn outsiders of possible dangers, electric animal fences that run along a public road or path must be clearly signed at frequent intervals.
These warning signs must be clearly visible and attached to the fence posts or the fence itself. Warning signs must adhere to the following guidelines:- Minimum size of 100 mm x 200 mm
- Black lettering (min. font size of 25 mm, on both sides, non-erasable) on a yellow background with the analogous content „ATTENTION ELECTRIC FENCE“ and/or the symbol shown in the illustration:

- Whenever an electric animal fence crosses a public footpath, a non-electrified gate must be erected at this point or an overpass must be available. Electrified wires lying nearby must also be marked with warning signs.
- In general, warning signs must be placed at each gate or access point and at intervals of approx. 10–100 m.
2.2 SITE AND INSTALLATION SAFETY
WARNING AGAINST ELECTRICAL VOLTAGES
- The following minimum distances must be observed when installing connection lines and electric animal fences near high‑voltage lines:
| Voltage of the power line | Air Gap |
| ≤ 1.000 volts | 3 metres |
| > 1.000 ≤ 33.000 volts | 4 metres |
| > 33.000 volts | 8 metres |
- When installing connection lines and electric animal fences near a high‑voltage line, they may only be installed at a maximum height of 3 m above the ground. This height must be maintained on each side of the vertical projection of the outer conductor of the high‑voltage line on the ground. The following distances apply:
- 2 m for high-voltage lines with a nominal voltage up to 1,000 V
- 15 m for high-voltage lines, with a rated voltage of more than 1,000 V
- Follow the grounding instructions in the manual.
- Keep a minimum distance of 10 m between any electrode of the energiser and other grounding systems (e.g. protective grounding of a power distribution system or a grounding of a telecommunication system).
- Ensure that connection lines that are routed inside buildings are effectively insulated from earthed, load‑bearing parts of the building. To ensure this, use insulated high‑voltage cables.
- Ensure that underground connection lines are routed through electrical conduits made from insulating material or otherwise use insulated high‑ voltage cables.
- Ensure that connection lines are not damaged by sinking animal hooves or tractor wheels.
- When installing the electric animal fence, do not use the electric conduit from any external sources, third parties i.e. telecommunication companies or the main power conduit entering the building.
- The electric animal fence must be no less than 2.5 m away from earthed, metallic objects (e.g. drinking troughs, water pipes). This is particularly important in areas where people may be present.
- Do not cross connection lines and electric animal fence wires over high‑voltage or communication lines.
- Avoid crossings with high‑voltage lines. If this cannot be avoided, the crossing must be made below the power line at a 90° angle and as close as possible.
- For 230V electric fence energizers, do not use inverters to supply the device. Malfunctions, damage or destruction of the device may result. Use only properly installed sockets for the power supply.
- Do not power an electric animal fence with two separate electric fence energizers or from the independent fence circuits of the same energizer.
- Barbed wire or razor wire must not be electrified with an energizer.
- Non-electrified barbed wire or razor wire may be used to support one or more offset electrified wires of an electric animal fence. The electrified wires must be kept at a vertical distance of at least 150 mm from the non-electrified wires by means of supports. Make sure that the non-electrified wire is earthed at regular intervals.
- There must be a minimum distance of 2.5 m between two separate electric animal fences, which are powered by separate independently clocked electric fence energizers. If there should be a physical barrier between the fences then only use electrically non‑conductive materials or an insulated metal barrier.
- Ensure that all mains‑operated auxiliary equipment connected to the electric animal fence has the same degree of insulation as the energizer used.
- Ensure that the auxiliary equipment is weatherproof. Outdoor use is only permitted if it has been certified by the manufacturer and the equipment has a minimum degree of protection of IPX4.
2.3 SAFETY DURING OPERATION
WARNING AGAINST ELECTRICAL VOLTAGES
- Check your fence system for correct voltage, grounding, marking and other defects on a daily basis. Document the measured fence voltages, if necessary. Do not use multimeters to check the voltage. These are not suitable for the high voltages generated by the electric fence energizer. Use specialist voltmeters to check the voltage.
- Lightning can cause fires and lead to malfunctions on electric fences. Separating the energizer from the fence and power source before a storm or possible lightning strike can minimise the effects of lightning. Redirect the current of the lightning strike to the ground before it damages the energizer by installing a lightning rod between the fence and the energizer.
- Avoid placing combustible objects near your electric fence. Cutting back shrubs in the vicinity also reduces the risk of fire, as short circuits in the fence system can cause sparks.
- Do not use an energizer if there is a risk of flooding the electric animal fence.
- If the interval between pulses is less than 1 second, the energizer must be switched off immediately and repaired, if necessary. If the pulse interval is more than 1.7 seconds, the fence is no longer secure and the energizer must be checked.
INTENDED USE
The solar-powered energizer VOSS .farming sunny 200 supplies your electric fence with power. An electric fence is used to fence (herd) livestock and to deter or exclude wildlife. At the same time, it serves as a visual marking of property boundaries. No other use is permitted. This energizer is intended for private use only and not for commercial use.
CONTENTS
The contents include:
- 1 x VOSS. farming Sunny 200 with solar panel + sealed 12 V, 4.5 Ah lead-acid battery (leak-proof)
- 1 x instruction manual
- 1 x charger with control LED for recharging and trickle charging of the battery
- 1 x Ground stake
- 1 x fence connection + ground connection cable with crocodile clips
- 1 x international warning sign for pasture marking
TECHNICAL DATA
• Power source: 12 V, 4.5 Ah, lead-acid battery • Max. output energy: 0.11 J • Stored energy: 0.16 J • Max. Output voltage at no load: approx. 8100 V • Max. Output voltage at 500 Ohm: approx. 2500 V • Power supply: • Input:
• Output:100-240 VAC 50/60 Hz
14.4 VDC 1000 mA
Dimensions and weight
| Dimensions (HxWxD) approx: | 22 cm x 25 cm x 17 cm |
| Weight approx: | 3.7 kg |
DEVICE OVERVIEW

| No. | Designation | No. | Designation |
| 1 | Switch (AUTO/OFF/NIGHT) | 7 | Ground connection (green) |
| 2 | Connection socket for the battery charger | 8 | Hanger |
| 3 | Fence connection (red) | 9 | Solar panel |
| 4 | LED | 10 | Battery |
| 5 | Hanger | 11 | Battery compartment |
| 6 | Mounting for Y- or T-posts | 12 | Battery compartment lock |
6.1 FUNCTIONALITY
An electric fence consists of an energiser and an insulated fence, where the energiser supplies the fence with short, electric pulses. The electric fence represents a “physical” and a “psychological” barrier for animals. The short pulses with high voltage are very unpleasant and animals learn very quickly to respect the electric fence. A well-installed electric fence can provide a high level of security and offers many advantages over a mechanical fence. As a psychological barrier, an electric shock can deter the animal from climbing a fence. Labor and material requirements are lower, it can be flexibly modified, is suitable for a wide variety of animals and offers a high level of protection against injuries.
The VOSS. farming Sunny energizer sends an electrical pulse through the fence approx. every 1.5 seconds. These impulses give the animal a short, sharp shock that does not endanger a healthy animal, but is enough to be constantly in its mind so that it avoids the fence.
6.2 EXPLANATION OF THE PRODUCT LABELSSymbol Meaning ![]()
Disposal of electrical items 
Documents the compliance of the product with the directives of the EU 
Documents the compliance of the product with the guidelines of the United Kingdom. 
Protection class II for electrical products double insulated ![]()
Positive polarity ![]()
Reading the operating instructions ![]()
Splash-proof according to protection class IP X4 ![]()
Connection to mains-powered supply prohibited! The device is not approved for operation via 230V mains adapter!
ASSEMBLY AND OPERATION
WARNING
- There is a risk of smoldering fire if heat builds up. The device must not be covered by materials etc. during operation, as this can lead to heat accumulation and possibly to fire. Therefore, do not install in fire hazard areas (e.g. hay and straw storage).
- Possible formation of oxyhydrogen gas. 12 V batteries (lead‑acid, AGM, gel batteries), must be placed in a well ventilated location.
NOTICE
Never cover the device to avoid damage to the device and the solar module.
7.1 INSERT AND CONNECT BATTERY
- Place the device on a flat surface with the solar module (9) facing down and use a screwdriver to remove the screw on the battery compartment lock (12).
NOTICE
Make sure that there are no objects on the lying surface so as not to damage the solar module. - Turn the device over, open the battery compartment (11) and insert the battery.
- Connect the red cable (+) to the positive terminal of the battery.
- Connect the black cable (-) to the negative terminal of the battery.
- Close the battery compartment (11) again and screw the previously removed screw back into the battery compartment lock (12).
7.2 ASSEMBLY
WARNING AGAINST ELECTRICAL VOLTAGES
Do not lay PVC cables at a temperature below +5°C.
NOTICE
Make sure that the device is securely placed during assembly. The device must later be operated upright with the device lid closed.
Select a mounting location, taking into account the general safety instructions, that meets the following criteria:
- next to the electric fence and preferably near the center of the electric fence
- where the most amount of sunlight is reached in the season
- where a good grounding can be achieved
- on solid ground away from possible flooding and out of reach of animals and children (inside the protective fence if necessary)
Info
Direct the device so that the module surface faces south in the northern hemisphere or north in the southern hemisphere.
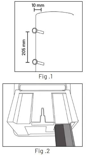
Mounting on wooden post or wall
For mounting on a wooden post or wall, you will need suitable nails or screws and washers.
- Fasten the nails or screws at a distance of 205 mm (Fig. 1).
- Insert the nails or screws so that they protrude by 10 mm (Fig. 1).
- Place the energizer with the hangers (5 & 8) on the nails or screws so that the washers are inside the hanger.

Mounting on Y- or T-posts
The electric fence unit can be attached directly to a metal Y- or T-post via the mount (6).
To do this, push the upper end of the post into the mount (6) on the underside of the electric fence unit (Fig. 2).
7.3 CONNECT THE DEVICE TO THE ELECTRIC FENCE
NOTICE
Make sure that the cables on the energizer unit are routed downwards to prevent water from collecting at the connections.
- Drive the supplied ground stake almost completely into the ground.
- Remove the nut on the earth connection (7) of the energizer.
- Connect the black cable to the earth connection (7) of the energizer and replace the nut on the earth connection (7). Tighten the nut hand-tight.
- Connect the other end to the earth rod. For proper grounding, refer to the tips in section 7.4.
- Remove the nut on the fence connector (3) of the energizer.
- Connect the red cable with fence connector (3) of the energizer and put the nut back on the fence connector (3). Tighten the nut hand-tight.
- Connect the other end to the fence.
The energizer is connected to the fence.
7.4 THE RIGHT GROUNDING
WARNING AGAINST ELECTRICAL VOLTAGES
- Follow the safety instructions concerning location and installation when grounding the fence (see section 2.2).
- Maintain a distance of 10 m to other grounded systems (e.g. protective earthing of the power supply system or the earthing of a telecommunications system).
- To prevent possible damage, ensure that animals or other people cannot access the grounding. However, the grounding must be accessible for any maintenance tasks required.
It is extremely important that the fence is properly grounded. With optimal grounding, the energiser can operate at its maximum capacity and ensure that your fence provides the best possible security.
- Where possible, select a damp area with vegetation for the grounding.
- Use Galvanised metal posts for the grounding posts. They must be at least 75 cm long (e.g. item no. 44219).
- If the soil is dry or if the fence is very long, install additional grounding posts at intervals of about 2–3 m to improve the grounding. We recommend using the cable with item no. 33615 to connect the grounding posts together.
Tip for correct spacing
The following rule applies: length of grounding post + length of second grounding post = min. distance between these two grounding posts (e.g.: grounding post 1 (0.75 m) + grounding post 2 (1.5 m) = min. 2.25 m distance between the two grounding posts)
7.5 BUILDING THE FENCE
In addition to correct grounding, you need suitable conductor material and insulators for the ideal electric fence. Conductor material has a low electrical resistance, which allows the current to flow better. Insulators have a high electrical resistance and are used to hold or guide the conductor material. Seek advice to find out which products are suitable for your purposes.
To ensure better conductivity of your fencing system, observe the following points:
- Keep your fence free of vegetation at all times. Do not run your fence through hedges and prevent branches or bushes from closing the circuit. Overgrowth reduces the voltage of your fence and the impact strength of the current pulse may no longer be strong enough.
- Make sure that the conductor material of your fence does not touch the ground, e.g. due to sagging.
- Only use fence posts with insulators to insulate the conductor material from the post and the earth. In this way, you prevent voltage from being lost and ensure that the desired current strength flows through the conductor material of your fence.
OPERATION OF THE DEVICE
8.1 SWITCH ON AND OFF
The VOSS. farming sunny200 has two switch-on options:
- The energizer pulses at normal speed (every 1.5 sec.)
AUTO
- When the battery voltage is less than 12 V, the energizer pulses at a speed of 3 sec.
- The energizer pulses at normal speed during the day (every 1.5 sec.)
NIGHT
- The energizer pulses at night with a speed of 3 sec.
- When the battery voltage is less than 12 V, the energizer pulses at a speed of 3 sec.
To switch on the energizer, set the switch (1) to one of the two levels.
The LED (4) flashes green in time with the pulse.
NOTICE
- If the control LED does not light up, the device is switched off, the battery is empty or there is a defect in the device.
- If there is no pulse output and the control LED flashes very quickly, the battery must be recharged. The deep discharge protection has been activated.
To switch off the energizer, set the switch (1) to OFF.
8.2 DEEP DISCHARGE PROTECTION
With the energizer, a deep discharge protection is set as soon as the battery falls below a certain voltage. This protects the battery from damage. The energizer is still switched on in this battery protection mode, but no more pulses are emitted. The battery must then be charged externally with the supplied power adapter.
NOTICE
During recharging, the device must not be connected to the electric fence.
8.3 CONTROL LED
The control LED (3) gives you information about the status of the battery.
- When the battery is full, the device pulses at normal speed (every 1.5 sec.) and the LED lights up at the same rate.
- At medium battery voltage, the device only pulses every 3 sec. The “Eco mode” is switched on and the LED continues to flash at the same rate as the current pulse. The battery should be recharged (see section 10.1).
NOTICE
Note that when the NIGHT mode is switched on, the energizer automatically switches to “Eco mode” at night. If the energizer in NIGHT mode also uses “Eco mode” during the day, the battery should be recharged (see section 10.1).
- When the deep discharge protection is reached, the device no longer pulses and the control LED flashes quickly. In this case, the battery must be charged with the supplied power supply unit (see section 10.1).
CLEANING
NOTICE
- Do not use aggressive solvents/cleaning agents, brushes, sharp objects or similar for cleaning. These can damage the surface.
- Do not immerse the device in water or other liquids. There is a risk of a short circuit.
Clean the solar module regularly with a soft cloth and glass cleaner or a mild cleaning solution and water. This ensures that the solar module works efficiently.
MAINTENANCE
The device operates with low maintenance. Nevertheless, you should carry out regular visual inspections. Check the device for damage before each use. There are no parts inside the device that require maintenance.
NOTICE
Do not use the device if it shows visible damage.
10.1 CHARGE BATTERY
The battery of the energizer can be charged via the solar module as well as via a charger (14.4 V/1 A).
The solar panel of the device charges an empty battery within 2-3 days. The requirement for this is that the device is switched off and there is enough sunlight.
Info
The power adapter is included. It is not possible to overcharge the battery.
NOTICE
When charging the device via an adapter, the device MUST be disconnected from the fence! A fully charged battery should be able to power the energizer for about 10-14 days even without sunlight.

TROUBLESHOOTING
NOTICE
- Do not make any improper changes or modifications to the device.
- Never open the housing. Contact the manufacturer for repairs.
If the device malfunctions or other defects are detected, even after following the suggested solutions below, contact the manufacturer. The contact details can be found in chapter 20.
| Error/Problem | Solution |
| Control LED (green) not lit/not flashing | • Check if the device is switched on. • Check if the battery is charged. |
| Device pulses slowly (every 3 seconds) | Device is in Eco mode(battery low). Recharge the battery(see section 10.1). Note that when the NIGHT mode is switched on, the energizer automatically switches to “Eco mode at night. If the energizer in NIGHT mode also uses “Eco mode during the day, the battery should be recharged (see section 10.1). |
| LED Flashing very fast | Deep discharge protection is active. Recharge the battery(see section 10.1).. |
| Device does not charge via power supply unit/Defective power supply unit | Replacement of the power supply unit. |
| Power supply unit flashes red/ green | Check if the power supply is correctly connected to the device. |
| Drain or short circuit of the fence supply cable | Do not use a conventional cable for the supply line. We recommend using a high voltage cable (Art. 32611). |
| Voltage on the fence is not enough | Fence length too long. Reduce the area or use a more powerful device. |
| Voltage loss/leakage at the fence | • Remove vegetation from the fence (mow, cut back). • Check whether the insulators are defective(recognizable by ‘cracking’ and possibly sparking in the insulator). Replace defective and weathered insulators. • Check whether the conductor material touches the ground (e.g. due to breaks, insufficient tension). Repair the fencing, use only special connectors and tension the conductor material. • Check if the conductor material has unfavorable properties (thin conductor, high resistance). Use high quality conductor material with low resistance and larger diameter. Ensure high quality wiring of the conductor material. • Make sure that the conductor material is not connected by knots and that there is adequate connection. Use suitable connectors for the conductor material. |
| Poor grounding | • Follow the tips in section 7.4. • Check whether the ground rod is corroded. Replace corroded ground rods. • Check that the cables/connections are intact. Replace defective parts. |
TROUBLESHOOTING DIAGRAM

FENCE LEAD AND GROUNDING CHECK

TROUBLESHOOTING TIPS FROM OUR EXPERTS
TIP 1: TEST THE ENERGISER (FIG. 1)
- Remove the nuts from the fence and ground terminals.
- Hold the grounding rod of a fence tester against the energizer’s ground terminal.
- Now touch the fence tester against the energizer’s fence terminal. You should have the voltage over 6000 V. Measurements should only be done with 2-pole fence testers (with an earth rod).
Do not use 1-pole fence testers!
TIP 2: CHECK FENCE SUPPLY LINE
- Switch off the energizer.
- Disconnect the fence connection cable from the fence.
- Switch the energizer on again and measure on the fence connection cable directly. (Here the voltage should be almost identical to the voltage directly on the energizer).
TIP 3: CHECK GROUNDING (FIG. 2)
How do I measure the voltage directly on the earth rod?
- Short-circuit the fence wire to the ground at a distance of approx. 10m from the grounding (e.g. using the iron rods).
- Now put the fence tester grounding rod between the 2 points and measure the voltage directly on the grounding rods. (The voltage should not exceed 1000V) If there is already voltage on the grounding without iron rods, this must be improved.

TIP 4: POWER SUPPLY
- 9V energizers: battery voltage should be between 4 – 9 V.
- 12V energizers: battery voltage should be above 11.4 V. Under 11 V deep discharge possible.
- 230V energizers: energizers must blink, if necessary try on another power outlet (no blinking = defective).
DO NOT USE INVERTERS WITH 230V DEVICES!
TIP 5: FENCE CONNECTION
- Underground lines should only be installed with Art. 32611/32612. (Installation in the protective pipe is recommended).
- Above-ground lines should be protected from sharp edges. If possible, lay in insulators to prevent flashovers.
- Fence supply lines should only be laid with high voltage resistant cables. No house installation cables may be used (approval only up to 500V).
TIP 6: IMPROVE GROUNDING
- Drive the earth rods into damp soil at least 1 m deep and 10 m away from the building.
- If necessary, add more rods at a distance of at least 3 m between them and connect them together. Earth rods must be non-rusting, which means they are either stainless steel or Galvanised.
TIP 7: TYPICAL LAYOUT OF AN ELECTRIC FENCE SYSTEM

- ENERGISER
It supplies power to the fence system. The choice of a unit depends on the total fence length, animal species to be fenced in or out and available power supply options. There are 9 V battery energizers, 12V rechargeable battery energizers and mains energizers. - GROUNDING ROD / EARTHING
The basic requirement for a functional electric fence, optimal fence voltage and fence security is good grounding. The ideal distance between grounding rods is 3 m and they should be pushed as deep as possible into the ground. In accordance to VDE, fence and house grounding must be at least 10m apart.
Info
Ground rods must be rust-resistant. In dry conditions, watering the grounding rods to improve the grounding and to have sufficient voltage at the fence often helps. As standard, 1-1.5m long rods are used. - HIGH VOLTAGE CABLE
This cable is multi-purpose. It is used, among other things, to connect the energizer to the grounding rod or connecting several rods together. In addition, high-voltage cables are used to pass electricity close to the ground or underground.
NOTICE
Only 1-core (high-voltage suitable) cables may be used and never commercially available 3-core household cables (NYM cables). To prevent damage from stones,
rodents, etc, you can pass the cable through a garden hose or similar. - FENCE CONNECTION CABLE
This cable is used to connect the energizer to the electric fence. A high voltage insulated cable is recommended for this purpose. The connection can be made directly from the energizer to the fence, but also via an intermediate lightning protection device or a fence switch.
Info
Depending on the type of the conductor material, there are prefabricated cables with eyelets or connectors at the ends for quick and easy installation. - CONNECTION CABLE
Connection cables are used to carry voltage to all conductor rows of the electric fence system.
This allows two or three rows to be connected together and distribute the current.
Info
Depending on the length of the fence, it is recommended to install connecting cables every 200 – 400m.
6. WARNING SIGNS
The signposting of electric fences is mandatory in public areas. The signs must be clearly visible and attached to the fence approx. every 50 – 100 m. Check with your local authority the distance required in your area.
Info
Warning signs are available in different languages. - ANIMAL
As soon as the animal touches the conductor material, the circuit is closed and the animal receives an unpleasant but harmless electric shock.
Info
Depending on the animal species, different demands are placed on the electric fence system. Get advice to find out which products are suitable for your purposes.
FAQ
– No, because the circuit is closed by contact of animals or vegetation over the ground.
– Yes, if the energizer is strong enough.
– ABSOLUTELY NOT, under no circumstances, as this can have a fatal outcome.
– Any leakage, either through vegetation (e.g. grass, branches) or damaged insulators, whereby the current is discharged directly into the ground, leads to the loss of voltage on the fence.
TRANSPORT AND STORAGE
NOTICE
- When transporting the electric fence, protect the solar panel to prevent damage to the glass surface. For longer transports, it is recommended to transport the device in its original packaging.
- If the energizer is stored for a longer period of time, the battery may discharge itself and can become damaged.
- The energizer should be stored indoors and turned off. If possible next to a window so that sunlight can shine on the solar panel. If this is not possible, the device should be stored in a cool place. The battery should be fully charged and switched off. If necessary, use the supplied power supply unit for maintenance charging (approx. 1x per month) The battery cannot be replaced by the customer.
DISPOSAL
The crossed-out wheelie bin symbol on the product or its packaging indicates that the product must not be disposed of with normal household waste. End users are required to hand in the appliance at a collection point for waste electrical and electronic equipment.
If the product contains a battery or a rechargeable battery, these should be disposed of separately from the product if possible. As an end user you are legally obliged to return used batteries. You can return used batteries that we supply or have supplied as new batteries free of charge to our warehouse (shipping address) or to a recycling centre in your area. If the battery or the rechargeable battery contains more than 0.0005% mercury by weight, more than 0.002% cadmium by weight or more than 0.004% lead by weight, this will be clearly indicated by the respective chemical symbol (Hg Cd, or Pb) below the symbol of the crossed-out wheelie bin on the battery or the rechargeable battery. Recyclable materials such as zinc, iron, aluminium, lithium and silver can be found in batteries and rechargeable batteries. They may also contain substances such as mercury, cadmium and lead. These are poisonous and dangerous to the environment if not disposed of properly. Heavy metals can have harmful effects on human, animal and plant health and accumulate in the environment.
The separate collection and proper disposal of your old appliances and used batteries/rechargeable batteries contributes to the conservation of natural resources and guarantees recycling that protects human health and preserves the environment. Information on where to find collection points for your old appliances or used batteries/rechargeable batteries can be obtained from your town or council administration, the local waste disposal companies or from VOSS GmbH & Co. KG.
CE AND UKCA DECLARATION OF CONFORMITY
VOSS GmbH & Co KG hereby declares that the product described in this manual complies with the essential requirements and other relevant regulations and legal directives.
The CE mark confirms compliance with the legal requirements in the European Union legal requirements and the UKCA mark confirms compliance with the legal requirements of the United Kingdom. The manufacturer is in possession of the Declaration of Conformity.
WARRANTY CONDITIONS
| Name and address of the guarantor: | VOSS GmbH & Co. KG, Ohrstedt-Bhf. Nord 5, 25885 Wester-Oersted |
| Warranty period: | 3 years from the date of purchase. If a warranty case occurs during the warranty period, the warranty period is not extended. |
| Warranty territory: | Warranty is extended to all purchasers domiciled in the European Union, Switzerland and United Kingdom. |
If the purchased product was defective at the time of transfer of risk, the buyer shall be entitled to the statutory claims for subsequent performance, withdrawal, reduction of the purchase price, compensation for damages or reimbursement of wasted costs in accordance with the Consumer Rights Act 2015 (CRA 2015). The legal rights of the consumer are not limited by the warranty. The warranty applies in addition to the statutory rights.
Warranty contents
- The warranty applies to products that exhibit a defect due to manufacturing faults and/or material faults during the warranty term.
- In the event of a warranty claim, the warrantor has the discretionary right to repair or replace the purchased product or to reimburse the purchase price. The warrantor will only refund shipping costs by prior and explicit confirmation.
- Warranty is only extended to the purchaser and is non-transferable.
Exclusion of warranty
- The warranty does not apply insofar as the defect is caused by improper use and/or a failure to adhere to the installation instructions, instruction manual and/or maintenance instructions.
- Furthermore, the warranty does not apply if the defect is due to natural wear and tear, wear and tear caused by use, overloading, overvoltage, lightning strike, wilful destruction, transport damage and accident damage after receipt of the goods, or caused by repair and rectification attempts by the customer or a third party commissioned by the customer. The warranty also does not apply to damage to the product that is caused by accessories that were not included with the original product.
- The warranty does not apply to accessories that are included with the original product.
Exercising warranty claims
In order to exercise a warranty claim, the purchaser must send a letter or email to VOSS GmbH & Co. KG describing the warranty claim. The purchaser must prove their right to warranty by presenting the invoice or other appropriate documents (e.g. order confirmation) that enable the purchaser, the date of purchase and the purchased product to be identified.
SERVICE AND CONTACT
Address:
VOSS GmbH & Co. KG
Ohrstedt-Bhf. Nord 5, 25885 Wester-Oersted
Germany
E-mail: [email protected]

VOSS GMBH & CO. KG
Ohrstedt-Bhf. Nord 5
25885 Wester-Oersted
Germany
www.voss-group.eu



















