ASHCROFT IMPORTS FURNITURE LCHR-PEN-TAN Style Wide Top Leather Accent Armchair Instruction Manual

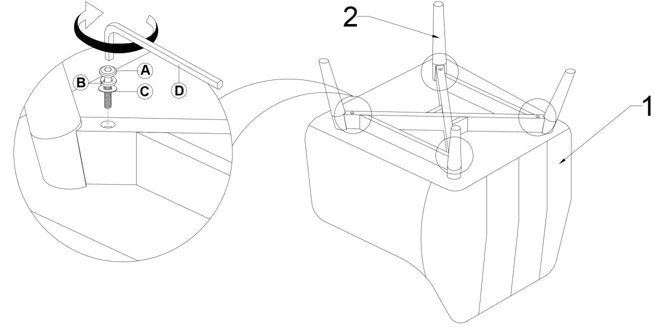
Thanks you for purchasing this quality product. Be sure to lay all components on a soft and clean surface before assembly in order to avoid components from being scratched.
CAUTIONS :
- Check contents against list for quantity.
- Familiarize yourself with the components and hardware by reviewing the Assembly Instructions.
- Do not over tightened the screws and bolts as it may damage the threads.
- Keep all hardware parts out of the reach of children.
- Please “LIFT UP & MOVE” the chair when ever you want to shift it.
PARTS LIST

HARDWARE LIST



COMPLETED ASSEMBLY











