PREDATOR Generator Wheel Kit Owner’s Manual

Save This Manual Keep this manual for the safety warnings and precautions, assembly, operating, inspection, maintenance and cleaning procedures. Write the product’s serial number in the back of the manual near the assembly diagram (or month and year of purchase if product has no number). Keep this manual and the receipt in a safe and dry place for future reference.
Specifications
For use with: ALL Predator® Generators
Wheel Diameter: 8″
When unpacking, make sure that the product is intact and undamaged. If any parts are missing or broken, please call 1-888-866-5797 as soon as possible.
Copyright© 2021 by Harbor Freight Tools®. All rights reserved.
No portion of this manual or any artwork contained herein may be reproduced in any shape or form without the express written consent of Harbor Freight Tools. Diagrams within this manual may not be drawn proportionally. Due to continuing improvements, actual product may differ slightly from the product described herein. Tools required for assembly and service may not be included.
Visit our website at: http://www.harborfreight.com
Email our technical support at: [email protected] Email our engine support at: [email protected]
Warning: Read this material before using this product. Failure to do so can result in serious injury. SAVE THIS MANUAL.
IMPORTANT SAFETY INFORMATION
WARNING:
Read all safety warnings and instructions. Failure to follow the warnings and instructions may result in serious injury.
Save all warnings and instructions for future reference.
- Keep work area clean and well lit. Cluttered or dark areas invite accidents.
- Stay alert, watch what you are doing and use common sense when assembling the Wheel Kit. Do not assemble while you are tired or under the influence of drugs, alcohol or medication. A moment of inattention may result in serious personal injury.
- Use personal protective equipment. Always wear eye protection. Safety equipment such as dust mask, non-skid safety shoes, hard hat,
or hearing protection used for appropriate conditions will reduce personal injuries. - Dress properly. Do not wear loose clothing or jewelry. Keep your hair, clothing and gloves away from moving parts. Loose clothes, jewelry or long hair can be caught in moving parts.
- Turn off and unplug all loads and allow generator to cool completely before assembling the Wheel Kit onto a generator.
- Support the generator on a raised platform so that the Wheels and feet can easily be attached.
- Assemble wheel kit completely before attempting to use generator. Do not partially install kit, or use only part of the kit.
- Do not roll generator on uneven surfaces, or on inclines.
- Inspect before moving. Do not move if parts loose, bent, or damaged.
- Turn off and unplug all loads before moving generator. Do not move generator while in operation or hot.
- Ground generator after moving according to generator instructions.
- Secure generator properly before transporting on a vehicle.
- Maintain labels and nameplates on the tool. These carry important safety information. If unreadable or missing, contact Harbor Freight Tools for a replacement.
- This product is not a toy. Keep it out of reach of children.
SAVE THESE INSTRUCTIONS.
Assembly Instructions
Read the ENTIRE IMPORTANT SAFETY INFORMATION section at the beginning of this manual including all text under subheadings therein before set up or use of this product.
WARNING: TO PREVENT SERIOUS INJURY FROM ACCIDENTAL OPERATION: Turn the Power Switch of the generator off and unplug all loads from the unit before assembly.
Installing the Wheels
- Unpack and identify all parts.
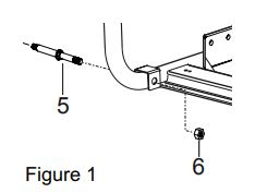
- Slide the Axle (5) onto one side of the compressor frame and secure the Nut (6) in place. Repeat on the other side of the frame.

- Slide a Washer (4), a Wheel (3), and another Washer (2) onto an Axle and secure the Nut (1) in place. Repeat on the other Axle.

Installing the Feet
- Secure the Foot (18) onto the bottom of the Foot Support (16) with a Bolt (19) and Nut (15).

- Working on the opposite end of the Frame from the wheels, align the holes in the frame with a Foot 15 Support (16) and secure in place with two Bolts (17) and Nuts (15). Repeat with the other Foot support.

Installing the Handle
- Remove the bolt holding the Handle (12) to the Handle Seat (7) before installing the Handle Seat.

- Holding the Handle Seat as shown at right, align the holes of the Handle Seat (7) with the holes on the generator frame on the same side as the Feet.
- Secure in place with the four Bolts (8, 9) and Nuts (14).

- Align the Handle (12) with the holes in the Handle Seat and secure in place with the Bolt (11) and Nut (10).

- Use the Pin (22) to secure the handle in the raised or lowered position.

Maintenance
WARNING: TO PREVENT SERIOUS INJURY FROM TOOL FAILURE: Do not use damaged equipment. If abnormal noise or vibration occurs, have the problem corrected before further use.
- BEFORE EACH USE, inspect the general condition of the wheels and hardware. Check for loose parts, misalignment or binding of moving parts, cracked or broken parts, and any other condition that may affect safe operation of assembly.
- AFTER USE, wipe external surfaces with a clean cloth.
Parts List and Diagram
PLEASE READ THE FOLLOWING CAREFULLY
THE MANUFACTURER AND/OR DISTRIBUTOR HAS PROVIDED THE PARTS LIST AND ASSEMBLY DIAGRAM IN
THIS MANUAL AS A REFERENCE TOOL ONLY. NEITHER THE MANUFACTURER OR DISTRIBUTOR MAKES ANY REPRESENTATION OR WARRANTY OF ANY KIND TO THE BUYER THAT HE OR SHE IS QUALIFIED TO MAKE ANY REPAIRS TO THE PRODUCT, OR THAT HE OR SHE IS QUALIFIED TO REPLACE ANY PARTS OF THE PRODUCT. IN FACT, THE MANUFACTURER AND/OR DISTRIBUTOR EXPRESSLY STATES THAT ALL REPAIRS AND PARTS REPLACEMENTS SHOULD BE UNDERTAKEN BY CERTIFIED AND LICENSED TECHNICIANS, AND NOT BY THE BUYER. THE BUYER ASSUMES
ALL RISK AND LIABILITY ARISING OUT OF HIS OR HER REPAIRS TO THE ORIGINAL PRODUCT OR REPLACEMENT PARTS THERETO, OR ARISING OUT OF HIS OR HER INSTALLATION OF REPLACEMENT PARTS THERETO.

| Part | Description | Qty |
| 1 | Nut | 2 |
| 2 | Washer | 2 |
| 3 | Wheel | 2 |
| 4 | Washer | 2 |
| 5 | Axle | 2 |
| 6 | Nut | 2 |
| 7 | Handle Seat | 1 |
| 8 | Bolt | 2 |
| 9 | Bolt | 2 |
| 10 | Nut | 1 |
| 11 | Bolt | 1 |
| 12 | Handle | 1 |
| 13 | Rubber Sleeve | 1 |
| 14 | Nut | 4 |
| 15 | Nut | 6 |
| 16 | Foot Support | 2 |
| 17 | Bolt | 4 |
| 18 | Foot Support | 2 |
| 19 | Bolt | 2 |
| 22 | Pin | 1 |
| 23 | Tether | 1 |
Note: Some parts are listed and shown for illustration purposes only, and are not available individually as replacement parts. Specify UPC 792363685313 when ordering parts.
Limited 90 Day Warranty
Harbor Freight Tools Co. makes every effort to assure that its products meet high quality and durability standards, and warrants to the original purchaser that this product is free from defects in materials and workmanship for the period of 90 days from the date of purchase. This warranty does not apply to damage due directly or indirectly, to misuse, abuse, negligence or accidents, repairs or alterations outside our facilities, criminal activity, improper installation, normal wear and tear, or to lack of maintenance. We shall in no event be liable for death, injuries to persons or property, or for incidental, contingent, special or consequential damages arising from the use of our product. Some states do not allow the exclusion or limitation of incidental or consequential damages, so the above limitation of exclusion may not apply to you. THIS WARRANTY IS EXPRESSLY IN LIEU OF ALL OTHER WARRANTIES, EXPRESS OR IMPLIED, INCLUDING THE WARRANTIES OF MERCHANTABILITY AND FITNESS.
To take advantage of this warranty, the product or part must be returned to us with transportation charges prepaid. Proof of purchase date and an explanation of the complaint must accompany the merchandise. If our inspection verifies the defect, we will either repair or replace the product at our election or we may elect to refund the purchase price if we cannot readily and quickly provide you with a replacement. We will return repaired products at our expense, but if we determine there is no defect, or that the defect resulted from causes not within the scope of our warranty, then you must bear the cost of returning the product.
This warranty gives you specific legal rights and you may also have other rights which vary from state to state.
PREDATOR Generator Wheel Kit Owner’s Manual





















