metabo 600737000 FME 737 Router and Grinder Motor Instruction Manual


EN 60745
98/37/EG (➛28.12.09), 2006/42/EG (29.12.09➛), 2004/108/EG
Volker Siegle
Director Innovation, Research and Development
Responsible Person for Documentation
© 2009 Metabowerke GmbH, 72622 Nürtingen, Germany


Original instructions
Dear Customer,
Thank you for the trust you have placed in us by buying a Metabo power tool. Each Metabo power tool is carefully tested and subject to strict quality controls by Metabo’s quality assurance. Nevertheless, the service life of a power tool depends to a great extent on you. Please observe the information contained in these instructions and the enclosed documentation. The more carefully you treat your Metabo power tool, the longer it will provide dependable service.
Contents
- Conformity Declaration
- Specified Conditions of Use
- General Safety Information
- Special Safety Information
- Overview
- Initial Operation
- Use
- Accessories
- Repairs
- Environmental Protection
- Technical Specifications
Conformity Declaration
We, being solely responsible, hereby declare that this product conforms to the standards and directives specified on page 2.
Specified Conditions of Use
The machines are designed…
– … for fine grinding work with abrasive points on metal.
– … for routing with end mill cutters on non-ferrous metals, plastics, hardwood, etc.
Suitable for actuating an appropriate Metabo flexible shaft.
Can be upgraded to a router using suitable original Metabo accessories.
The user bears sole responsibility for any damage caused by inappropriate use.
Generally accepted accident prevention regulations and the enclosed safety information must be observed.
General Safety Information
WARNING – Reading the operating instructions will reduce the risk of injury.
WARNING Read all safety warnings and all instructions. Failure to follow the warnings and instructions may result in electric shock, fire and/or serious injury.
Save all warnings and instructions for future reference.
Before using this power tool, carefully read through and familiarise yourself with all the enclosed safety information and the instructions.
Keep all enclosed documentation for future reference, and pass on your power tool only together with this documentation.
Special Safety Information
4.1 Safety Warnings Common for Grinding, Sanding, Wire Brushing, Polishing or Abrasive Cutting-Off Operations:
a) This power tool is intended to function as a grinder. Read all safety warnings, instructions, illustrations and specifications provided with this power tool. Failure to follow all instructions listed below may result in electric shock, fire and/or serious injury.
b) Operations such as sanding, wire brushing, polishing or cutting-off are not recommended to be performed with this power tool. Operations for which the power tool was not designed may create a hazard and cause personal injury.
c) Do not use accessories which are not specifically designed and recommended by the tool manufacturer. Just because the accessory can be attached to your power tool, it does not assure safe operation.
d) The rated speed of the accessory must be at least equal to the maximum speed marked on the power tool. Accessories running faster than their rated speed can break and fly apart.
e) The outside diameter and the thickness of your accessory must be within the capacity rating of your power tool. Incorrectly sized accessories cannot be adequately guarded or controlled.
f) The arbour size of wheels, flanges, backing pads or any other accessory must properly fit the spindle of the power tool. Accessories with arbour holes that do not match the mounting hard ware of the power tool will run out of balance, vibrate excessively and may cause loss of control.
g) Do not use a damaged accessory. Before each use inspect the accessory such as abrasive wheels for chips and cracks, backing pad for cracks, tear or excess wear, wire brush for loose or cracked wires. If power tool or accessory is dropped, inspect for damage or install an undamaged accessory. After inspecting and installing an accessory, position yourself and bystanders away from the plane of the rotating accessory and run the power tool at maximum no-load speed for one minute. Damaged accessories will normally break apart during this test time.
h) Wear personal protective equipment. Depending on application, use face shield, safety goggles or safety glasses. As appropriate, wear dust mask, hearing protectors, gloves and a workshop apron capable of stopping small abrasive or workpiece fragments. The eye protection must be capable of stopping flying debris generated by various operations. The dust mask or respirator must be capable of filtrating particles generated by your operation.
Prolonged exposure to high intensity noise may cause hearing loss.
i) Keep bystanders a safe distance away from work area. Anyone entering the work area must wear personal protective equipment. Fragments of workpiece or of a broken accessory may fly away and cause injury beyond immediate area of operation.
j) Hold power tool by insulated gripping surfaces only, when performing an operation where the cutting accessory may contact hidden wiring or its own cord. Cutting accessory contacting a “live” wire may make exposed metal parts of the power tool “live” and shock the operator.
k) Position the cord clear of the spinning accessory. If you lose control, the cord may be cut or snagged and your hand or arm may be pulled into the spinning accessory.
I) Never lay the power tool down until the accessory has come to a complete stop. The spinning accessory may grap the surface and pull the power tool out of your control.
m) Do not run the power tool while carrying it at your side. Accidental contact with the spinning accessory could snag your clothing, pulling the accessory into your body.
n) Regularly clean the power tool’s air vents. The motor’s fan will draw the dust inside the housing and excessive accumulation of powdered metal may cause electrical hazards.
o) Do not operate the power tool near flammable materials. Sparks could ignite these materials.
p) Do not use accessories that require liquid coolants. Using water or other liquid coolants may result in electrocution or shock.
4.2 Kickback and Related Warnings:
Kickback is a sudden reaction to a pinched or snagged rotating wheel, backing pad, brush or any other accessory. Pinching or snagging causes rapid stalling of the rotating accessory which in turn causes the uncontrolled power tool to be forced in the direction opposite of the accessory’s rotation at the point of the binding.
For example, if an abrasive wheel is snagged or pinched by the workpiece, the edge of the wheel that is entering into the pinch point can dig into the surface of the material causing the wheel to climb out or kick out. The wheel may either jump toward or away from the operator, depending on direction of the wheel’s movement at the point of pinching. Abrasive wheels may also break under these conditions.
Kickback is the result of power tool misuse and/or incorrect operating procedures or conditions and can be avoided by taking proper precautions as given below.
a) Maintain a firm grip on the power tool and position your body and arm to allow you to resist kickback forces. Always use auxiliary handle, if provided, for maximum control over kickback or torque reaction during start-up.
The operator can control torque reactions or kickback forces, if proper precautions are taken.
b) Never place your hand near the rotating accessory. Accessory may kickback over your hand.
c) Do not position your body in the area where power tool will move if kickback occurs. Kickback will propel the tool in direction opposite to the wheel’s movement at the point of snagging.
d) Use special care when working corners, sharp edges etc. Avoid bouncing and snagging the accessory. Corners, sharp edges or bouncing have a tendency to snag the rotating accessory and cause loss of control or kickback.
e) Do not attach a saw chain woodcarving blade or toothed saw blade. Such blades create frequent kickback and loss of control.
4.3 Safety Warnings Specific for Grinding and Cutting-Off Operations:
a) Use only wheel types that are recommended for your power tool and the specific guard designed for the selected wheel. Wheels for which the power tool was not designed cannot be adequately guarded and are unsafe.
b) Wheels must be used only for recommended applications. For example: do not grind with the side of cut-off wheel. Abrasive cut-off wheels are intended for peripheral grinding, side forces applied to these wheels may cause them to shatter.
c) Always use undamaged wheel flanges that are of correct size and shape for your selected wheel. Proper wheel flanges support the wheel thus reducing the possibility of wheel breakage. Flanges for cut-off wheels may be different from grinding wheel flanges.
d) Do not use worn down wheels from larger power tools. Wheels intended for larger power tools are not suitable for the higher speed of a smaller tool and may burst.
Use elastic cushioning layers if they have been supplied with the abrasive and if required.
Observe the specifications of the tool or accessory manufacturer! Protect the discs from grease or impacts!
Abrasives must be stored and handled with care in accordance with the manufacturer’s instructions.
The tool must lay flat and be secured against slipping, e.g. using clamps. Large workpieces must be sufficiently supported.
For your own protection and for the protection of your power tool pay attention to all parts of the text that are marked with this symbol!
Always wear protective goggles.
Do not grasp the rotating tool! Remove chips and similar matter only with the machine at standstill.
Prior to use, ensure that the coated abrasive is properly fitted and secured. Run the tool in idling for 30 seconds in a safe position and bring to a standstill immediately if there are significant vibrations or if other deficiencies are determined. If such a situation occurs, check the machine to determine the cause.
Ensure that sparks produced during work do not constitute a risk to the user or other personnel and are not able to ignite inflammable substances. Endangered areas must be protected with flame resistant covers. Make sure that fire-risk areas are always provided with suitable fire extinguishers.
Dust from material such as paint containing lead, some wood species, minerals and metal may be harmful. Contact with or inhalation of the dust may cause allergic reactions and/or respiratory diseases to the operator or bystanders. Certain kinds of dust are classified as carcinogenic such as oak and beech dust especially in conjunction with additives for wood conditioning (chromate, wood preservative). Material containing asbestos must only be treated by specialists.
– Where the use of a dust extraction device is possible it shall be used.
– The work place must be well ventilated.
– The use of a dust mask of filter class P2 is recommended.
Follow national requirements for the materials you want to work with.
Materials that generate dusts or vapours that may be harmful to health (e.g. asbestos) must not be processed.
When working in dusty conditions, ensure that ventilation openings are not blocked. If it becomes necessary to remove dust, first disconnect the power tool from the mains supply (use nonmetallic objects) and avoid damaging internal components.
Damaged, eccentric or vibrating tools must not be used.
Overview
See page 3 (please unfold).
- Collet
- Collet nut
- Slide switch
- Thumb-wheel for setting speed
Initial Operation
Before plugging in check to see that the rated mains voltage and mains frequency, as stated on the rating label, match with your power supply.
Use
7.1 Collets
The tool shank diameter must exactly match the collet bore (1) !
Collets are available for various shank diameters.
See section Accessories.
7.2 Inserting the tools
Pull the mains plug out of the plug socket!
Use only tools that are suitable for the no load speed of your machine ! See technical specifications.
The shank diameter of the tool must exactly match the collet bore (1) !
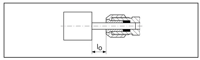
In the case of mounted points the maximum permissible open shank length as specified by the manufacturer must not be exceeded l0 !

Insert the entire length of the tool shank into the collet (1).
Stop the spindle using the 13 mm spanner provided.
Tighten the collet nut (2) with the 19 mm spanner.
If no tool has been inserted into the collet, do not tighten the collet with the spanner, but screw the nut on by hand !
7.3 Switching On and Off
Switch on first, then guide the accessory towards the workpiece.
Avoid inadvertent starts: always switch the tool off when the plug is removed from the mains socket or if there has been a power cut.
In continuous operation, the machine continues running if it is forced out of your hands. Therefore, always hold the machine with both hands using the handles provided, stand in a safe position and concentrate.
To switch on: Push the slide switch (3) forward.
For continuous activation, now tilt downwards until it engages.
To switch off: Press the rear end of the slide switch (3) and release it.
7.4 Setting the speed
The speed can be preset via the thumb-wheel (4) and is infinitely variable.
For speeds see table on page 3.
7.5 Working instructions
Grinding:
Press down the machine evenly on the surface and move back and forth so that the surface of the workpiece does not become too hot.
Accessories
Use only genuine Metabo accessories.
If you need any accessories, check with your dealer.
For the dealer to select the correct accessory, he needs to know the exact model designation of your power tool.
See page 4.
A Collets (including nut)
B Mounted points
C Milling bits
D Bench stand, and for this:
E G-clamp
F Flexible shaft
G Moulding/routing adapter. (For upgrading to router.)
H Metabox system
Repairs
Repairs to electrical tools must be carried out by qualified electricians ONLY!
Any Metabo power tool in need of repair can be sent to one of the addresses listed in the spare parts list.
Please attach a description of the fault to the power tool.
Environmental Protection
Metabo’s packaging can be 100% recycled.
Scrap power tools and accessories contain large amounts of valuable resources and plastics that can be recycled.
These instructions are printed on chlorine-free bleached paper.
Only for EU countries: Never dispose of power tools in your household waste! In accordance with European Guideline 2002/96/EC on used electronic and electric equipment and its implementation in national legal systems, used power tools must be collected separately and handed in for environmentally compatible recycling.
Technical Specifications
Explanatory notes on the information on page 2.
Changes due to technological progress reserved.
Explanation of details on page 2 . Subject to changes serving technical progress.
S = Spindle lock for easy tool changes
n = Rated speed (maximum speed)
n1 = On load speed
P1 = Nominal power input
P2 = Power output
Dmax = Maximum sanding disc diameter
d = Collet bore
m = Weight without mains cable
Vibration total value (vector sum of three directions) determined in accordance with EN 60745:
ah, SG = Vibration emission value
(sanding surfaces)
Kh,SG = Unsafe (vibration)
The vibration emission level given in this information sheet has been measured in accordance with a standardised test given in EN 60745 and may be used to compare one tool with another. It may be used for a preliminary assessment of exposure.
The declared vibration emission level represents the main applications of the tool. However if the tool is used for different applications, with different accessories or poorly maintained, the vibration emission may differ. This may significantly increase the exposure level over the total working period.
An estimation of the level of exposure to vibration should also take into account the times when the tool is switched off or when it is running but not actually doing the job. This may significantly reduce the exposure level over the total working period.
Identify additional safety measures to protect the operator from the effects of vibration such as: maitain the tool and the accessories, keep the hands warm, organisation of work patterns.
Typical A-effective perceived sound levels:
LpA = Sound pressure level
LWA = Acoustic power level
KpA/WA = Unsafe (sound level)
During operation the noise level can exceed 80 dB(A).
Wear ear protectors!
Measured values determined in conformity with EN 60745.
Machine in protection class II
The technical specifications quoted are subject to tolerances (in compliance with the relevant valid standards).

Metabowerke GmbH,
72622 Nürtingen, Germany
www.metabo.com



















