COSTWAY HY10013 Childrens Desk and Chair

THIS INSTRUCTION BOOKLET CONTAINS IMPORTANT SAFETY INFORMATION. PLEASE READ AND KEEP FOR FUTURE REFERENCE.
Contact Us!
Do NOT return this item.
Contact our friendly customer service department for help first.
US: [email protected]
UK: [email protected]
Before You Start
WARNING:
- Read each step carefully before starting. It is very important to ensure each step followed in correct order, otherwise assembly difficulties may occur.
- Most of board parts are labeled or stamped on the raw edges. Have a check to make sure all parts are included.
- Work in a spacious area, preferably on a carpet close to where the unit will be used.
- Keep the handtools close at hand. Do not use power tools to assemble your furniture. They may scratch or damage the parts.

ASSEMBLY INSTRUCTION

PART LIST


Hardware List

ASSEMBLY
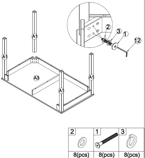
STEP 1: Assemble the table according to the following figure. Use hardware #1, #2, #3 to connect the A1(x4) legs with the A3 frame.
Check the illustration for more details.
STEP 2:
Use hardware #4 to connect the A2 panel to the frame (completed in step 1).
STEP 3: Assemble the hutch according to the following figure. Use hardware #6 and Dowel #5 to connect the C6 panel to the C7 panel.
STEP 4:
Use Dowel #5 to connect the C2 panel to the frame (completed in step 3).
STEP 5:
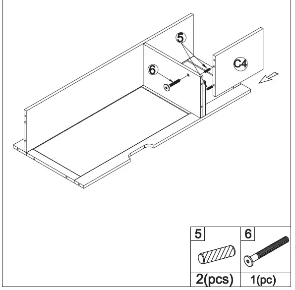
Use hardware #6 and Dowel #5 to connect the C4 panel to the frame (completed in step 4).
STEP 6:
Use hardware #6 and Dowel #5 to connect the C1 and C5 panels to the frame (completed in step 5).
STEP 7: Assemble Hutch and the table according to the picture below.
Use hardware #14,#15 and Dowel #5 to connect the Frame (com-pleted in step 2) with the frame (completed in step 6). 
STEP 8:
Use hardware #7, #8 to connect Frame (completed in step 7)
STEP 9: Assemble the chair as shown below.
Use hardware #9, #10, #11 to connect B3, B4 frame and B1 frame.
STEP 10:
Use hardware #9, #10, #11 to connect B2 Frame to Frame (com-pleted in step 9).
STEP 11:
Put the chair (completed in step 10) and drawer C8 in position. Put the removable panel C3 in position. 
Care and Maintenance
- Use a soft, clean cloth that will not scratch the surface when dusting. Use of furniture polish is not necessary.
- Should you choose to use polish, test first in an inconspicuous area. Using solvents of any kind on your furniture may damage the finish. Never use water to clean your furniture as it may cause damage to the finish.
- Liquid spills should be removed immediately. Using a soft clean cloth, blot the spill gently. Avoid rubbing.
- Check bolts/screws periodically and tighten them if necessary.
Further advice about wood furniture care - It is best to keep your furniture in a climate-controlled environment. Extreme temperature and humidity changes can cause fading, warp-ing, shrinking and splitting of wood.
- It is advised to keep furniture away from direct sunlight as sun may damage the finish.
- Proper care and cleaning at home will extend the life of your purchase. Following these important and helpful tips will enhance your furniture as it ages.
Welcome to visit our website and purchase our quality products!
With your inspiring rating, COSTWAY will be more consistent to offer you
EASY SHOPPING EXPERIENCE, GOOD PRODUCTS and EFFICIENT SERVICE!
US office: Fontana, California
UK office: Ipswich
- Reward Points
- Exclusive Customer Service
- Permanent Shopping Cart
- Order History

















