

MTW-793
March , 2023
![]()
Points de collecte sur www.quefairedemesdechets.fr
Privilégiez la réparation ou le don de votre appareil !

Safety information
Please read the safety instructions carefully before using the product for the first time and keep the instructions for future reference.
- This product is not a toy. Keep it out of reach of children.
- Warning: This product includes lithium polymer battery.
- Keep product and batteries out of the reach of children and pets to avoid chewing and swallowing
- Product operating and storage temperature is from 0 degree Celsius to 40 degree Celsius. Under and over this temperature might affect the function.
- Only use the original adaptor which are supplied with the model.
- Never open the product: the device may contain parts with deadly voltage.
- Repairs or service should only be performed by qualified personnel.
- Please notice that the standby button on the remote control only put the unit in standby.
- The direct plug-in adapter is used as disconnect device, the disconnect device shall remain readily operable. So, make sure there is space around the power outlet for easy access.
- Please protect your ears against loud volume. Loud volume can damage your ears.
- Do not expose to heat, water, moisture, direct sunlight!
- This lightning flash with arrowhead symbol within an equilateral triangle is intended to alert the user to the presence of non-insulated “dangerous voltage” within the product’s enclosure that may be of sufficient magnitude to constitute a risk of electric shock. To reduce the risk of electric shock, do not remove cover (or back) as there are no user-serviceable parts inside. Refer servicing to qualified personnel.
ATTENTION: this symbol indicates that this appliance is a class 1 laser product.
- Do not try to open the cover or look at the laser beam.
- Never touch the laser lens inside the compartment.
Denver A/S reserve the rights for print errors
Denver A/S cannot be held responsible for any technical or typographical errors and reserves the right to make changes to the product and manuals without prior notice. If you detect any inaccuracies or omissions, please inform us at the address on the back cover.
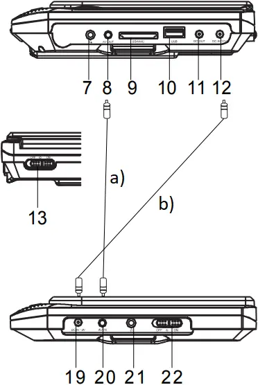
Identification of Controls
Main Unit



PLAY/PAUSE
STOP- MENU
- OPEN. Slide button to open the lid, insert DVD, close lid and turn on
- VOL-
- VOL+
Earphone Socket- AV OUT
- SD CARD
- USB
- DC OUT 12V
- DC IN 12V
- TURN ON/OFF
- VOL-
- VOL+
- MENU
Down
Up- DC IN 12V
- AV IN
Earphone Socket- TURN ON/OFF
a) AV cable
b) DC cable
Remote control unit

1. POWER
2. SUBTITLE
Press SUBTITLE repeatedly during playback to hear a different subtitle languages.
3. TITLE
Return to DVD title menu.
4. SETUP
Accesses or removes setup menu.
5. ENTER
Confirms menu selection.
6. REPEAT
Press REPEAT during playback to select a desired repeat mode.
DVD: you can play select repeat chapter/title/off.
CD/VCD: you can select repeat single/all/off.
7. A-B
Press A-B a third time to cancel A-B repeat and clear points A and B.
Note: During AVI/CD/VCD/SVCD playback, points A and B must be within the same track.
During AVI/DVD playback, points A and B can be selected from different chapters.
8. PLAY/PAUSE
Press PLAY/PAUSE once to pause playback, pressing PLAY/PAUSE second time will resume the playback.
9. STOP
When this bottom is pressed once, the unit records the stopped point, from where playback will resume if PLAY (
) is pressed after wards. But if STOP button is pressed again instead of PLAY (
) button, there will be no resume function.
10. Reverse Skip
Go to previous chapter/ track to the beginning
11.Forward Skip
Go to next chapter/ track.
12.
BUTTON
Press
BUTTON allow skipping back at 5-level speed (X2 ->X4 ->X8 -> X16 -> X32 -> PLAY), press PLAY button return to normal playback.
13. PROGRAM
Press PROG to get programme menu when reading DVD & VCD, then program your wanted songs.
This function is unavailable for MP4.
14. AUDIO
DVD: Press AUDIO repeatedly during playback to hear a different audio language or audio track, if available.
CD/VCD: Press AUDIO repeatedly during playback to hear a different audio channel (Left, Right, Mix, Stereo).
15. USB
16. 0-9 NUMBER BUTTON
Selects numbered items in a menu.
17. GOTO
Goto time point, title or chapter you want in DVD Mode.
18. 10+ BUTTON
In order to select a track 10 or greater, first press 10+, For example; select track 12, first press 10+, and then press number 2 button.
19. ANGLE
DVD: Press ANGLE will change the view angle, on DVDs that support this feature.
20. MENU
Return to DVD root menu(DVD).
21. OSD
To display the playtime and status information.
22. ZOOM
DVD/VCD: Use ZOOM to enlarge or shrink the video image.
- Press ZOOM during playback or still playback to activate the Zoom function. The square frame appears briefly in the right bottom of the picture.
- Each press of the ZOOM button changes the TV screen in the following sequence:
2X size → 3X size → 4X size → 1/2 size → 1/3 size → 1/4 size → normal size
23. SLOW
Press Slow button repeatedly to enter slow playback, and cycle between different speeds. The speeds are 1/2, 1/4, 1/8, 1/16, and normal.
24. STEP
Step the motion in DVD mode.
25.VOL+
26.VOL-
Adjust volume
27.
BUTTON
Press
BUTTON allow skipping ahead at 5-level speed (X2 -> X4 -> X8 -> X16 -> X32 -> PLAY), press PLAY button return to normal playback.
Set on “PARENTAL” and press “PARENTAL” and choose the desired rating. Then input the code “0000” and enter it, the desired rating you choosed is effective.
The original factory code is “0000”. If you want to change the code, Set on “password” and press “change”, Input the old password “0000”, then input the new code and confirm.
Parameters and specifications
Electronical parameters
Item | Standard requirement |
| Power requirements | : AC 100-240 V, 50/60 Hz |
| Power consumption | : =18W |
| Operating humidity | : 5 % to 90 % |
System
| Laser | : Semiconductor laser, wavelength 650 nm |
| Signal system | : NTSC / PAL /AUTO |
| Frequency response | : 20Hz to 20 kHz(1dB) |
| Signal-to-noise ratio | : More than 80 dB (ANALOG OUT connectors only) |
| Dynamic range | : More than 85 dB (DVD/CD) |
Note: Design and specifications are subject to change prior notice.
Battery Parameters
Battery Specifications:
Output: 7.4V
Charge / Discharge Time:
Standard charge time: 3h ~ 4h
Storage and work circumstances:
- Storage circumstances Temperature Humidity
6 months -20 °C ~ +45 °C 65±20%
1 week -20 °C ~ +65 °C 65±20% - Work circumstances Temperature Humidity
Standard charge 0 °C ~ +45 °C 65±20%
Standard discharge -20 °C ~ +65 °C 65±20%
| Manufacturer’s name or trade mark, commercial registration number and address | Shenzhen Run Sheng Feng Power Supply Technology Co., Ltd commercial registration number: 91440300580068676U 3rd Floor, 4th Building, Zone A Xinfu Industrial Park, Chongqing Road, Fuyong Street, Bao’an District, Shenzhen, China |
| Model identifier | RSF-DY077A-1201500EU |
| Input voltage | 100-240V |
| Input AC frequency | 50/60Hz |
| Output voltage | 12V |
| Output current | 1.5A |
| Output power | 18W |
| Average active efficiency | 87.73% at 115V/60Hz 88.26% at 230V/50Hz |
| Efficiency at low load (10%) | 87.68% at 115V/60Hz 85.99% at 230V/50Hz |
| No-load power consumption | 0.04W at 115V/60Hz 0.07W at 230V/50Hz |
Please notice – All products are subject to change without any notice. We take reservations for errors and omissions in the manual.
ALL RIGHTS RESERVED, COPYRIGHT DENVER A/S
![]()
![]()
![]()
Electric and electronic equipment and included batteries contains materials, components and substances that can be hazardous to your health and the environment, if the waste material (discarded electric and electronic equipment and batteries) is not handled correctly.
Electric and electronic equipment and batteries is marked with the crossed out trash can symbol, seen below. This symbol signifies that electric and electronic equipment and batteries should not be disposed of with other household waste, but should be disposed of separately.
As the end user it is important that you submit your used batteries to the appropriate and designated facility. In this manner you make sure that the batteries are recycled in accordance with legislature and will not harm the environment.
All cities have established collection points, where electric and electronic equipment and batteries can either be submitted free of charge at recycling stations and other collection sites, or be collected from the households. Additional information is available at the technical department of your city.
DENVER A/S
Omega 5A, Soeften
DK-8382 Hinnerup
Denmark
www.facebook.com/denver.eu
Contact
Nordics
Headquarter
Denver A/S
Omega 5A, Soeften
DK-8382 Hinnerup
Denmark
Phone: +45 86 22 61 00
(Push “1” for support)
E-Mail
For technical questions, please write to:
[email protected]
For all other questions please write to:
[email protected]
Benelux
DENVER BENELUX B.V.
Barwoutswaarder 13C+D
3449 HE Woerden
The Netherlands
Phone: 0900-3437623
E-Mail: [email protected]
Spain/Portugal
DENVER SPAIN S.A
Ronda Augustes y Louis Lumiere, nº 23 – nave 16
Parque Tecnológico
46980 PATERNA
Valencia (Spain)
Spain
Phone: +34 960 046 883
Mail: [email protected]
Portugal:
Phone: +35 1255 240 294
E-Mail: [email protected]
Germany
Denver Germany GmbH Service
Max-Emanuel-Str. 4
94036 Passau
Phone: +49 851 379 369 40
E-Mail
[email protected]
Fairfixx GmbH
Repair and service
Rudolf-Diesel-Str. 3 TOR 2
53859 Niederkassel
(for TV, E-Mobility/Hoverboards/Balanceboards, Smartphones & Tablets)
Tel.: +49 851 379 369 69
E-Mail: [email protected]
Austria
Lurf Premium Service GmbH
Deutschstrasse 1
1230 Wien
Phone: +43 1 904 3085
E-Mail: [email protected]
If your country is not listed above, please write an email to
[email protected]
![]()
DENVER A/S
Omega 5A, Soeften
DK-8382 Hinnerup
Denmark
denver.eu
facebook.com/denver.eu
Version 1.1
Denver MTW-793 |
![]() |
| 6 kWh/1000h |
![]() 2019/2013 |



















