
Smart Boost Amplified Flat Panel HDTV and FM Antenna Outdoor and Indoor
Instruction Manual

INSTRUCTIONS
Installation Instruction Manual
Your Smart Boost Amplified HDTV& FM Antenna/AT-800SBS can be used either as an outdoor or indoor antenna. Antop’s exclusive Smart Boost System (SBS) allows you to adjust the antenna’s reception power with a simple turn of the dial. The Flat Panel is part of Antop’s new generation Digital Technology that allows you the flexibility to set up your antenna in various locations and still receive great digital reception.
Antop’s New Generation Digital Technology
- Smart Boost System: Activate the SBS and you can connect a second device simultaneously to the AT-800SBS. FM stereo, a second TV, or any OTA-Ready streaming device or projector!
- 5G LTE Filter: blocks 3G, 4G, and 5G wireless signals to ensure noise-free digital TV
- Enhance VHF Signal Reception.
Following are instructions for installation options for outdoor use as a mast pole mount or wall mount, as well as for indoor options in an attic or placed on a tabletop. Read through all instructions prior to beginning installation.
Note: Although this antenna is great for indoor and outdoor use, a higher mounting location positioned towards the broadcast tower may result in better reception. Install the antenna as high as possible, preferably with a clear path between the antenna and the TV station transmitters. Trees, buildings, mountains, etc., can all impact the performance of any antenna. 
Installation for Outside use
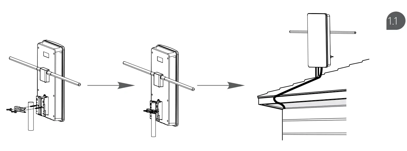
1.1 For Outdoor Use, Mast Pole Mounting
Install a mast pole (not provided), preferably on the rooftop or side of the house, facing the TV station transmitters. Attach the antenna to the mast pole by using the clamp kit provided.
1.2 For Outdoor Use, Wall Mounting
To remove antenna hardware from the back side of the unit, release the fastening bolt by turning counterclockwise. Determine the location on the wall where the antenna is to be mounted, preferably on the side of the house facing the N station transmitters. The antenna can be mounted onto the wall horizontally or vertically. Fasten the antenna hardware onto the wall with screws (screws not provided). 
1.2.1 For Outdoor Use, Horizontal or Vertical Mounting
Mount hardware horizontally or vertically to the wall. Before attaching hardware to the antenna, see Connecting instructions on page 4. To attach hardware to the backside of the antenna, insert a fastening bolt and turn clockwise.
1.3 For Indoor Use, In Attic
Determine the location in attic where the antenna will be placed. Mount antenna onto a beam or wall, preferably on the side of the house facing the TV station transmitters. Remove antenna hardware from the back side of the unit, and release the fastening bolt by turning counterclockwise. The antenna can be mounted horizontally or vertically. Fix the antenna hardware onto the beam or wall with screws (screws not provided). Before attaching hardware to the antenna, see Connecting instructions on page 4. To attach hardware to the backside of the antenna, insert the fastening bolt and turn clockwise. 
1.4 For Indoor Use, with Table Stand
To remove antenna hardware from the back side of the unit, release the fastening bolt by turning counterclockwise. Attach the Table Stand to the bottom of the antenna. If you want to strengthen VHF reception, attach the enhanced rods onto the antenna.
Connecting
2.1 For Outdoor Use, Mast Pole or Wall Mount (Prepping for Connection)
The select cable entry point to the house. Drill hole under the eaves at the entry point. Attach coaxial cable with water-resistant cap end to the connector in the antenna. Vertical Wall Mount utilizes U-shape coaxial cable setup to prevent water from entering the interior of the antenna casing. For Wall Mounts, attach the antenna to hardware already mounted to the wall. With antenna fixed to either a mast pole or an exterior wall, feed loose end of the coaxial cable through the drilled opening. 
2.2 For Indoor Use, in Attic placement, (Prepping for Connection)
The select cable entry point to the house. Drill hole at the entry point. Attach coaxial cable with water-resistant cap end to the connector in the antenna. Attach the antenna to hardware already mounted to beam or wall, or just use the table stand for placement. Feed loose end of the coaxial cable through the drilled opening.
2.3 Connecting multiple devices
Connect the coaxial cable of the antenna to ANTENNA IN. Connect N and other devices to the power booster via N and ‘TV/FM/Device outputs. Connect the power adapter to the DC socket. 
- In order to adjust the amplifier gain, use the power booster dial:
- To increase gain, turn the dial clockwise.
- To reduce gain, turn the dial counterclockwise.

Setting and Scanning
In the TV’s setup menu, set the mode to “Antenna” or “Air”, then, set TV to “scan” for channels. Consult the TV manual for detailed instructions.
Adjusting Instruction
For the best reception, adjust the direction of the antenna. Based on wall mounting, the antenna can be turned left or right within 45° angle by releasing the bolt. 
WARRANTY POLICY
Customers should first contact their place of purchase to determine the reseller’s warranty policy. Antop Antenna’s warranty will take effect after the expiration of the reseller’s policy. Antop Antenna warrants its products for a period of one (1) year from the original date of purchase. Warranty is valid only with proof of purchase. Warranty does not apply to defects or failures of the product caused by; neglect, misuse, negligence, accident, abuse, mishandling, misapplication, alteration, modification, power outage, unauthorized/ unreasonable use, or any uncontrollable environmental damage.
RETURNS & REFUNDS
For any return, customers should first contact their place of purchase to determine the reseller’s return policy. A Return Material Authorization (RMA) number must be obtained in advance by contacting Antop Antenna customer service via e-mail or telephone. Merchandise returned to Antop Antenna must have an RMA number displayed on the box and a copy of your proof of purchase inside the package. Absolutely no refund after 30 days of purchase from Antop Antenna. A restocking fee of 15% will be deducted from any refund, ask the representative for further details. Refund policy for US & Canada customers only.
EXCHANGE & REPLACEMENT
For any exchange or replacement, customers should first contact their place of purchase to determine the reseller’s policies. No upgrades or exchanges for different models or SKU’s One (1) Year limited manufacturer’s warranty for exchange of product due to malfunction, failure or defect, missing parts or components. Exchanges will be for the same item, model, and/or SKU, within one (1) year of the original purchase date. A Return Material Authorization (RMA) number must be issued by Antop Antenna prior to returning any product or part. To obtain an RMA, contact Antop Antenna via email or telephone.
SHIPPING & COSTS
The customer will be responsible for shipping costs of merchandise sent to Antop Antenna. Please consult a customer service representative for details. When shipping any item to Antop Antenna, please consider using a trackable shipping method. Antop Antenna cannot be held responsible for lost or misdirected shipments. Exchanged and returned products must be sent to Antop Antenna, RMA Department, 1650 S. Balboa Ave, Ontario, California 91761. To receive a Return Material Authorization form Antop Antenna please send your request to RMA Dept: [email protected] or to speak .
Customer Service:
Via telephone, M-F, 9 am to 5 pm
(PST) 909-947-8883.
www.antopusa.com
ANTOP ANTENNA INC I
Tel. 909.947.8883
Email: Suppnrreantoptusa.rom


















