Heena Fashions EGC07 Wireless Bluetooth Speaker User Manual
Precautions
- Speakers in the process of charging and normal operation will be a slight fever, belongs to the normal phenomenon;
- Need to clean the speakers, please turn the power off and disconnect all external links;
- Please keep the device in a dry, clean and tidy environment;
- Do not fall or trample speakers, and placed in the plane of the stable use;
- Please don’t use alcohol, benzene and other chemical cleaning box body;
- Please don’t let this product close to the extreme cold, heat objects; Please use the company to provide the attachment;
- Please do not remove the speakers without authorization;
- Battery time and matching cell phone volume output amplitude are linked,Please put the volume down to around 70%.
ACCESSORIES
- USB Cord 1PCS
- Instruction/Warranty card 1PCS
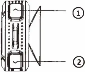
Function Diagram


- V+/NEXT
- V-REV
- ON/OFF
- MIC
- LED
- Single click play,pause, receive and answer long press:fast forward
- USB recharge port
Specification
- “+” button to press or tap; Long press the volume increase, short press One.
- “-” button to press or tap; Long press the volume decline, short press on One.
- “Play Pause” short press pause music playback, a call comes in, the music stops playing sound while ringing ringtones, click this button is the answer, close to the front speakers, you can use the speakers with MIC, to achieve the call Click this button again, hang up the phone, the phone automatically dials the last communication over Tel. To reject a call, double -click on this button can hang up the phone
PRODUCT OVERVIEW
- Stylish appearance, on the road to bring you endless enjoyment;
- Bluetooth wireless link function, lifting shackles of cable;
- Speakerphone function, a key realization of all calls;
- Strong grade sucker, so speakers can play freely occasions adsorption;
Operating Instruction
Bluetooth Input
Open speaker power, the blue LED lights flashing, turn voice prompts; open the Bluetooth mobile devices, you can search for *SB 2013* This device name, click on the pair after pair after speaker voice prompts, then you can play music; switch Pairing mobile devices, you need to cut off the connection of existing equipment into pairing mode); After the success of the product will be paired Bluetooth receiver memory of this device automatically searches for the next boot on a connected device and automatically connect (to ensure paired device in the search range).
USB charging
The product is equipped with a USB cable to connect the computer and the speakers, the red LED lights lit, that is to charge the battery inside the speaker, the light changes from red to extinguish was charged. This charging method is slow, takes about 4-6 hours filled; using mobile phones equipped with power adapter (5V 1.0A) to charge the speaker, faster, takes about three hours or so full time. Charging process does not affect the normal use of the speaker.
Specification
- Input voltage: DC-SV/600MA
- Output power: 3W THD + N ≤ 10% (1KHz/OdB)
- Polymer battery: 3.7V/240mAh
- Speaker unit: Ø45mm 40/5W
- Weight: 152g
- Frequency Response: 120Hz-22KHz
- S/N: ≥ 90dB
- Size: W87 * D45 * H95mm
FCC STATEMENT
This device complies with Part 15 of the FCC Rules. Operation is subject to the following two conditions:
- this device may not cause harmful interference, and
- this device must accept any interference received, including interference that may cause undesired operation.
Changes or modifications to this unit not expressly approved by the party responsible for compliance could void the user’s authority to operate the equipment.
NOTE: This equipment has been tested and found to comply with the limits for a Class B digital device, pursuant to Part15 of the FCC Rules. These limits are designed to provide reasonable protection against harmful interference in a residential installation. This equipment generates, uses and can radiate radio frequency energy and, if not installed and used in accordance with the instructions, may cause harmful interference to radio communications. However, there is no guarantee that interference will not occur in a particular installation. If this equipment does cause harmful interference to radio or television reception, which can be determined by turning the equipment off and on, the user is encouraged to try to correct the interference by one or more of the following measures:
- Reorient or relocate the receiving antenna.
- Increase the separation between the equipment and receiver.
- Connect the equipment into an outlet on a circuit different from that to which the receiver is connected.
- Consult the dealer or an experienced radio/TV technician for help.
This device and its antenna(s) must not be co-located or operation in conjunction with any other antenna or transmitter.
Radiation Exposure Statement:
The device has been evaluated to meet general RF exposure requirement. in portable exposure condition without restriction.
Warranty Agreement
In order to let you better enjoy the service, please read the following agreement:
This product warranty and starting from the date of sale: ‘3 packets’ period of validity; During the validity period of ‘three guarantees’ the malfunction of the normal use of this product According to “3 packets’ provisions repair, replacement and return. In the product warranty, canKonka company provide free maintenance service (appendix out of place in the warranty) And “3 packets’ period, the warranty period has the following situation will implement the paid service:
- Can’t show the original warranty and effective invoice.
- Due to irresistible causes of malfunction and damage.
- Not in the normal channels, there is no sales unit affix one’s seal, didn’t buy the product Period, altered warranty card and so on.
- Not in accordance with the ‘manual’ normal operation, the damage and failure.
- Transportation in the process of failure and damage.
- No repair permissions of companies and individuals disassembly and maintenance caused by the fault.
Fault equipment repair, please return, warranty card, please refer the invoice delivery to after-sales together Service center, transportation fees shall be borne by the user.
Warranty Card
When purchasing the product, please immediately fill the card and safekeeping
| Name | Age | ||
| Tel no. | Postcode | ||
| Gender | Purchase place | ||
| Date of buying | Product code | ||
| Part no | Sale No. | ||
| Postal address | |||
Dealer stamp: User signature:



















