Paulmann 978.38 Ballast Wire LED Light

Safety Instruction

www.paulmann.com/symbols
Package Contents

Tools Required

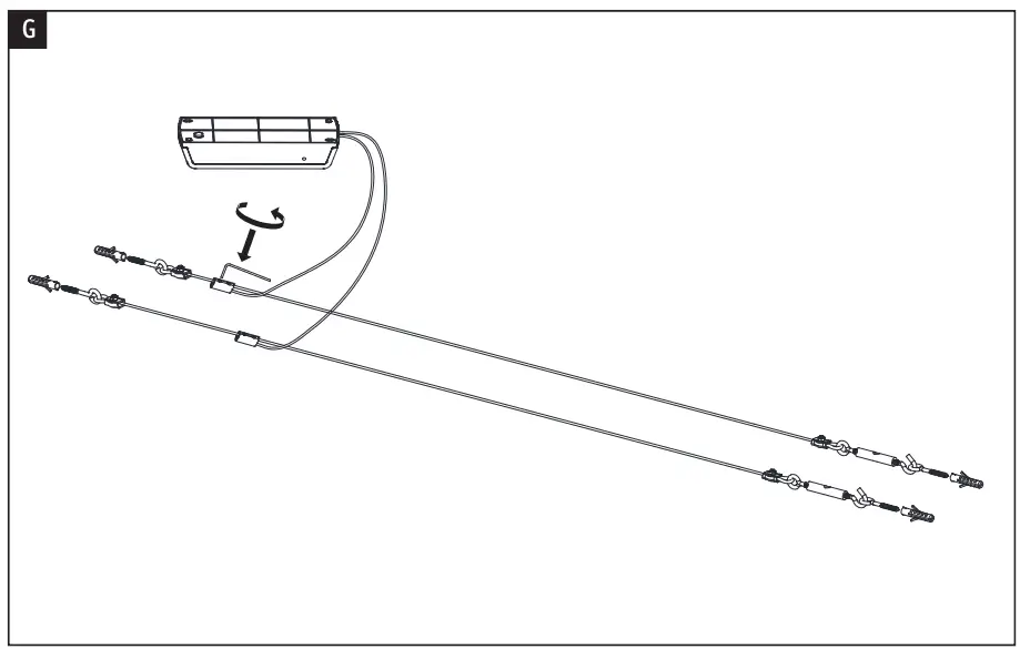
Installation







Replaceability: (1) Light source or (4) operating device can be replaced by end users without permanent damage to the luminaire. (2) Light source or (5) operating device can be replaced by a qualified electrician without permanently damaging the luminaire. (3) Light source or (6) operating device is not replaceable, the luminaire must be replaced.

Customer Service
Paulmann Licht GmbH
Quezi nger Feld 2
31832 Springe
Germany
www.paulmann.com
Art.-Nr.: 978.38
978.39
978.40
(+MA 326) PTL 07/22


















