


M-8101F
Instruction Manual and Warranty Information
2 year limited warranty
Give Your Face the Attention It Deserves
Thank you for purchasing the Spa Reflectives™ Illuminated Styling Center. This, like the entire line of HoMedics products, is built with high-quality craftsmanship to ensure years of dependable use.
IMPORTANT SAFETY INSTRUCTIONS
THIS APPLIANCE IS INTENDED FOR HOUSEHOLD USE. WHEN USING ELECTRICAL PRODUCTS, ESPECIALLY WHEN CHILDREN ARE PRESENT, BASIC SAFETY PRECAUTIONS SHOULD ALWAYS BE FOLLOWED, INCLUDING THE FOLLOWING:
WARNING—TO REDUCE THE RISK OF BURNS, ELECTROCUTION, FIRE, OR INJURY TO PERSONS:
Read all instructions before using this appliance.
- To protect against electrical hazards, do not use while bathing or in the shower.
- Close supervision is necessary when any appliance is used by or near children, invalids, or disabled persons.
- Unplug the appliance from outlet when not in use and before cleaning.
- Do not leave appliance unattended when it is plugged in. Keep cord away from heated surfaces.
- Do not operate this appliance with a damaged cord or plug or if the appliance malfunctions or has been dropped or damaged in any manner, or dropped into water. Return appliance to HoMedics Service Center for examination, electrical or mechanical adjustment, or repair. No repairs should be attempted by the consumer.
- Use appliance only for intended use as described in this instruction book. The use of attachments not recommended or sold by HoMedics may cause hazards.
- Do not use outdoors or operate where aerosol (spray) products are being used, or where oxygen is being administered.
- Be sure the mirror is not in a position where it can reflect sunlight; reflected sunlight can cause fire.
- Do not use on a soft surface such as a bed, where openings may be blocked. Keep the air openings free of lint, hair, and the like.
- Turn switch to “OFF” position and unplug cord before replacing light bulbs.
- Do not place or store appliance where it can fall or be pulled into a tub or sink.
- Do not place in or drop into water or other liquid.
- If an appliance falls into water, unplug it immediately. Do not reach into the water.
- Bulb gets HOT quickly. T ouch only the base when turning off.
- DO NOT touch hot bulb, guard, or enclosure.
- Use on any 120 volt 60 hertz AC electric outlet (ordinary house current). Do not use it on any other electrical outlet. There is an electrical outlet on the cord; do not plug any appliance over 12 amps into this outlet.
- Never drop or insert any object into any opening.
- To disconnect, turn all controls to the off position, then remove plug from the outlet.
- Do not exceed six pounds on the glass vanity tray.
SAVE THESE INSTRUCTIONS.
SPECIAL WARNINGS
- Place lamp where the cord will not be in walkway, route cord away from walking areas.
- Keep children away from the extended cord.
- Never pull on the cord of an appliance that is plugged into the receptacle, grasp the plug when unplugging an appliance that is plugged into the receptacle.
- DO NOT reach for an appliance that has fallen into the water. Unplug it immediately.
- DO NOT place in or drop into water or other liquid.
- Use appliance on a sturdy or level surface.
To reduce the risk of electric shock, this appliance has a polarized plug (one blade is wider than the other). This plug will fit in a polarized outlet only one way. If the plug does not fit fully in the outlet, reverse the plug. If it still does not fit, contact a qualified electrician to install the proper outlet. Do not change the plug in any way.
Illuminated Styling Center Features
Illuminated Floor Stand Mirror
- Incandescent Light – Soft glare-free & shadow-free viewing
- 7x/1x Magnification – Two-sided mirror with normal and 7x magnification
- 8.5” Diameter
- Fog-free
- Satin nickel finish
- Includes one replacement light bulb
Styling Center
- Tempered glass vanity tray for convenient accessory storage
- Towel bar holder
- Hairdryer caddy
- Built-in hair dryer outlet
- Adjustable height – Choose from 63” and 70”
Assembly Instructions
- Carefully remove all contents from the packaging and inspect the product to make sure all components have been received, and identify the pieces for use in assembly.

- Place the Base A on an even and sturdy surface to begin assembly.
- (Fig. 1) Insert Extension Pole B into the thread on Base A and turn clockwise until secure.
- (Fig. 2-optional) You can increase the height of the floor stand mirror to 70”. If you choose to do this, insert the thread of the Adjustable Height Extension Pole E into Extension Pole B and turn clockwise until secure.

- (Fig. 3) Insert the thread of Extension Pole C into Extension Pole B , or the Adjustable Extension Pole E , (if you have increased the height) and turn clockwise until secure.

- (Fig. 4) Insert the thread on the bottom of the Glass Vanity Tray G into Extension Pole C and turn clockwise until secure. At the same time, thread the Internal Electrical Connection
2– up through the center of the Glass Vanity Tray G . To secure the metal rack on the Glass Vanity Tray, use the wrench L to tighten the screw located on the bottom of the posts.
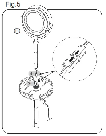
- (Fig. 5) Holding the Illuminated Beauty Mirror H firmly, connect the Internal Electrical Connection
4– with the Internal Electrical Connection 2- , matching up the up arrows on the connectors as illustrated.
- (Fig. 6) Insert the thread of the Illuminated Beauty Mirror H onto the Glass Vanity Tray G and turn clockwise until secure.

- (Fig. 7) Clip the Built-In Outlet 3- into the groove on the pole.

- Now you can begin attaching accessories and securing the cord into place.
– Please note the following steps can be completed in any order and you may place the clips and accessories in any of the grooves you choose below the glass vanity tray. The diagram shown is a representation of one way you may choose to set up your floor stand mirror.
- (Fig. 8) Select the position on the stand where you want your Hair Dryer Caddy to be located [step 1]. Snap an Attachment Clip K [step 2] onto the groove in the pole. Slide the Hair Dryer Caddy I over the Clip [step 3], ensure the groove is facing upwards when doing so. The Caddy is securely in place when you can no longer see the Attachment Clip from the top or bottom of the Caddy.
– T o attach the T owel Bar Holder repeat [step 1,2,3] (Fig. 8a). - (Fig. 9) T o secure the Cord to the pole, snap the three Cord Clips F into the pole grooves, spacing them apart as shown. Slide the Cord into the three Clips at each location until each is held securely in place (Fig. 9a).

- Remove the protective plastic coating from mirror face.
Instructions for Use - (Fig. 10) Adjust the mirror to either normal or magnified viewing. T o do so, swivel the mirror to the viewing side of your preference. You may also adjust the angle of the mirror by tilting it up and down or swiveling it from side to side.

- Plug unit into a 120V household outlet.
- (Fig. 10) Turn the On/Off switch 1- to the ON position to turn the mirror on.
- (FIG.10) When finished using the mirror turn the switch to the OFF position
NOTE: DO NOT EXCEED 6 POUNDS ON THE GLASS VANITY TRAY.
NOTE: NEVER leave a plugged-in appliance unattended. DO NOT exceed 12 amps on the electrical outlet.
To Replace Bulb:
Caution: Before replacing the bulb, always turn the mirror off and allow it to cool for at least 5 minutes.
- (Fig. 11) Remove the three screws on the side of the mirror with a Phillips screwdriver.
- (Fig. 12) Take off the mirror casing by gently pulling it apart at the seam.
- (Fig. 12) Unscrew the light bulb and replace it with a new one. The light bulb is 120v, 25 Watt Type T. For your convenience, one replacement bulb is included.

- Replace the mirror casing and line up the screw holes. Screw back into place.
Maintenance
To Store
You may leave the mirror on display in a cool, dry place.
- NEVER leave the mirror in a position where it can reflect direct sunlight. This may cause a fire.
- Allow cooling to room temperature before storing.
- Do not wrap the cord around the mirror.
To Clean
Always unplug before cleaning the mirror. Never use liquids or abrasive cleaners to clean, use only a damp cloth with a mild cleanser.
- Clean the mirror with only a commercial glass cleaner or water. Do not submerge the mirror or use excessive water while cleaning.
- Do not plug the mirror in until it is completely dry.

TWO YEAR LIMITED WARRANTY
(Valid in USA only)
HoMedics, Inc., guarantees this product free from defects in material and workmanship for a period of two years from the date of original purchase, except as noted below.
This HoMedics product warranty does not cover damage caused by misuse or abuse; accident; the attachment of any unauthorized accessory; alteration to the product; or any other conditions whatsoever that are beyond the control of HoMedics. This warranty is effective only if the product is purchased and operated in the USA. A product that requires modification or adaptation to enable it to operate in any country other than the country for which it was designed, manufactured, approved, and/or authorized or repair of products damaged by these modifications is not covered under warranty. HoMedics shall not be responsible for any type of incidental, consequential or special damages. All implied warranties, including but not limited to those implied warranties of fitness and merchantability, are limited in the total duration of two years from the original purchase date.
To obtain warranty service on your HoMedics product, either hand deliver or mail the unit and your dated sales receipt (as proof of purchase), postpaid, along with check or money order in the amount of $15.00 payable to HoMedics, Inc. to cover handling. Upon receipt, HoMedics will repair or replace, as appropriate, your product and return it to you, postpaid. If it is appropriate to replace your product, HoMedics will replace the product with the same product or a comparable product at HoMedics’ option. Warranty is solely through HoMedics Service Center. Service of this product by anyone other than HoMedics Service Center voids warranty.
This warranty provides you with specific legal rights. You may have additional rights which may vary from state to state. Because of individual state regulations, some of the above limitations and exclusions may not apply to you.
For more information regarding our product line in the USA, please visit: www.homedics.com
Mail To: HoMedics Service Center Dept. 168 3000 Pontiac Trail Commerce Township, MI 48390
e-mail: [email protected]
©2004 HoMedics, Inc. and its affiliated companies, all rights reserved. HoMedics ® is a registered trademark of HoMedics, Inc. and its affiliated companies. Body Basics™, and Spa Reflectives™ are trademarks of HoMedics, Inc. and its affiliated companies. All rights reserved.
IB-M8101FA
Homedics M-8101F illuminated beauty mirror spa REFLECTIVES Instruction Manual and Warranty Information – Download [optimized]
Homedics M-8101F illuminated beauty mirror spa REFLECTIVES Instruction Manual and Warranty Information – Download






























