Traulsen R & A Series Commercial Refrigerators and Freezers Owner
THE SERIAL TAG
SERIAL TAG & LOCATION
The serial tag is a permanently affixed label on which is recorded vital electrical and refrigeration data about your Traulsen product, as well as the model and serial number. This tag is located in the upper right interior compartment on all reach-in/pass-thru and roll-in/roll-thru refrigerator, freezer and dual-temp models. For hot food models, this tag is located on the top of the unit behind the louvers to protect it from the heat.
READING THE SERIAL TAG
- Model = The model # of your Traulsen unit
- (S/N) Serial Number = The permanent ID# of your Traulsen unit
- Refrigerant SYS1 = System 1 Refrigerant type used and refrigerant charge
- Design Pressure = System 1 High and Low Pressure
- Refrigerant SYS2 = System 2 Refrigerant type used and refrigerant charge
- Design Pressure = System 2 High and Low Pressure
- Volts = Voltage
- H = Cycle
- Total Current = Maximum amp draw
- Min Circuit Amps = Minimum circuit ampacity
- Agency Labels = Designates agency listings
- Consult the factory or unit data plate for approval information.
- Components = Component Ratings
| REFRIGERANT / REFRIGERANTE / RÉFRIGÉRANT | |||
| SYS1 (REFM): | R-134a | 8.4oz | 238.1 g (238,1 g) |
| Hi Press. (PRESH): | 500psi | 3.45 MPa (3,45 Mpa) | |
| Lo Press. (PRESL): | 250 psi | 1.72 Mpa (1,72 Mpa) | |
| SYS2 (REFA): | RR–445004Aa | 12.5oz | 354.4g (354,4g) |
| Hi Press. (PRESH): | 353000ppssii | 32..4258Mg P(2a,2(38,4M5pMaP) a) | |
| Lo Press. (PRESL): | |||
| Input Power (ELIN) – FOR INDOOR USE ONLY | |||
| 115-208/230V ~ 60Hz 8.0A (8,0A) | |||
| (Symbol 1) (Alt Safety / Other 1) | (Symbol 2) (Alt. San / Other 2) | (Symbol 3) (Alt. En. / Other 3) | (Symbol 4) (WEEE) |
| (Symbol 5) (Safety) | (Symbol 6) (Sanitation) | (Symbol 7) (Energy) | (Symbol 8) (Customer QR Code / Other 4) |
| Device/Part Number: PartNum | (UL/NSF Notes) | ||
| COMPONENTS / COMPOSANTS / COMPONENTES | |||
| COMP AMPS: | EVAP FAN AMPS: | ||
| COND FAN AMPS: | LIGHT WATTS: | ||
| DEF HTR AMPS: | CTRL AMPS: | ||
| DOOR HTR AMPS: | MIN AMPS: | ||
| MAX AMPS: | |||
RECEIPT INSPECTION
RECEIPT INSPECTION
All Traulsen products are factory tested for performance and are free from defects when shipped. The utmost care has been taken in crating this product to protect against damage in transit. All interior fittings have been carefully secured and the legs or casters are boxed and strapped inside to prevent damage. Door keys will be attached to the handle with a nylon strip. The handle is protected by an easily removable nylon netting. Carefully inspect your Traulsen unit for damage during delivery. If damage is detected, you should save all crating materials and make note on the carrier’s Bill of Lading describing the damage. A freight claim should be filed immediately. If damage is subsequently noted during or immediately after installation, contact the respective carrier and file a freight claim. Under no condition may a damaged unit be returned to Traulsen without first obtaining written permission (return authorization). You may contact Traulsen customer care at 800-825-8220. Some models may use R-290 (Propane) as a refrigerant. If flammable refrigerant is present, follow instructions as labeled on the unit. Proper care must be taken to avoid any damage to the refrigeration system including refrigerant tubing, condenser, evaporator coils during handling, moving, installation and cleaning as it may cause risk of fire or explosion. If damaged, unit must be moved to well ventilated area away from any sources of ignition. Further service and repair must be performed by qualified refrigeration technicians familiar with applicable safety standards for flammable refrigerants. Technicians must use appropriate personal protective equipment and follow applicable safety precautions to avoid risk of fire or explosion
INSTALLATION
Select a proper location for your Traulsen unit, away from extreme heat or cold. Allow enough clearance between the unit and the side wall in order to make use of the door stay open feature at 120° (self-closing feature operates up to 90°). The door(s) must be able to open a minimum of 90° in order to make use of the maximum clear door width available.
PACKAGING
All Traulsen units are shipped from the factory bolted to a sturdy wooden pallet and packaged in a durable cardboard container. The carton is attached to the wooden skid with the use of large staples. These should first be removed to avoid scratching the unit when lifting off the crate.
Most exterior stainless steel surfaces have a protective vinyl covering to prevent scratching during manufacturing, shipping and installation. After the unit is installed in place of service, remove and discard the covering from all surfaces. To remove the wooden pallet, first if at all possible, we suggest that the cabinet remain bolted to the pallet during all transportation to the point of final installation. The bolts can then be removed with a 3/4” socket wrench. Avoid laying the unit on its front, side or back for removal of the pallet.
NOTE: DO NOT LAY THE UNIT ON ITS SIDE DURING TRANSPORTATION OR INSTALLATION.
Roll-thru models also include special interior wood bracing, intended to protect the cabinet during shipment. This bracing should under no circumstances be removed prior to the unit being installed in its final location. Read and review these instructions, in their entirety, BEFORE attempting to disassemble and remove the interior bracing.
If either of the diagonal or upper ceiling braces are dropped, they could cause personal injury or damage to the equipment. To disassemble the bracing, first open the doors and carefully remove the banding that holds the two diagonal braces together. The diagonal braces will now be loose and can fall out of position and possibly permit the ceiling corner brace to fall. Carefully remove one diagonal brace while supporting the ceiling corner brace, so that it does not fall (see figure 1). Next, remove the ceiling brace, the remaining diagonal brace, and lastly the floor brace – then discard. Repeat as necessary for each section of the unit.
INSTALLING LEGS OR CASTERS
6” High stainless steel legs are supplied standard for all Traulsen reach-in and pass-thru units. Casters in lieu of legs are available as an optional accessory for the same models. These are shipped from the factory packed inside a cardboard box which is strapped to one of the shelves. Remove the nylon strap and open the box, it should contain either four (4) legs or four (4) casters and sixteen (16) bolts.
THE CABINET MUST BE BLOCKED AND STABLE BEFORE INSTALLING LEGS OR CASTERS
To install the legs or casters, first raise and block the reach-in a minimum of 7” from the floor. For installing legs, thread the legs into the threaded holes on the bottom of the cabinet (see figure 2). Be certain that all legs are tightly secured (legs and casters should be tightened to 300 inch/pounds, max). When the unit is set in its final position, it is important for proper operation that the unit be level. The legs are adjustable for this purpose; turn the bottom of the leg counter- clockwise to raise it, clockwise to lower it. Level the unit from front to back as well as side to side in this manner, using a level placed in the bottom of the cabinet.
Please note that Traulsen units are not designed to be moved while on legs. If the unit requires moving, a pallet jack or forklift should be used to prevent damage. For installing casters, the casters are “plate” type, and require the use of four (4) bolts each to secure them firmly to the cabinet bottom at each corner (see figure 3). The caster bolts are tightened using a 1/2” socket wrench.
SHELF PINS
The unit is supplied with shelves and shelf pins installed. Check all shelf pins to assure they are tightened down as they may have come loose during shipping. Rotate the pins clockwise until they are secured against the side of the cabinet.
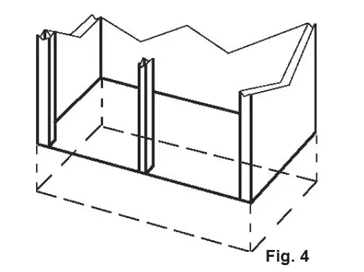
ROLL-IN MODEL INSTALLATION
Roll-in cabinets set on the floor require the floor area to be flat and level. In addition, after the cabinet is set in place, sealant should be used around the perimeter of the base to comply with National Sanitation Foundation requirements (see figure 4). After sealing the unit, the enclosed ramp should then be installed
SEALING THE BASE OF ROLL-IN MODELS
A sealant must be used around the perimeter of the base of cabinet as shown to fully comply with sanitary requirements.
A recommended sealant is Dow Corning Silastic RTV
A stainless steel threshold ramp(s) is included to facilitate roll-in racks. It is shipped wrapped in brown paper and secured to the rack guides inside the cabinet. To secure it in place, remove the two thumb screws in the breaker strip near the bottom door opening. Next, loosen the thumb screws located along the floor at the threshold. Place the ramp(s) on top of the loosened thumb screws and secure tabs on each end to breaker strips with thumb screws previously removed. After installing the ramp(s), it too should be sealed to the floor. Bumper strips are secured to the back of roll-in models with thumb screws. Loosen these and make them finger tight to conform with the requirements of the National Sanitation Foundation (NSF).
ATTACHING DOUBLE DEPTH UNITS TOGETHER
Double depth roll-in/roll-thru units are shipped as two separate components which must be attached together at the jobsite. To accomplish this, first, place the front and rear cabinets in close proximity to each other being careful to align the drain from the front of the rear unit to the drain of the front unit. It will be necessary to level both units together at this time Next, using two pipe clamps, pull the units together (see figure 5). Install the covers over the gap formed between the units From inside the cabinets, using the screws provided, install the breaker strips using the strip as a template.
Using two pipe clamps, pull the two units together and using the screws provided. Align the breaker strips as a template for the screw pattern inside and outside the cabinet.
INSTALLING THE CONDENSATE EVAPORATOR
A condensate evaporator is normally supplied on all self-contained models (remote models require provision of either a floor drain or an optional condensate evaporator). On those models supplied with a top-mounted evaporator coil compartment, the condensate evaporator is also secured to the top of the cabinet. Check that the condensate pan is properly located underneath the drain tube.
NOTE: Some models, such as single section dual- temperature refrigerator/freezers, are supplied with a bottom-mounted condensate evaporator. This is shipped in a cardboard carton secured to the cabinet interior, and must be PROPERLY installed prior to use (see instructions supplied with the condensate evaporator).
- After the cabinet has been uncrated and the legs/ casters attached, you must install the bottom-mounted condensate evaporator.
- Locate the four (4) holes on the exterior bottom towards the rear of the cabinet.
- Using the provided 10-32 screws, attach the mounting rails to the bottom, (the folded flange is to be turned up and be towards the drain line).
- Slide condensate pan into the mounting rails.
- Screw the “U-Trap” on to the drain line located on the rear of the cabinet.
- Screw the drain extension into the “U-Trap

NOTE: The use of the “U-TRAP” supplied is required. Failure to use this component may allow cold air to migrate down the drain line, resulting in condensation on the rear of the cabinet. A remote model is normally supplied configured for condensate to be run to a floor drain unless purchased with a condensate evaporator. The installer is responsible for making the required extension to the floor drain in accordance with good practice and local regulations.
REMOTE INSTALLATION
Remote models are supplied without compressors, solenoid valves, etc. The correct voltage, amp listing and refrigerant are listed on the units serial tag. It is the responsibility of the installer to specify and supply the correct size compressor(s) based upon this information and on-site requirements. Refrigerant line installation must be done in accordance with good practice and local regulations. See section “III. g” for information concerning condensate removal for remote models.
CORD & PLUG
Most self-contained models are supplied with a cord & plug attached. It is shipped coiled at the top of the cabinet, secured by a nylon strip. For your safety and protection, all units supplied with a cord and plug include a special three-prong grounding plug on the service cord. Select only a dedicated electrical outlet with grounding plug for power source
NOTE: Do not under any circumstances, cut or remove the round grounding prong from the plug, or use an extension cord.
FREEZERS
The control will display the cabinet temperature when the defrost started and activate a LED with the defrost symbol on the display (see figure 7). The electric heater (attached to the coil) is energized. When a temperature sensor affixed to the coil senses 45°F (models with electric defrost), the coil is fully defrosted and the compressor operation is resumed, defrost heaters are automatically turned off. The coil fans are delayed from starting at the termination of a defrost cycle. Fan operation is automatically resumed, or they can also be started by a time or temp delay (whichever comes first). In case of temp delay, it uses the same coil sensor and starts at 32°F. The total refrigeration system operation is then resumed
During freezer defrost operation, heat is confined to the coil enclosure to prevent any significant rise in temperature within the food zone. The fan delay controls function upon termination of a defrost cycle is two-fold. First, to prevent blowing warm air into the food storage area. Second, to prevent any condensation on the defrost coil from being blown into the food storage area. The Smart Control is set from the factory to terminate defrost at 30 minutes in the event of a sensor failure. This setting should never be tampered with, without first consulting the factory.
HOT FOOD CABINETS
IV. c – HOT FOOD CABINETS Hot food cabinet operation is governed by the Smart Control, which controls the ON/OFF operation of the strip heaters. The control can bet set to maintain any operational temperature between 130 – 180° F (in 1°F increments) Hot food cabinets are delivered from the factory with the control set to the “OFF” position. Follow the instructions in section “VI. f” to get started.
NOTE: A vent is included at the top of all hot food cabinets. The vent opening is factory set and secured for best position. Be certain to make sure this vent is kept free of any obstruction.
CARE & MAINTENANCE
DISCONNECT ELECTRICAL POWER SUPPLY BEFORE CLEANING ANY PARTS OF THE UNIT
The most important thing you can do to insure a long, reliable service life for your Traulsen is to regularly clean the condenser coil. The condensing unit requires regularly scheduled cleaning to keep the finned condenser clean of lint and dust accummulation. Keeping the condenser clean allows the cabinet to operate more efficiently and use less energy. To clean the condenser, first disconnect electrical power to the cabinet and lift up the front louver assembly. To lift this, remove the two screws located on both sides at the bottom of the louver assembly (see figure 8).
Once the screws are removed, the panel can be pivoted upwards allowing full access to the front facing condenser (see figure 9).
Vacuum or brush any dirt, lint or dust from the finned condenser coil, the compressor and other cooling system parts (see figure 10). If significant dirt is clogging the condenser fins, use compressed air to blow this clear. Lower louver assembly and replace the screws to hold it in place.
Some Traulsen models come with a StayClear™ Condenser Coil with a finless design. The StayClear Condenser does not require regularly scheduled cleanings but should be cleaned every 6 months or when the finless condenser coil presents a certain level of obstruction of significant dirt on the tubing. If StayClear Condenser requires cleaning, follow the same steps for cleaning the finned condenser.
GASKET REPLACEMENT
To remove the gasket to be replaced, grasp it firmly by one corner and pull it out. Before attempting to install a new gasket, both the unit and the gasket itself must be at room temperature. Insert the four corners first by using a rubber mallet (or hammer with a block of wood). After the corners are properly inserted, work your way towards the center from both ends by gently hitting with a mallet until the gasket is completely seated in place (see figure 11 for proper gasket placement). NOTE: The gasket may appear too large, but if it is installed as indicated above it will slip into place.
CLEANING THE EXTERIOR
Exterior stainless steel should be cleaned with warm water, mild soap and a soft cloth. Apply with a dampened cloth and wipe in the direction of the metal grain. Avoid the use of strong detergents and gritty, abrasive cleaners as they may tend to mar and scratch the surface. Do NOT use cleansers containing chlorine, this may promote corrosion of the stainless steel. Care should also be taken to avoid splashing the unit with water, containing chlorinated cleansers, when mopping the floor around the unit. For stubborn odor spills, use baking soda and water (mixed to a 1 TBSP baking soda to 1 pint water ratio).
CLEANING THE INTERIOR
For cleaning both stainless steel and anodized aluminum interiors, the use of baking soda as described in section “V. c” is recommended. Use on breaker strips as well as door gaskets. All interior fittings are removable without tools to facilitate cleaning.
ADJUSTING THE SHELVES
For shelves mounted on pins, first select the desired location and remove the white plastic covers in the interior back and sides by rotating them counter-clockwise. Remove the shelf pins by rotating them counter-clockwise. Install the pins in the desired location by rotating clockwise. Make sure the pin is securely tightened down. Do not over tighten. Slide the shelf into its new position, and replace the white plastic covers into the holes vacated by the shelf pins.
REPLACING THE LIGHT BULB
All Traulsen R & A Series models are supplied with LED lighting with the exception of heated units. Optional tube style display lighting is available (except for sliding glass door models for which fluorescent lights are supplied standard). The standard LED bulb is a 115 or 230 volt / 4-watt, T-6 intermediate clear refrigerator lamp. It is mounted at the top front of the cabinet at the center and is located behind a plastic light cover on refrigerator and freezer model. Heated units (RHF/AHF/RIH/AIH/RDH/ADH/RIDH/AIDH) are equipped with a 115 or 230 volt / 25-watt, T-6 incandescent bulbs. LEDs have not evolved enough yet to take the heat. This bulb is shatterproof because these models do not include a plastic light cover. To replace the bulb, first remove the light cover (if so equipped). This can be accomplished by squeezing it together on both sides until it comes free. Replace the light bulb, then squeeze both sides of the light cover together and replace in its original position.
CONTROL BASICS
CONTROL DISPLAY
Your new Traulsen Refrigerator, Freezer or Hot Food cabinet is equipped with a state-of-the-art electronic control, which precisely regulates operation and provides alarms when problems occur. It is supplied from the factory completely ready for use and requires no adjustment (except Hot Food units which are set in the “OFF” position).
On the Left Side of the display there are four icons that reflect the status of the compressor, fans, defrost and alarms. At the center of the display is a Text Display that shows the Cabinet Temperature. It will also be used to access the Control Settings. Below the display are four tactile buttons used to access the control menu system.
Status Symbols
| STATUS SYMBOL | DESCRIPTION |
![]() | Compressor Status / Heater Status |
![]() | Fan Status |
| Defrost Status | |
![]() | Alarm/Door Open |
Push Button Symbols
| BUTTON SYMBOL | DESCRIPTION |
![]() | Escape / Back / Cancel Key |
![]() | Minus (-) / Previous Key |
| Plus (+) / Next Key | |
| Enter / Modify Key |
IMPORTANT NOTE: While accessing the Controller Menu, two line, small font text messages will be displayed. Inthis document two line messages are denoted as follows,
“TopLine, BottomLine”.For example, the text displayed in image below is denoted as follows, “Submenu 1/5, Sensor Readings
CHANGE THE SETPOINT
The setpoint of the unit can be changed by following the steps below
- While the cabinet temperature is displayed (home screen), press the Enter / Modify Key(↵). “SubMenu 1/5, Sensor Readings” will display.
- Push the Plus(+) or Minus(-) Key to navigate the submenu system until, “SubMenu 2/5, Settings” displays.
- Push the Enter/Modify Key(↵), “Enter Password, 0” will display.
- Push Enter/Modify Key(↵) two times, to view the setpoint. If the unit has a setpoint of 36,”TempCabSP, 36” will display.
- Push the Enter/Modify Key(↵), the control will now enter edit mode.
- Push the Plus(+) or Minus(-) Key to change the setpoint to the desired number.
- Push Enter/Modify Key(↵) once to register the new value.
- Push Enter/Modify Key(↵) again to confirm the change. The new setpoint will now display.
- Push the Escape/Back/Cancel Key(x) twice to exit the submenu system. The cabinet temperature will display
INITIATE A DEFROST
All Traulsen units are setup to defrost automatically. If necessary, the user may manually initiate a defrost:
- While the cabinet temperature is displayed (home screen), press the Enter/Modify Key(↵). “SubMenu 1/5, Sensor Readings” will display.
- Push the Plus(+) or Minus(-) Key to navigate the submenu system until, “SubMenu 3/5, Start Defrost” displays.
- Push the Enter/Modify Key(↵) twice to start defrosting. Display will return to the home screen, and the defrost icon will light up. The unit will terminate defrost automatically without user intervention.
CHANGE TIME BETWEEN DEFROST CYCLES
- While the cabinet temperature is displayed (home screen), press the Enter/Modify Key(↵). “SubMenu 1/5, Sensor Readings” will display.
- Push the Plus(+) or Minus(-) Key to navigate the submenu system until, “SubMenu 2/5, Settings” displays.
- Push the Enter/Modify Key(↵), “Enter Password, 0” will display.
- Push the Plus(+) or Minus(-) Key to set the number to 5, then push the Enter/Modify Key(↵).
- Push Plus(+) or Minus(-) Key to set the second number to 5, then push the Enter/Modify Key(↵).
- Push the Plus(+) or Minus(-) Key to set the third number to 5, then push the Enter/Modify Key(↵) (The password is 555).
- Push the Enter/Modify Key(↵) again, to enter the Settings Menu. “TempCabSP” will display.
- Push the Plus(+) or Minus(-) Key to navigate the Settings submenu system until, “DefrostInterval, 08:00:00” displays.
- Push the Enter/Modify Key(↵), the control will now enter edit mode. The “hh” (hour) digits will start blinking.
- Push the Plus(+) or Minus(-) Key to adjust the “hh” digit and push the Enter/Modify Key(↵) once to register the new value.
- The “mm” (minutes) digits will now start blinking. Push the Plus(+) or Minus(-) Key to adjust the “mm” digit and push the Enter/Modify Key(↵) once to register the new value.
- The “ss” (seconds) digits will now start blinking. Push the Plus(+) or Minus(-) Key to adjust the “ss” digit and push the Enter/Modify Key(↵) once to register the new value.
- Push the Enter/Modify Key(↵) again to confirm the change. The new setting will now dislpay.
- Push the Escape/Back/Cancel Key(x) twice to exit the submenu system.
ACCESS POWER FAILURE DATA
- While the cabinet temperature is displayed (home screen), press the Enter/Modify Key(↵). “SubMenu 1/5, Sensor Readings” will display.
- Push the Plus(+) or Minus(-) Key to navigate the submenu system until, “SubMenu 4/5, Alarms” displays.
- Push the Enter/Modify Key(↵) to navigate the alarm menu board.
- Push the Plus(+) or Minus(-) Key to navigate to parameter “Timeofpowerdown”. Here the user will see the time duration the unit was powered down.
- Push the Plus(+) or Minus(-) Key to navigate to parameter TempCabAtPowerUp”. Here the user will view the temperature recorded at the moment power was resgtored to the unit. This will be the warmest temperature during a power loss event.
- To clear the alarm, push the Enter/Modify Key(↵) again and use the Plus(+) or Minus(-) Key to navigate to parameter “PowerFailAlarm”. The parameter will display “Alarm”. Push Enter/Modify Key(↵) twice to clear the alarm so the parameter displays “Normal”.
- Push the Escape/Back/Cancel Key(x) twice to exit the submenu system.
NOTE: You can use the Plus(+) or Minus(-) Key in a similar fashion to review the status of other alarms while on step 5. For a list of alarms and other paramenters please see section “Vi. h”.
TURN UNIT OFF/ON (Hot Food Cabinets Only)
To turn OFF the Hot Food unit, press the Escape/Back/Cancel Key(x) until nothing is displayed on the screen. Push any key to turn the unit back ON.
CHANGE FAHRENHEIT (°F) TO CELSIUS (°C)
- While the cabinet temperature is displayed (home screen), press the Enter/Modify Key(↵). “SubMenu 1/5, Sensor Readings” will display.
- Push the Plus(+) or Minus(-) Key to navigate the submenu system until, “SubMenu 2/5, Settings” displays.
- Push the Enter/Modify Key(↵), “Enter Password, 0” will display.
- Push the Plus(+) or Minus(-) Key to set the number to 5, then push the Enter/Modify Key(↵).
- Push Plus(+) or Minus(-) Key to set the second number to 5, then push the Enter/Modify Key(↵).
- Push the Plus(+) or Minus(-) Key to set the third number to 5, then push the Enter/Modify Key(↵). (The password is 555).
- Push the Enter/Modify Key(↵) again, to enter the Settings Menu. “TempCabSP” will display.
- Push the Plus(+) or Minus(-) Key to navigate the Settings submenu system until, “TempUnits” displays.
- Push the Enter/Modify Key(↵), the control will now enter edit mode and “+/-, ToSelect” will display.
- Push the Plus(+) or Minus(-) Key to select “DegF” for Fahrenheit or “DegC” for Celsius and push the Enter/Modify Key(↵) once to register the new value.
- Push the Enter/Modify Key(↵) again to confirm the change.
- Push the Escape/Back/Cancel Key(x) twice to exit the submenu system.
PARAMETER QUICK REFERENCE CHART
| PARAMETER | SUBMENU | PASSWORD | DATA | |
| COMMONLY REFERENCED | TempCab | Sensor Readings | N/A | Cabinet Temperature |
| TempEvap | Sensor Readings | N/A | Evaporator Coil Temperature | |
| TempLiqLine | Sensor Readings | N/A | Liquid Line Temperature | |
| TempCabSp | Settings | 555 | Temperature Setpoint | |
| TempCabSPDiff | Settings | 555 | Cabinet Temperature Differential | |
| CabFanMode | Settings | 555 | Fan Mode | |
| DefrostSP | Settings | 555 | Defrost Setpoint | |
| DefrostMode | Settings | 555 | Defrost Mode | |
| DefrostInterval | Settings | 555 | Interval between Defrosts | |
| SerialNumber | Settings | 555 | EOL: Serial Number | |
| ALARMS | TempCabAtPowerUp | Alarms | N/A | Temperature recorded at the moment power returned |
| TimeOfPowerDown | Alarms | N/A | Time recorded at the moment of power failure | |
| TimeOfPowerUp | Alarms | N/A | Time recorded at the moment power returned | |
| PFDuration | Alarms | N/A | Duration of power failure | |
| PowerFailAlarm | Alarms | N/A | Power failure alarm status: – “Alarm” indicates power failure – “Normal” indicates alarm has been cleared by user | |
| TempCabAlarm | Alarms | N/A | Cabinet Temperature Alarm Status | |
| TempEvapAlarm | Alarms | N/A | Evaporator Temperaure Alarm Status | |
| TempLiqLineAlarm | Alarms | N/A | Liquid Line Temperature Alarm Status | |
| LiqLineSDAlarm | Alarms | N/A | Liquid Line Shutdown Status | |
| EvapSDAlarm | Alarms | N/A | Evaporator Shutdown Status |
TROUBLESHOOTING GUIDE
| FIND YOUR PROBLEM HERE | REMEDY |
| 1. Condensing unit fails to start. | a. Check if cord & plug has been disconnected. b. Check control temperature setting. |
|
2. Condensing unit operates for prolonged periods or continuously. | a. Are doors closing properly? b. Dirty condenser or filter. Clean properly. c. Evaporator coil iced. Needs to defrost. See instructions for setting a manual defrost cycle on section VI.c. |
|
3. Food compartment is too warm. | a. Check door(s) and gasket(s) for proper seal b. Perhaps a large quantity of warm food has recently been added or the door was kept open for a long period of time, in both cases, allow adequate time for the cabinet to recover its normal operating temperature. c. Control setting too high, readjust per instructions on section VI.b. d. Check that condensing coil is clean. e. Ensure the product is properly loaded and is not blocking the air flow. |
|
4. Food compartment is too cold. | a. Perhaps a large quantity of very cold or frozen food has recently been added. Allow adequate time for the cabinet to recover its normal operating temperature. b. Adjust the control to a warmer setting, see section VI.b. |
|
5. Condensation on the exterior surface. | a. Check door alignment and gaskets for proper seal. b. Condensation on the exterior surface of the unit is perfectly normal during periods of high humidity. |
| 6. Compressor hums but does not start. | a. Call for service. |
| 7. Door open icon continually illuminated. | a. Door open, close door. b. Faulty door switch, replace door switch. |
| 8. Door open icon does not illuminate. | a. Faulty door switch, replace door switch |
| 9. Evaporator fans not operating | a. Defrost cycle in progress (freezers only). b. Other, contact service. |
| 10. No power to unit | a.Check if cord & plug has been disconnected. b.Check power supply breaker. |
STAINLESS STEEL OVERVIEW
INTRODUCTION
All Traulsen R & A Series Refrigerator, Freezer, Dual-Temp and Heated Cabinet models are constructed with a high quality 430 series, 20 gauge stainless steel exterior finish (front, sides and doors). The interior finish on these same R-Series models are constructed using 300 series stainless steel (anodized aluminum is used for A-Series). The stainless steel finish on Traulsen R & A Series should retain its appearance throughout the products usable lifetime. However, some care is required to maintain this appearance. The following paragraphs will provide a guideline on proper care of the exterior/interior finish, as well as some suggestions on how to repair a finish which has been marred due to adverse environmental conditions or improper jobsite care.
STAINLESS STEEL, HOW IT WORKS
The process by which stainless steel retains its appearance is a result of its type of metal alloy. Steel is a composite of metals combined in a specific industrial process. Stainless steel contains a high percentage of chromium, the addition of which provides both its appearance, and a microscopic surface layer protecting the steel underneath from corrosion. This external layer acts as a barrier, preventing typical oxidation of the steel. Remove this barrier, and the environment will eventually corrode the metal, marring its appearance.
CAUSES OF CORROSION
Corrosion to stainless steel can only be caused in one of four specific ways:
ABRASION
Abrasion can be caused during routine cleaning of the metal, either by use of an abrasive cleanser, or use of an abrasive device, such as a metal scouring pad. Abrasion can also be caused by contact with other hard surfaces, such as nearby equipment, walls or tools. Special care should be taken to position your unit properly to prevent accidental dents and scratches.
WATER
Water everywhere contains various deposits, or solids, which as the water dries or evaporates, can leave spots behind. The spots may eventually cause corrosion if not removed.
CHEMICALS OR WATER CONTAINING CHLORIDES
Chlorides, such as found in water or many cleaning materials are especially corrosive to stainless steel.Daily janitorial duties, such a floor mopping, can splash water containing chlorinated cleansers against the front and sides of a Traulsen refrigeration product, resulting in corrosion. Avoid use of these on or around a Traulsen refrigeration product if at all possible.
PROLONGED CONTACT WITH FOOD PRODUCT
Many food products, such as milk and carbonated sodas, contain acids which may damage the protective layer of stainless steel. All food and beverage spills should be cleaned up promptly to avoid possible stains and corrosion.
USING THE PROPER TOOLS
Use of proper cleaning materials will do much to prolong the appearance of your Traulsen refrigeration product. We particularly encourage the use of either plastic scouring pads or soft cloths for cleaning stainless steel. Soft nylon scouring pads can also be used, however care has to be used to insure that all scrubbing is done in the direction of the metals “GRAIN”. Because metals are chrystalline in nature, when they are in a solid state the individual ions line up to form visible grain lines. Use of a soft nylon scouring pad in a direction opposite of the grain will mar its luster. Always do so “PARALLEL” to the grain. There are several types of tools which should NEVER BE USED when cleaning stainless steel, these include
- WIRE BRUSHES
- METAL SCOURING PADS
- SANDPAPER
- SCRAPERS & PUTTY
Use of any of these tools will result in scratches or removal of the stainless steel’s protective layer, which will eventually lead to corrosion and rust.
USING THE RIGHT CLEANSER
Avoid all cleaning products containing chloride ingredients. Use of a cleanser specifically designed for stainless steel is highly recommended. You may find yourself in a situation where you are uncertain if a particular cleaning product contains any chlorides. If unsure, its probably best to just assume that it does and avoid its use in cleaning a Traulsen refrigeration product. Also to be avoided are cleaning products which contain “QUATERNARY SALTS”. These salts can literally attack the stainless steel’s protective layer, leading to corrosion and pitting of the steels surface. After cleaning, it is important to always rinse the cleaned area thoroughly with cool, clean water (do not use hot water) and wipe completely dry using a paper towel or soft absorbent cloth.
USING THE RIGHT CLEANSER
Use of cleaning products designed for use on stainless steel, in conjunction with the proper tools, as outlined above will help retain the appearance of your Traulsen refrigeration product for years and years.
CLEANING SUMMARY – DO’S & DONT’S
To summarize the proper cleaning of Traulsen refrigeration products, always follow the below guidelines
- use only cleaning products designed for stainless steel, or cleaning products which do not contain chlorides
- use only non-abrasive cleaning materials, such as soft cloths or plastic scouring pads.
- clean-up food and beverage spills ASAP.
- scrub only in the direction of the grain when using soft nylon scouring pads.
- use chlorinated cleansers or cleansers containing quaternary salts.
- use abrasive cleaning materials or tools which can scratch the stainless steel’s surface.
ACCIDENTAL CHLORIDE CONTACT
In the daily routine of a busy foodservice operation, your Traulsen refrigeration product may occasionally come in contact with chlorinated cleaners, such as when being splashed during mopping. Stain and corrosion problems resulting from this can be avoided by prompt action to remove this cleanser. Rinse the affected area(s) thoroughly with cool, clean water (do not use hot water) and wipe completely dry using a paper towel or soft absorbent cloth.
PROTECTING STAINLESS STEEL SURFACE
Occasional use of a commercial stainless steel polish, such as “Sheila Shine,” will help protect the surface of stainless steel. Follow the directions on the spray can for proper use.
RUST AFTER THE FACT
Although Traulsen strongly recommends proper care and cleaning of stainless steel finishes in order to avoid rust and corrosion before it occurs, we recognize that it may occur occasionally as a result of the causes described in section “VIII. c.”. To remove small quantities of rust from the surface of stainless steel, it is far preferable to deal with this when it first becomes visible. When rust occurs, do not allow it to remain for any period of time, and remove it using the following method
- Use a lightly abrasive compound (free of harmful chlorides), such as “Bon Ami,” on a soft cloth, to remove the rust. Care must be taken to rub this on the area of rust only in the direction of the stainless steel’s grain.
- Once the rust is removed, clean the affected area thoroughly with a stainless steel cleaner (see section VIII. e).
- Apply a preservative polish, such as “Sheila Shine,” to the affected area (see section VIII. h).
EXTREME RUST SITUATIONS
In the event that rust and corrosion were not dealt with promptly, more acute situations can be remedied as follows
NOTE: PROCEDURE REQUIRES USE OF AN ACID BASED SOLUTION – USE OF PROTECTIVE GLOVES AND EYEWEAR ARE REQUIRED BEFORE PROCEEDING
- In a clean spray bottle combine water with “Zep FS Lime Remover” to make a 5 parts to 1 solution.
- Apply this solution to the affected area with either a clean cloth or sponge.
- After application, wipe the same area thoroughly clean with water only to remove any residue.
- Once cleaned, apply a light coat of “Zep Restore” to the surface area. This will serve to preserve the metal and help prevent future rust from occuring
- Restore the remaining stainless steel surfaces to their original shine using “Zep Stainless Steel Polish.” Repeat steps one through five if necessary for stubborn rust and corrosion areas
RESTORING THE PROTECTIVE LAYER
There are several products available on the market today which can actually help restore the “PASSIVATION” of stainless steel. “PASSIVATION” refers to the protective qualities of the non-reactive surface layer of stainless steel which prevents oxidation. Contact your cleaning supplier for product recommendations and more information
SERVICE AND WARRANTY
SERVICE INFORMATION
Before calling for service, please check the following
- Is the electrical cord plugged in?
- Is the fuse OK or circuit breaker on?
- Clean condenser coil
- Is the power switch “ON”?
If after checking the above items and the unit is still not operating properly, please contact an authorized Traulsen representative at: 4401 Blue Mound Road Fort Worth, TX 76106 (800) 825-8220.
Traulsen reserves the right to change specifications or discontinue models without notice
SERVICE SUPPORT INFORMATION
To purchase replacement parts or to speak to service support for Traulsen units please contact our Ft. Worth facility by phone at 800-825-8220 or fax to 817-740-6748 (parts) or 817-740-6757 (service).
Note: When calling for spare parts or service support, please make sure you have model and serial number of unit available.
WARRANTY REGISTRATION
The warranties for your new Traulsen unit may be registered with us by by completing warranty information online, via our website www.Traulsen.com. Click on the Service tab on the home page. You may also register your product by calling us directly at 800-825-8220.
WARRANTY STATEMENT
TRAULSEN EQUIPMENT WARRANTY
For sales of Traulsen refrigeration equipment (“Equipment”) within the United States, Traulsen warrants to the original purchaser of the Equipment (“Purchaser”) that Traulsen will convey the Equipment free and clear of all liens, security interests, and encumbrances created by, through or under Traulsen. Traulsen further warrants that for a period of three (3) years from the later of either (a) the date of delivery to the common carrier or (b) the date of installation (the “Domestic Warranty Period”) but in no event, shall the Domestic Warranty Period commence later than 3 months from the date of delivery to the common carrier unless otherwise agreed upon by the parties in writing, under normal use and given proper installation and maintenance as determined by Traulsen, the Equipment: (a) will conform to the specifications as provided by Traulsen (“Specifications”) and (b) will be free from substantial defects in material and workmanship. The warranty period for compressors shall extend for an additional two (2) years beyond the Domestic Warranty Period. In the case of a nonconforming compressor, Traulsen shall provide a replacement compressor; however, all installation, recharging, and repair costs shall be the responsibility of Purchaser. In the case of a nonconforming part, Purchaser must return the part to Traulsen within 30 days from the date of repair. Failure to return a claimed defective part to Traulsen within the 30 days will waive the right to the warranty claim. Additionally, Traulsen provides a lifetime warranty on the housing of cam-lift hinges and the workflow handles. In the case of a non-conforming housing for cam-lift hinge or workflow handle, Traulsen shall provide a replacement part; however, Purchaser shall be responsible for any other replacement costs, including but not limited to installation and labor.
The Domestic Warranty does not apply to: (a) consumable components or ordinary wear items; (b) components that are removable without the use of tools including but not limited to gaskets, shelf pins, and light bulbs; (c) use of the Equipment components or parts not supplied by Traulsen or specified by Traulsen in the Operator’s Manual as set forth on Traulsen’s website; or (d) damage resulting from fire, water, burglary, accident, abuse, misuse, transit, acts of God, terrorism, power surges, improper installation, or repairs or installation by unauthorized third parties. Additionally, the Equipment is intended only for commercial use and should not be used by consumers or households or in any non-commercial application.
This Domestic Warranty does not apply to, and shall not cover, any Equipment that is installed or used in any way in any residential or non-commercial application. No warranties, express or implied, are provided to any residential, consumer or non-commercial purchaser or owner of the Equipment.For Traulsen units purchased for use with a condenser provided by a third-party, this standard warranty will apply only to those components contained within the unit to the point of connection of the refrigeration lines leading to the third-party condenser. In the event of a breach of the warranties set forth above (the “Domestic Warranty”), Traulsen will, at Traulsen’s option and as Purchaser’s sole remedy, repair or replace, including labor costs, any nonconforming Equipment, provided that (a) during the Warranty Period Traulsen is promptly notified in writing upon discovery of the nonconformance with a detailed explanation of any alleged deficiencies; (b) Traulsen is given a reasonable opportunity to investigate all claims; and (c) Traulsen’s examination of any alleged defective part confirms such alleged deficiencies and that the deficiencies were not caused by misuse, neglect, improper installation, unauthorized alteration or repair or improper testing.
Traulsen reserves the right to, at its request, require Purchaser shall ship the alleged defective part to Traulsen for inspection and confirmation of defect. No Equipment may be returned without Traulsen’s approval. Purchaser is solely responsible for determining if Equipment is fit for a particular purpose and suitable for Purchaser’s application. Accordingly, and due to the nature and manner of Traulsen’s Equipment, Traulsen is not responsible for the results or consequences of use, misuse, or application of its Equipment.
THIS DOMESTIC WARRANTY SETS FORTH THE EXTENT OF TRAULSEN’S LIABILITY FOR SALES WITHIN THE UNITED STATES. EXCEPT AS SET FORTH ABOVE, TRAULSEN MAKES NO WARRANTY OR REPRESENTATION OF ANY KIND, EXPRESS OR IMPLIED (INCLUDING NO WARRANTY OF MERCHANTABILITY OR FITNESS FOR ANY PARTICULAR PURPOSE). IN NO EVENT WILL TRAULSEN’S LIABILITY IN CONNECTION WITH THE AGREEMENT OR SALE OF THE EQUIPMENT EXCEED THE PURCHASE PRICE OF THE EQUIPMENT AS TO WHICH THE CLAIM IS MADE. IN NO EVENT SHALL TRAULSEN BE LIABLE FOR ANY LOSS OF USE, LOSS OF PRODUCT, LOSS OF PROFIT, OR ANY OTHER INDIRECT, INCIDENTAL, SPECIAL, OR CONSEQUENTIAL DAMAGES RESULTING FROM THIS WARRANTY EVEN IF TRAULSEN HAS BEEN NOTIFIED OF THE POSSIBILITY OF SUCH DAMAGES. 4401 Blue Mound Road Fort Worth, Texas 76106 (USA) Phone: 800.825.8220 | Service Fax: 817.740.6757 | E-mail: [email protected]
Website: traulsen.com Form Number: TR35743 | Part Number: 375-60176-00 | Revision Date: 11-16-20 Hours of Operation: Monday – Friday 7:30 a.m. – 4:30 p.m. (CST)



























