Home Inc X-L1-BHZ Declan 64.17 in. W Gray Square Arm Fabric
Lawson Rectangle High-density Foam Sofa
Installation Guide
X-L1-BHZ Declan 64.17 in. W Gray Square Arm Fabric Lawson Rectangle High-density Foam Sofa
LOVESEAT
Model:…………….
Lot No:……………….
Date of Purchase:……………..
ADULT ASSEMBLY REQUIRED
If you are missing any parts or have any questions regarding assembly, do not return this item to the retailers store. Please call our toll-free, customer service number and have this assembly manual open to the parts list ready to provide the model name, number and part name or number.
Customer Service
1-877-864-5752
8:30 AM PST – 4:00 PM PST (Monday-Friday)
Website: www.dwellhom.com
Missing Parts: [email protected]
Warranty Information: www.dwellhom.com/warranty
WARNING:
This product may contain small components, please ensure they are kept away from small children.
PARTS AND HARDWARE
Avoid using sharp objects such as a knife to cut open packing as you may accidentally damage the upholstery.

ASSEMBLY INSTRUCTIONS
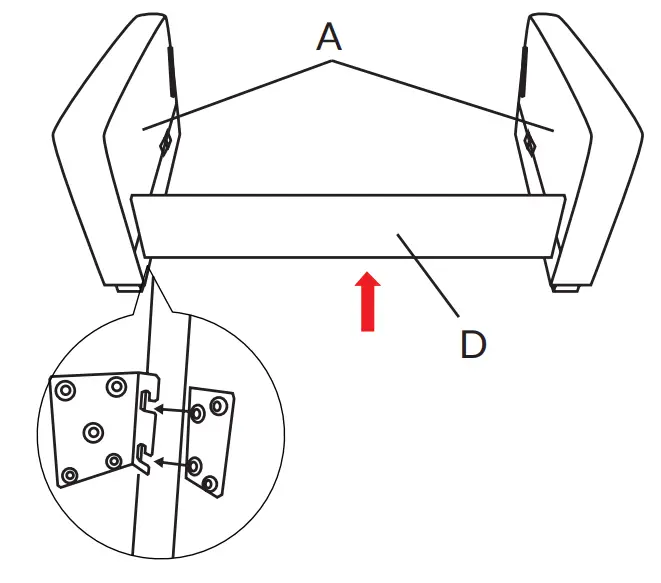
- Attach Front Rail (D) to Arms (A) by slipping the bracket opening over the fixed post. Press down to click into place.

- Attach the Seat Deck (F) to the Arms (A) by placing the two metal brackets on the Seat Deck (F) over the metal brackets on each Arm (A). The Seat Deck (F) will lock into place.

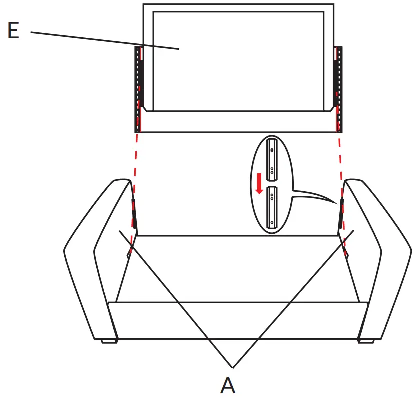
- Attach Backrest (E) to Arms (A) by sliding the brackets on the Backrest (E) into the glides on the Arms (A).

- Place Seat Cushions (C) and Back Cushions (B) to Assembled Loveseat. Enjoy your new Loveseat.























