HuTools HT01 Installation Instruction Manual
PLEASE KEEP THIS GUIDE
This guide contains important information about your lock.
Installation Guide

Parts List
Latch

Drive-In Collar

Strike

Exterior Assembly

Mounting Plate

Interior Assembly

Battery Cover

Latch and Strike Screws,
Interior Assembly Screws

Mounting Plate Screws

Backup Key

1. Prepare the door and check dimensions
A. Measure to confirm that the hole in the door is 2-1/8″ (54 mm)
B. Measure to confirm that the backset is either 2-3/8″ or 2-3/4″ (60 or 70 mm)
C. Measure to confirm that the the hole in the door edge is 1″ (25 mm)
D. Measure to confirm that the door is 1-3/8″ to 2″ (35 mm or 50 mm)thick
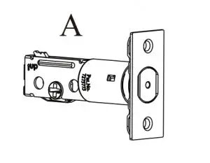
2. Install the latch and strike
A. Hold the latch in front of the door hole, with the latch face flush against the door edge

Is the slotted hole centered in the door hole?
YES
No adjustment is required. Proceed to next step
NO
Rotate and pull the latch as shown to extend latch.

B. Is the door edge chiseled?
YES
Install latch in door with supplied screws.
NO
Use a flathead screwdriver to remove Rectangular face from latch and install drive-in collar.




Install latch in door with wood block and hammer.
C. Use a screwdirver to test if deadbolt works smoothy.

D. Install strike on the door frame
IMPORTANT: Make sure hole in door frame is drilled a minimum of 1″ (25 mm) deep.

3. Install exterior assembly
A. IMPORTANT: Before installation, make sure the latch is fully retracted (in the unlocked position) .

B. Route the cable below the latch
C. Send the cable through the bottom horizontal slot in the mounting plate.
D. Secure the mounting plate with the supplied screws.
4. Install interior assembly
IMPORTANT: Do not load batteries until lock is completely installed.
A. Remove the battery cover. Locate the slot at the bottom and use your fingernail or a flat head screwdriver to pry the cover up and pull it off.
B. Connect the cable and ensure tight cable connection.
C. Rotate the turnpiece in vertical position and the torque blade in horizontal position, make sure the latch is still fully retracted (in the unlocked position).
D. Test operation using backup key and thumbpiece for smooth rotation.If turnpiece doesn’t rotate, repeat step 4C, making sure the turnpiece in vertical position, and touque blade in horizontal position.
E. Secure the interior assembly with the supplied screws.
5. Detect left/ right hand door installation
Reset the lock to teach the lock the orientation of the door.
IMPORTANT: This step is required and crucial for the lock to operate properly.
A. While the door is OPEN and UNLOCK, load 3 AA batteries into the interior assembly. For best results, use new, non-rechargeable Alkaline batteries only.
Press and hold the Reset button on the interior assembly using a pen or a paper clip.
B. Press and hold the Reset button on the interior assembly using a pen or a paper clip.
C. Load the last battery and keep holding the reset button for 3 seconds, until you hear the sound of “beep”. The latch bolt will extend to learn the orientation of the door.
How To Use
UNLOCK the door from outside
UNLOCK the door from inside
Rotate the thumb turn to Unlock position.
UNLOCK the door from outside LOCK the door from outside
Manual Mode
Press any key on keypad for 2 seconds.
Auto Re-lock Mode
In Auto re-lock mode, the bolt will extend out automatically in 30 seconds after unlocking.
LOCK the door from inside
Manual Mode
Rotate the thumb turn to Lock position
Auto Re-lock Mode
In Auto re-lock mode, the device will be locked automatically.
Programming Instructions
Information & Safety Warnings
- Protect your User Codes and Master Code.
- Restrict access to your lock’s interior assembly and routinely check your settings to ensure they have not been altered without your knowledge.
- This lockset is designed to provide the highest standard of product quality and performance. Care should be taken to ensure a long-lasting finish. When cleaning is required use a soft, damp cloth. Using lacquer thinner, caustic soaps, abrasive cleaners or polishes could damage the coating and result in tarnishing.
IMPORTANT: Do not load batteries until lock is completely installed.
- Master Code( 4 to 10 digits) : The default Master Code is 12345678. It is required that you change it to a code of your own before programming.
- User Code(4 to 10 digits) : A total of 20 User Codes (and one temporary one-time User Code) may be programmed.
- Both master and user pin codes don not support the following combination of numbers.
A.
Forward number sequence
B. 
Backward number sequence
C. 
Backward number sequence
D. If ![]()
![]()
Then ![]()
Contain existing code sequence
and ![]()
![]()
Parts Illustrations
Item: Specifications: Remarks
Battery (Use new, non-rechargeable Alkaline batteries only.): AA alkaline battery x4 (Operation voltage: 4.6~6.0V): Last up to one year (10 times open/close per day)
Exterior Assembly

Interior Assembly

The default Master Code is 12345678. It is required that you change it to a code of your own before programming.
Definitions
Master Code
Required for programming and feature settings. Master code can be used to unlock the door under vacation mode. The default master code needs to be changed before programming.
Property owner/ manager should keep this information confidential.
Auto Lock
Automatically locks the deadbolt 30 seconds after unlocking. This feature is off by default. You can set the Auto Lock time delay between 10 and 99 seconds.
Wrong Entry Limit
After 10 unsuccessful attempts at entering a valid PIN code, the unit will shut down for 3 minuets.
Silent Mode
The beep sounds when pressing keypad can be muted. But you will still hear low battery and system alerts.
Vacation Mode
This is a security feature for you when you are leaving your home for vacation or long trip. Enabling vacation mode will restrict all user codes until master code is entered on keypad. If the lock is unlocked by thumb turn, the lock will sound an alarm.
One Time User Code
This code can only be used once and is automatically deleted when used.
Unlock with Fake code
User can prevent pin code exposure from strangers by entering random digits before or after pin code.
Quick Set Up
IMPORTANT: The default Master Code is 12345678. It is recommended that you change it to a code of your own.








Factory Default Settings
Settings: Factory Defaut
MasterCode: 12345678
Auto Lock: Disabled
Silent Mode: Disable
Wrong Code Entry Limit: 10 times
Shutdown Time: 3 mins
Vacation Mode: Disabled
Restore To Factory Default Settings
This procedure will delete all User Codes associated with the lock.
- Keep the door open and unlock.
- Press and hold the Reset button, at the same time take out one battery and then place it back.
- Keep holding the Reset button for 3 seconds, until you hear the sound of beep.
Troubleshooting
The turnpiece cannot rotate or operate the lock.
Remove and re-install the lock, making sure that the turnpiece is in vertical position.
The lock cannot be locked or unlocked by the keypad.
Make sure that the codes are not disabled. If needed, restore the lock’s default settings.
The keypad doesn’t respond when touched ( no lights are visible and no beeping is heard) .
Make sure the cables are properly connected, and make sure the batteries are new and installed correctly.
After the installation of the batteries, there is no response when you press any button and no beeps are heard.
Check the cable connection and the polarity of the batteries. Also make sure the batteries are not dead.
I forgot my Master Codes.
Perform a reset in order to erase all passcodes. Once the reset is complete, all passcodes will be erased and the Master code will return to the default value (12345678).
* If none of the above resolves your issue, check out our updated user manual by scanning the code below. You could also contact Hutools customer service at [email protected].
HuTools HT01 Installation Instruction Manual – Optimized PDF
HuTools HT01 Installation Instruction Manual – Original PDF




















